特開2018-72912(P2018-72912A)IP Force 特許公報掲載プロジェクト 2022.1.31 β版

知財求人 - 知財ポータルサイト「IP Force」

2018-72912情報処理プログラム、情報処理装置、情報処理システムおよび情報処理方法
<>
  • 2018072912-情報処理プログラム、情報処理装置、情報処理システムおよび情報処理方法 図000003
  • 2018072912-情報処理プログラム、情報処理装置、情報処理システムおよび情報処理方法 図000004
  • 2018072912-情報処理プログラム、情報処理装置、情報処理システムおよび情報処理方法 図000005
  • 2018072912-情報処理プログラム、情報処理装置、情報処理システムおよび情報処理方法 図000006
  • 2018072912-情報処理プログラム、情報処理装置、情報処理システムおよび情報処理方法 図000007
  • 2018072912-情報処理プログラム、情報処理装置、情報処理システムおよび情報処理方法 図000008
  • 2018072912-情報処理プログラム、情報処理装置、情報処理システムおよび情報処理方法 図000009
  • 2018072912-情報処理プログラム、情報処理装置、情報処理システムおよび情報処理方法 図000010
  • 2018072912-情報処理プログラム、情報処理装置、情報処理システムおよび情報処理方法 図000011
  • 2018072912-情報処理プログラム、情報処理装置、情報処理システムおよび情報処理方法 図000012
  • 2018072912-情報処理プログラム、情報処理装置、情報処理システムおよび情報処理方法 図000013
  • 2018072912-情報処理プログラム、情報処理装置、情報処理システムおよび情報処理方法 図000014
  • 2018072912-情報処理プログラム、情報処理装置、情報処理システムおよび情報処理方法 図000015
  • 2018072912-情報処理プログラム、情報処理装置、情報処理システムおよび情報処理方法 図000016
  • 2018072912-情報処理プログラム、情報処理装置、情報処理システムおよび情報処理方法 図000017
  • 2018072912-情報処理プログラム、情報処理装置、情報処理システムおよび情報処理方法 図000018
  • 2018072912-情報処理プログラム、情報処理装置、情報処理システムおよび情報処理方法 図000019
  • 2018072912-情報処理プログラム、情報処理装置、情報処理システムおよび情報処理方法 図000020
< >
(19)【発行国】日本国特許庁(JP)
(12)【公報種別】公開特許公報(A)
(11)【公開番号】特開2018-72912(P2018-72912A)
(43)【公開日】2018年5月10日
(54)【発明の名称】情報処理プログラム、情報処理装置、情報処理システムおよび情報処理方法
(51)【国際特許分類】
   G06T 19/20 20110101AFI20180406BHJP
   A63F 13/52 20140101ALI20180406BHJP
   A63F 13/53 20140101ALI20180406BHJP
   A63F 13/211 20140101ALI20180406BHJP
   A63F 13/213 20140101ALI20180406BHJP
   A63F 13/80 20140101ALI20180406BHJP
【FI】
   G06T19/20
   A63F13/52
   A63F13/53
   A63F13/211
   A63F13/213
   A63F13/80 B
【審査請求】未請求
【請求項の数】23
【出願形態】OL
【全頁数】27
(21)【出願番号】特願2016-208450(P2016-208450)
(22)【出願日】2016年10月25日
(71)【出願人】
【識別番号】000233778
【氏名又は名称】任天堂株式会社
(71)【出願人】
【識別番号】398059541
【氏名又は名称】株式会社ゲームフリーク
(74)【代理人】
【識別番号】100090181
【弁理士】
【氏名又は名称】山田 義人
(74)【代理人】
【識別番号】100130269
【弁理士】
【氏名又は名称】石原 盛規
(72)【発明者】
【氏名】川田 幸治
【テーマコード(参考)】
5B050
【Fターム(参考)】
5B050BA09
5B050CA07
5B050DA10
5B050EA07
5B050EA09
5B050EA18
5B050EA19
5B050EA27
5B050FA02
5B050FA05
(57)【要約】      (修正有)
【課題】装置の姿勢に応じてきらきら光るようにカードオブジェクトの画像を表示して、その画像に含まれるキャラクタを豪華に見せることができる情報処理プログラム、情報処理装置、情報処理システム及び情報処理方法を提供する。
【解決手段】ゲーム装置は表示装置36を含み、表示装置には、カードオブジェクト102についての画像を含むカード表示画面100が表示される。カードオブジェクトの画像は、最前面に配置されるキャラクタ画像と、その背面に配置される、色変化画像背景画像および模様画像を合成した合成画像とによって構成される。色変化画像は、複数のポリゴンで構成され、ゲーム装置の姿勢および複数のポリゴンの各頂点位置に応じて色が周期的に変化するように、各頂点の色が設定される。色変化画像と背景画像とが合成され、周期的に変化する色変化画像の色によって背景画像の明るさが周期的に変化する。
【選択図】図2
【特許請求の範囲】
【請求項1】
表示部に第1の画像を表示する情報処理装置のコンピュータで実行される情報処理プログラムであって、前記コンピュータに、
ユーザが操作する所定の装置の姿勢を算出する姿勢算出ステップと、
所定の表示対象について、前記姿勢と、表示位置または当該表示対象内の位置とに応じて予め定められた遷移で色が変化するよう色を設定する色制御ステップと、
前記所定の表示対象を含む前記第1の画像を生成する画像生成ステップを実行させる、情報処理プログラム。
【請求項2】
前記色制御ステップは、前記コンピュータに、前記姿勢と前記表示位置または前記表示対象内の位置に応じて色が周期的に変化するよう色を設定させる、請求項1記載の情報処理プログラム。
【請求項3】
前記色制御ステップは、前記コンピュータに、前記姿勢と前記表示位置または前記表示対象内の位置を示すパラメータを位相に加える正弦関数または余弦関数に基づいて色を設定させる、請求項2記載の情報処理プログラム。
【請求項4】
前記色制御ステップは、前記コンピュータに、前記正弦関数または前記余弦関数の値が基準値以下の場合には、色を設定させない、請求項3記載の情報処理プログラム。
【請求項5】
前記色制御ステップは、前記コンピュータに、色の成分ごとに予め定められた前記遷移に基づいて色を設定させる、請求項1ないし4のいずれかに記載の情報処理プログラム。
【請求項6】
前記画像生成ステップは、前記コンピュータに、前記所定の表示対象に加え、所定のキャラクタについての第2の画像を含む前記第1の画像を生成させる、請求項1ないし5のいずれかに記載の情報処理プログラム。
【請求項7】
前記画像生成ステップは、前記コンピュータに、前記所定の表示対象に関し、前記色制御ステップにおいて設定された色に、所定の第3の画像が合成されるよう前記第1の画像を生成させる、請求項1ないし6のいずれかに記載の情報処理プログラム。
【請求項8】
前記所定の表示対象は、仮想空間内のポリゴンモデルによって構成され、
前記色制御ステップは、前記コンピュータに、前記所定の表示対象のポリゴンの頂点の色を予め定められた前記遷移に基づいて決定し、それ以外の部分の色を頂点間の補間によって決定させる、請求項1ないし7のいずれかに記載の情報処理プログラム。
【請求項9】
前記姿勢および前記頂点位置と色の対応関係を複数定められており、
前記色制御ステップは、前記コンピュータに、
頂点毎に定められたいずれかの前記対応関係に基づいて、前記姿勢および前記頂点位置に対応する色を決定する、請求項8記載の情報処理プログラム。
【請求項10】
前記対応関係は、前記姿勢および前記頂点位置に基づいて周期的に色が変化するよう設定されており、
複数の前記対応関係のうち、少なくともいずれか2つは色の変化の頻度が異なる、請求項9記載の情報処理プログラム。
【請求項11】
前記所定の装置は、前記情報処理装置である、請求項1ないし10のいずれかに記載の情報処理プログラム。
【請求項12】
表示部に第1の画像を表示する情報処理装置のコンピュータで実行される情報処理プログラムであって、前記コンピュータに、
ユーザと前記表示部の相対位置関係を算出する相対位置算出ステップと、
所定の表示対象について、前記相対位置関係と、表示位置または当該表示対象内の位置とに応じて予め定められた遷移で色が変化するよう色を設定する色制御ステップと、
前記所定の表示対象を含む前記第1の画像を生成する画像生成ステップを実行させる、情報処理プログラム。
【請求項13】
表示部に第1の画像を表示する情報処理装置であって、
ユーザが操作する所定の装置の姿勢を算出する姿勢算出部と、
所定の表示対象について、前記姿勢と、表示位置または当該表示対象内の位置とに応じて予め定められた遷移で色が変化するよう色を設定する色制御部と、
前記所定の表示対象を含む前記第1の画像を生成する画像生成部を備える、情報処理装置。
【請求項14】
前記色制御部は、前記姿勢と前記表示位置または当該表示対象内の位置に応じて色が周期的に変化するよう色を設定する、請求項13記載の情報処理装置。
【請求項15】
前記画像生成ステップは、前記コンピュータに、前記所定の表示対象に加え、所定のキャラクタについての第2の画像を含む前記第1の画像を生成させる、請求項13または14記載の情報処理装置。
【請求項16】
前記所定の表示対象は、仮想空間内のポリゴンモデルによって構成され、
前記色制御部は、前記所定の表示対象のポリゴンの頂点の色を遷移に基づいて決定し、それ以外の部分の色を頂点間の補間によって決定する、請求項13ないし15のいずれかに記載の情報処理装置。
【請求項17】
前記姿勢および前記頂点位置と色の対応関係を複数定められており、
前記色制御部は、頂点毎に定められたいずれかの前記対応関係に基づいて、前記姿勢および前記頂点位置に対応する色を決定する、請求項16記載の情報処理装置。
【請求項18】
前記対応関係は、前記姿勢および前記頂点位置に基づいて周期的に色が変化するよう設定されており、
複数の前記対応関係のうち、少なくともいずれか2つは周期が異なる、請求項16記載の情報処理装置。
【請求項19】
センサをさらに備え、
前記姿勢算出部は、前記センサの出力に基づいて前記所定の装置の姿勢を算出する、請求項13ないし18のいずれかに記載の情報処理装置。
【請求項20】
前記センサは、慣性センサを含む、請求項19記載の情報処理装置。
【請求項21】
前記センサは、イメージセンサを含む、請求項19記載の情報処理装置。
【請求項22】
表示部に第1の画像を表示する情報処理システムであって、
ユーザが操作する所定の装置の姿勢を算出する姿勢算出部と、
所定の表示対象について、前記姿勢と、表示位置または当該表示対象内の位置とに応じて予め定められた遷移で色が変化するよう色を設定する色制御部と、
前記所定の表示対象を含む前記第1の画像を生成する画像生成部を備える、情報処理システム。
【請求項23】
表示部に第1の画像を表示するコンピュータの情報処理方法であって、
前記コンピュータは、
(a)ユーザが操作する所定の装置の姿勢を算出するステップと、
(b)所定の表示対象について、前記姿勢と、表示位置または当該表示対象内の位置とに応じて予め定められた遷移で色が変化するよう色を設定するステップと、
(c)前記所定の表示対象を含む前記第1の画像を生成するステップを含む、情報処理方法。
【発明の詳細な説明】
【技術分野】
【0001】
この発明は情報処理プログラム、情報処理装置、情報処理システムおよび情報処理方法に関し、特にたとえば、ユーザが操作する所定の装置の姿勢に応じた画像を生成する、情報処理プログラム、情報処理装置、情報処理システムおよび情報処理方法に関する。
【背景技術】
【0002】
この種の情報処理装置の一例が特許文献1に開示されている。この特許文献1の画像処理装置では、カメラで撮像した原画像から被写体等の輪郭線を検出し、輪郭線を含む候補区画から対象区画を選出し、そして、対象区画の位置に星オブジェクトを描画(配置)する画像加工処理が施される。このとき、オブジェクトテーブルが参照され、星オブジェクトの形態(大きさ、形状、色、明るさなど)がランダムに決定される。また、画像加工処理では、輪郭線に沿ってシャープネス、ぼかしなどのエフェクトを加えることも可能である。
【先行技術文献】
【特許文献】
【0003】
【特許文献1】特開2011−145795
【発明の概要】
【発明が解決しようとする課題】
【0004】
しかし、特許文献1の画像処理装置では、大きさ、形状、色、明るさなどの形態がオブジェクトテーブルに従ってランダムに決定された星オブジェクトが原画像の対象区画に描画され、たとえば、星オブジェクトを周期的に点滅させたり変色させたりすることが開示されているが、たとえばユーザの操作などに応じて点灯される星オブジェクトが遷移(変化)することについては何ら考慮されていない。
【0005】
それゆえに、この発明の主たる目的は、新規な、情報処理プログラム、情報処理装置、情報処理システムおよび情報処理方法を提供することである。
【0006】
また、この発明の他の目的は、ユーザからの見方に応じて画像を豪華に見せることができる、情報処理プログラム、情報処理装置、情報処理システムおよび情報処理方法を提供することである。
【課題を解決するための手段】
【0007】
第1の発明は、表示部に第1の画像を表示する情報処理装置のコンピュータで実行される情報処理プログラムである。情報処理プログラムは、コンピュータに、姿勢算出ステップと、色制御ステップと、画像生成ステップを実行させる。姿勢算出ステップは、ユーザが操作する所定の装置の姿勢を算出する。色制御ステップは、所定の表示対象について、姿勢と、表示位置または当該表示対象内の位置とに応じて予め定められた遷移で色が変化するよう色を設定する。画像生成ステップは、所定の表示対象を含む第1の画像を生成する。
【0008】
第1の発明によれば、ユーザが操作する所定の装置の姿勢と、表示位置または表示対象内の位置とに応じて予め定められた遷移で色が変化するように、表示対象内の色を設定するので、第1の画像において、少なくとも所定の表示対象の色(明るさ)が変化する。つまり、表示装置とユーザの相対位置関係に応じて、所定の表示対象がきらきら光るように画像が変化する。このように、ユーザからの見方に応じて画像を豪華に見せることができる。
【0009】
第2の発明は、第1の発明に従属し、色制御ステップは、コンピュータに、姿勢と表示位置または表示対象内の位置に応じて色が周期的に変化するよう色を設定させる。
【0010】
第2の発明によれば、色が周期的に変化するように設定されるので、同じ表示位置であっても、明るさを変化させることができる。したがって、所定の表示対象が周期的にきらきら光るように変化される。
【0011】
第3の発明は、第2の発明に従属し、色制御ステップは、コンピュータに、姿勢と表示位置または表示対象内の位置を示すパラメータを位相に加える正弦関数または余弦関数に基づいて色を設定させる。
【0012】
第3の発明によれば、正弦関数または余弦関数を用いているので、表示対象内において周期的に色を変化させることができる。
【0013】
第4の発明は、第3の発明に従属し、色制御ステップは、コンピュータに、正弦関数または余弦関数の値が基準値以下の場合には、色を設定させない。
【0014】
第5の発明は、第1ないし第4の発明のいずれかに従属し、色制御ステップは、コンピュータに、色の成分ごとに予め定められた遷移に基づいて色を設定させる。たとえば、色R、G、Bのそれぞれについて予め定められた遷移で色値が算出される。
【0015】
第6の発明は、第1ないし第5の発明のいずれかに従属し、画像生成ステップは、コンピュータに、所定の表示対象に加え、所定のキャラクタについての第2の画像を含む第1の画像を生成させる。
【0016】
第6の発明によれば、所定の表示対象をきらきら光らせることにより、所定のキャラクタを豪華に見せることができる。
【0017】
第7の発明は、第1ないし第6の発明のいずれかに従属し、画像生成ステップは、コンピュータに、所定の表示対象に関し、色制御ステップにおいて設定された色に、所定の第3の画像が合成されるよう第1の画像を生成させる。
【0018】
第7の発明によれば、所定の第3の画像を合成させるので、たとえば、この第3の画像に模様を付すことにより、所定の表示対象の明るさの変化に応じて第1の画像にその模様を現すことができる。
【0019】
第8の発明は、第1ないし第7の発明のいずれかに従属し、所定の表示対象は、仮想空間内のポリゴンモデルによって構成され、色制御ステップは、コンピュータに、所定の表示対象のポリゴンの頂点の色を予め定められた遷移に基づいて決定し、それ以外の部分の色を頂点間の補間によって決定させる。
【0020】
第8の発明によれば、所定の表示対象をポリゴンモデルによって構成するので、その頂点の色を算出すれば、ポリゴンの頂点以外の部分の色は、たとえば専用の回路で、頂点間の色を用いて補間されるので、色の設定が簡単である。
【0021】
第9の発明は、第8の発明に従属し、姿勢および頂点位置と色の対応関係を複数定められており、色制御ステップは、コンピュータに、頂点毎に定められたいずれかの対応関係に基づいて、姿勢および頂点位置に対応する色を決定する。
【0022】
第9の発明によれば、姿勢および頂点位置と色の対応関係を複数定めるので、対応関係の違いで色の遷移を異ならせることができる。
【0023】
第10の発明は、第9の発明に従属し、対応関係は、姿勢および頂点位置に基づいて周期的に色が変化するよう設定されており、複数の対応関係のうち、少なくともいずれか2つは色の変化の頻度が異なる。したがって、所定の角度だけ位相が変化する間に波が上下する回数が異なる。
【0024】
第10の発明によれば、所定の角度だけ位相が変化する間に波が上下する回数が異なるため、色の遷移を異ならせることができる。
【0025】
第11の発明は、第1ないし第10の発明のいずれかに従属し、所定の装置は、情報処理装置である。
【0026】
第11の発明によれば、情報処理装置の姿勢に応じて、所定の表示対象の色を変化させることができる。
【0027】
第12の発明は、表示部に第1の画像を表示する情報処理装置のコンピュータで実行される情報処理プログラムであって、コンピュータに、相対位置算出ステップと、色制御ステップと、画像生成ステップを実行させる。相対位置算出ステップは、ユーザと表示部の相対位置関係を算出する。色制御ステップは、所定の表示対象について、相対位置関係と、表示位置または当該表示対象内の位置とに応じて予め定められた遷移で色が変化するよう色を設定する。画像生成ステップは、所定の表示対象を含む第1の画像を生成する。
【0028】
第13の発明は、表示部に第1の画像を表示する情報処理装置であって、ユーザが操作する所定の装置の姿勢を算出する姿勢算出部と、所定の表示対象について、姿勢と、表示位置または当該表示対象内の位置とに応じて予め定められた遷移で色が変化するよう色を設定する色制御部と、所定の表示対象を含む第1の画像を生成する画像生成部を備える、情報処理装置である。
【0029】
第14の発明は、表示部に第1の画像を表示する情報処理システムであって、ユーザが操作する所定の装置の姿勢を算出する姿勢算出部と、所定の表示対象について、姿勢と、表示位置または当該表示対象内の位置とに応じて予め定められた遷移で色が変化するよう色を設定する色制御部と、所定の表示対象を含む第1の画像を生成する画像生成部を備える、情報処理システムである。
【0030】
第15の発明は、表示部に第1の画像を表示するコンピュータの情報処理方法であって、コンピュータは、(a)ユーザが操作する所定の装置の姿勢を算出するステップと、(b)所定の表示対象について、姿勢と、表示位置または当該表示対象内の位置とに応じて予め定められた遷移で色が変化するよう色を設定するステップと、(c)所定の表示対象を含む第1の画像を生成するステップを含む、情報処理方法である。
【0031】
第12ないし第15の発明においても、第1の発明と同様に、ユーザからの見方に応じて画像を豪華に見せることができる。
【発明の効果】
【0032】
この発明によれば、ユーザからの見方に応じて画像を豪華に見せることができる。
【0033】
この発明の上述の目的,その他の目的,特徴および利点は、図面を参照して行う以下の実施例の詳細な説明から一層明らかとなろう。
【図面の簡単な説明】
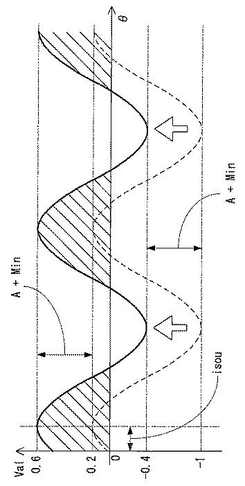
【0034】
図1図1はゲーム装置の電気的な構成の限定しない一例を示すブロック図である。
図2図2図1に示すゲーム装置の表示装置に表示されるカード表示画面の限定しない一例を示す図解図である。
図3図3(A)は図2に示すカードオブジェクトの限定しない第1の表示例を示す図解図であり、図3(B)は図2に示すカードオブジェクトの第2の表示例を示す図解図である。
図4図4(A)は図2に示すカードオブジェクトの第3の表示例を示す図解図であり、図4(B)は図2に示すカードオブジェクトの第4の表示例を示す図解図である。
図5図5はカードオブジェクトの構造の限定しない一例を示す図解図である。
図6図6(A)はカードオブジェクトを構成する色変化画像を説明するための図解図であり、図6(B)は色変化画像の具体的な構成を説明するための図解図である。
図7図7(A)は模様画像に含まれる1つの分割領域に付される模様の限定しない一例を示す図解図であり、図7(B)は模様画像の一部の模様を示す図解図である。
図8図8は色変化画像を構成する複数のポリゴンの各頂点の色を算出するための数式に設定するパラメータのテーブルの限定しない一例を示す図解図である。
図9図9は或るパラメータを設定した場合の位相に対する色値の変化の一例の一部を示す波形図である。
図10図10は第1の姿勢の場合の色変化画像を構成する複数のポリゴンの一部の頂点の色を算出した算出結果の限定しない一例を示す図解図である。
図11図11は第1の姿勢の場合の色変化画像を構成する複数のポリゴンの他の一部の頂点の色を算出した算出結果の限定しない一例を示す図解図である。
図12図12は第1の姿勢の場合の色変化画像を構成する複数のポリゴンのその他の一部の頂点の色を算出した算出結果の限定しない一例を示す図解図である。
図13図13は第2の姿勢の場合の色変化画像を構成する複数のポリゴンの一部の頂点の色を算出した算出結果の限定しない一例を示す図解図である。
図14図14は第3の姿勢の場合の色変化画像を構成する複数のポリゴンの一部の頂点の色を算出した算出結果の限定しない一例を示す図解図である。
図15図15図1に示すゲーム装置に内蔵されるRAMのメモリマップの限定しない一例を示す図解図である。
図16図16図1に示すゲーム装置に内蔵されるCPUのゲーム処理の限定しない一例を示すフロー図である。
図17図17図1に示すゲーム装置に内蔵されるCPUの色算出処理の限定しない一例の一部を示すフロー図である。
図18図18図1に示すゲーム装置に内蔵されるCPUの色算出処理の限定しない一例の他の一部であって、図17に後続するフロー図である。
【発明を実施するための形態】
【0035】
図1を参照して、限定しない一例のゲーム装置10はCPU20を含み、CPU20には、RAM22、フラッシュメモリ24、ジャイロセンサ26、カメラ28、入力装置30、画像生成回路32およびD/A変換器34が接続される。また、画像生成回路32には、表示装置36が接続され、D/A変換器34には、スピーカ38が接続される。
【0036】
たとえば、この実施例のゲーム装置10は、携帯型の情報処理装置であるが、ゲーム専用機に限定される必要はなく、ゲーム機能を有する携帯端末であってもよい。ゲーム機能を有する携帯端末の典型例は、フィーチャフォンおよびスマートフォンである。
【0037】
CPU20は、ゲーム装置10の全体制御を司る。RAM22は、揮発性記憶媒体であり、CPU20のワークメモリやバッファメモリとして使用される。フラッシュメモリ24は、不揮発性記憶媒体であり、ゲームのようなアプリケーションのプログラムを記憶したり、各種のデータを記憶(セーブ)したりするために使用される。
【0038】
ただし、アプリケーションは、ゲームのアプリケーションに限定される必要は無く、文書作成アプリケーション、電子メールアプリケーション、お絵描きアプリケーション、文字練習用アプリケーション、語学トレーニングアプリケーション、学習アプリケーションなどの様々なアプリケーションも実行可能である。
【0039】
ジャイロセンサ26は、図2に示すように、X軸,Y軸,Z軸の各々の軸回りについての角速度(ωx,ωy,ωz)を検出し、検出した角速度をCPU20に入力する。ただし、角速度は、CPU20に入力されるときに、アナログ信号からディジタルのデータに変換される。
【0040】
図2では、ゲーム装置10の筐体は省略するが、ゲーム装置10(表示装置36)に対して、3次元座標系が設定されており、ゲーム装置10の横方向(左右方向)にX軸が設定され、ゲーム装置10の前後方向(表示装置36の表示面に対して垂直方向)にY軸が設定され、そして、ゲーム装置10の縦方向(上下方向)にZ軸が設定される。
【0041】
したがって、ジャイロセンサ26は、ゲーム装置10の縦方向(表示装置36の上下方向)の軸回り(Z軸回り)、横方向(表示装置36の左右方向)の軸回り(X軸回り)および前後方向(表示装置36の表示面に垂直な方向)の軸回り(Y軸回り)の各々の角速度を検出する。ただし、ジャイロセンサ26から出力される角速度は度数法による角度で表現され、Z軸回りの回転はロール角で表わされ、X軸回りの回転はピッチ角で表わされ、そして、Y軸回りの回転はヨー角で表わされる。このジャイロセンサ26は、典型的には、圧電振動型のものを用いることができるが、他の方式のものを用いるようにしてもよい。
【0042】
カメラ28は、CCDまたはCMOSを用いた撮像装置であり、たとえば、表示装置36の表示面と同じ面側(同じ向き)にレンズが配置されるように、表示装置36の表示面の範囲外に設けられる。カメラ28は、撮像した画像をCPU20に入力する点において、入力手段(イメージセンサ)ということもできる。
【0043】
入力装置30は、たとえば、ゲーム装置10に設けられる各種の押しボタンないしスイッチ(入力手段)であり、プレイヤないしユーザ(以下、単に「プレイヤ」という)によって、メニュー選択やゲーム操作などの各種の操作に用いられる。ただし、入力装置30としては、タッチパネルなどのポインティングデバイスおよびマイクなどの入力手段が、押しボタンないしスイッチに代えて、または、押しボタンないしスイッチとともに設けられてもよい。また、タッチパネルは、後述する表示装置36に組み込まれる場合もある。この場合の表示装置36は、タッチパネル一体型表示装置である。
【0044】
画像生成回路32は、CPU20の指示の下、表示装置36にゲーム画像などの各種画像を表示するために使用される。図示は省略するが、画像生成回路32は、GPUおよびビデオRAM(VRAM)を内蔵している。また、画像生成回路32は、線形補間処理を行うための専用の回路も内蔵している。線形補間処理では、たとえば、ポリゴンの各頂点の色値からポリゴン内の各点(画素)の色値が補間(算出)される。
【0045】
D/A変換器34は、CPU20から与えられる音声データをアナログのゲーム音声に変換し、スピーカ38に出力する。ただし、ゲーム音声は、ゲームのキャラクタないしオブジェクトの擬制音、効果音、音楽(BGM)のようなゲームに必要な音を意味する。
【0046】
なお、図1に示すゲーム装置10の電気的な構成は単なる一例であり、これに限定される必要はない。たとえば、カメラ28は無くてもよい。また、ゲーム装置10は、他の機器と直接またはネットワークを介して通信するための通信モジュールを備えていてもよい。
【0047】
上述したようなゲーム装置10では、3次元の仮想空間内(仮想ゲーム空間内)で進行するゲームをプレイすることができる。詳細な説明は省略するが、仮想ゲーム空間内に、草木(花も含む)オブジェクト、地形オブジェクトおよび建物オブジェクトのような仮想オブジェクトが設けられるとともに、プレイヤキャラクタが配置される。また、仮想ゲーム空間内には、敵キャラクタ、野生のモンスターのキャラクタ、対戦相手のキャラクタおよび村人キャラクタなどのノンプレイヤキャラクタも配置される。さらに、仮想ゲーム空間内には、アイテムキャラクタが配置される。このような仮想ゲーム空間を仮想カメラ(図示せず)で撮影した画像がゲーム画面として表示装置36に表示される。具体的には、特定の視点(仮想カメラ)から見た3次元の仮想ゲーム空間画像が透視投影変換を用いて描画されて、ゲーム画面として表示されるのである。
【0048】
この実施例のゲームでは、プレイヤは、プレイヤキャラクタを操作することにより、野生のモンスターのキャラクタを捕まえて(収集し)、仲間のキャラクタにすることができる。また、プレイヤは、仲間のキャラクタを敵キャラクタが所有するモンスターのキャラクタと戦わせることができる。さらに、プレイヤは、仲間のキャラクタを鍛えて(育てて)、そのレベルを上げることができる。たとえば、攻撃力または/および防御力が強化される。ただし、仲間のキャラクタが進化(変形)することもある。
【0049】
また、上述したようなノンプレイヤキャラクタやアイテムキャラクタには、ゲームの本編とは直接的に関係の無い所定のキャラクタ(オブジェクト)も含まれる。たとえば、所定のオブジェクトは、ゲームの進行とは直接関係のないコレクション要素として、仮想ゲーム空間内に配置され(隠され)、プレイヤないしプレイヤキャラクタによって収集される。ただし、所定のオブジェクトは、ゲームにおいて、所定のイベントが発生したことに応じて、配布されるようにしてもよい。
【0050】
図2には、この実施例のゲームにおいて、表示装置36に表示されるカード表示画面100の一例が表示される。カード表示画面100では、その表示面の全範囲にカードオブジェクト102が表示される。カードオブジェクト102は、上述した所定のオブジェクトの一例である。
【0051】
図3(A)、(B)および図4(A)、(B)に示すように、カードオブジェクト102は、カードゲームなどで使用するカードを模したオブジェクトである。また、カードゲーム以外のゲームであっても、たとえばモンスター等の図鑑のページを、カードを模して表現するためのものであってもよい。カードオブジェクト102の中央には、モンスターのキャラクタについての画像(キャラクタ画像)104が描画(表示)される。また、キャラクタ画像104の背面には、後述するように、色変化画像106、背景画像108および模様画像110を合成した合成画像120が描画(表示)される。また、背景画像108においては、キャラクタ画像104の右下部の位置に、そのキャラクタの名称(ここでは、「キャラクタC」)などを記載するための名称領域108aが表示される(設けられる)。
【0052】
この実施例のカードオブジェクト102は、ゲーム装置10を傾けて姿勢を変化させると、キャラクタ画像104以外の背景の一部分が光ったり消えたりするように表示される。したがって、キャラクタ画像104を豪華に見せるように、カードオブジェクト102の表示が変化される。具体的には、ホログラムカード、キラカード等と呼ばれる実際のカードのように、見る角度によって光り方が変わる見た目の演出をすることができる。
【0053】
ゲーム装置10の姿勢(表示装置36の表示面の向き)と、カード表示画面100内の表示位置に応じて、カードオブジェクト102を構成する色変化画像106の色が設定される。色が設定された色変化画像106は、背景画像108と合成される。つまり、3次元の現実空間におけるゲーム装置10(表示装置36)とプレイヤの相対的な位置関係に応じて画像が変化される。
【0054】
上述したように、ゲーム装置10(表示装置36)に対して、3次元座標系が設定されており、3次元の各軸周りの角速度がジャイロセンサ26で検出され、ジャイロセンサ26から出力された各軸周りの角速度に基づいてゲーム装置10(表示装置36)の姿勢を算出することができる。具体的には、基準となる状態からどれだけ回転したかを角速度に基づいて算出することができる。
【0055】
図3(A)、(B)および図4(A)、(B)は、ゲーム装置10の姿勢を次第に変化させた場合において、カードオブジェクト102の表示が変化する様子を示す。ただし、図面ではカラー画像を図示せず、グレースケールで明るさの変化によってカードオブジェクト102の表示が変化する様子を表現してある。
【0056】
ここで、ゲーム装置10の姿勢が第1の姿勢のときに図3(A)のカードオブジェクト102が表示され、第2の姿勢のときに図3(B)のカードオブジェクト102が表示され、第3の姿勢の時に図4(A)のカードオブジェクト102が表示され、そして、第4の姿勢のときに図4(B)のカードオブジェクト102が表示されるものとする。ゲーム装置10の姿勢は、本実施形態においては、3軸回りの傾きの角度の平均値を制御に使うものとする。なお、別の実施形態においては、合計値であってもよいし、3軸それぞれの傾きに応じた制御であってもよい。
【0057】
値はあくまで一例であるが、ゲーム装置10の第1の姿勢から第4の姿勢までの角度の推移は以下のとおりである。X軸回りのピッチ方向(ジャイロ角度X)においては、次第にマイナス方向の角度が大きくされるように、ゲーム装置10の姿勢が変化される。具体的には、第1の姿勢から第4の姿勢にかけて、1.1度、−0.8度、―7.5度、−8.4度と推移する。Y軸回りのヨー方向(ジャイロ角度Y)においては、マイナス方向の角度が大きくされた後に、マイナス方向の角度が小さくされ、さらに、マイナス方向の角度が大きくされるように、ゲーム装置10の姿勢が変化される。具体的には、第1の姿勢から第4の姿勢にかけて、−13.3度、−41.6度、―22.6度、−32.8度と推移する。さらに、Z軸回りのロール方向(ジャイロ角度Z)において、マイナス方向に角度が大きくされた後に、プラス方向の角度が大きくされる。具体的には、第1の姿勢から第4の姿勢にかけて、−4.1度、−4.0度、―12.0度、−12.0度と推移する。3つの角度の平均値(ジャイロ平均)は、第1の姿勢から第4の姿勢にかけて、−4.1度、−15.5度、−6.0度、−9.8度と推移し、この値が色を決定する制御に用いられる。
【0058】
図3(A)に示すカードオブジェクト102では、背景画像108のうち、右上方から左下方に二列に並んで、ひし形形状(正方形を45度回転した形状)に明るくされた複数の領域(ひし形領域)が所定距離毎に表示される。後述するように、色変化画像106において、分割領域106aの各頂点の色を表示位置によって決定することで画像全体の色を決定しており、また、各分割領域106aの頂点の表示位置に対応する背景画像108の色が異なる場合もあるため、各ひし形領域が同じ明るさとは限らない。
【0059】
図3(B)は、ゲーム装置10が第1の姿勢から第2の姿勢に変化した場合におけるカードオブジェクト102の画像を示す。
【0060】
図3(A)と図3(B)を比較して分かるように、図3(B)に示すカードオブジェクト102の画像は、全体として図3(A)に示すカードオブジェクト102の画像よりも明るく、特に、右上方から左下方に向かって帯状に背景画像108が明るくされる。また、帯状に明るい部分においては、後述する最背面の模様画像110の模様が浮かびあがっている。
【0061】
図4(A)は、ゲーム装置10が第2の姿勢から第3の姿勢に変化した場合におけるカードオブジェクト102の画像を示す。
【0062】
図3(B)と図4(A)を比較して分かるように、図4(A)に示すカードオブジェクト102の画像では、背景画像108のうちの帯状の明るい部分が、図3(B)に示したカードオブジェクト102の画像よりも左側に移動している。したがって、図4(A)に示すカードオブジェクト102では、左半分が右半分よりも明るくされる。また、図4(A)に示すカードオブジェクト102の画像では、帯状の明るい部分の右端において、キャラクタ画像104の背面側に数個のひし形領域が斜め方向に並んで表示される。
【0063】
図4(B)は、ゲーム装置10が第3の姿勢から第4の姿勢に変化した場合におけるカードオブジェクト102の画像を示す。
【0064】
図4(A)と図4(B)を比較して分かるように、図4(B)に示すカードオブジェクト102の画像は、背景画像108のうちの帯状の明るい部分が、中央から右寄りに現れている。つまり、ゲーム装置10が第3の姿勢から第4の姿勢に変化したときに、明るい帯状の部分は、カードオブジェクト102の左側に抜けた後に、カードオブジェクト102の右側に出現される。したがって、図4(B)に示すカードオブジェクト102では、右半分が左半分よりも明るくされる。また、図4(B)に示すカードオブジェクト102の画像では、帯状の明るい部分の左端において、キャラクタ画像104の背面側に数個のひし形領域が斜め方向に並んで表示される。
【0065】
このように、ゲーム装置10の姿勢の変化に従って、カードオブジェクト102内において明るい部分の位置および明るさが変化する。また、図3(A)に示すカードオブジェクト102の画像に無かった帯状の明るい部分が、図3(B)に示すカードオブジェクト102の画像に現れ、図4(A)および図4(B)に示すように、帯状の明るい部分が移動される。したがって、カードオブジェクト102がきらきら光るように表示され、キャラクタ画像104が豪華に見える。
【0066】
カードオブジェクト102は、上述したように、キャラクタ画像104および合成画像120で構成される。合成画像120は、色変化画像106、背景画像108および模様画像110を合成した画像である。図5に示すように、キャラクタ画像104が最前面に配置(描画)される。キャラクタ画像104の背面側に、色変化画像106、背景画像108、模様画像110が配置される。模様画像110は色変化画像106に対して明るさの最大値を規定する画像であり、色変化画像106のそれぞれの画素の色R、G、Bの色値(画素値)を、対応する位置の模様画像110の画素値に応じて変更し、さらに背景画像108の画素値を加算したものが合成画像120の画素値となる。
【0067】
なお、図5では、便宜上、キャラクタ画像104の背面側に、色変化画像106、背景画像108および模様画像110の順で積層されるように記載してあるが、色変化画像106、背景画像108および模様画像110は合成されるため、順番は関係ない。
【0068】
たとえば、カードオブジェクト102の画像は、3次元の仮想ゲーム空間に、キャラクタ画像104、色変化画像106、背景画像108および模様画像110のそれぞれを異なる層で並べて描画して、仮想カメラの座標系に変換して生成するが、2次元の仮想ゲーム空間において、2次元画像処理を実行することにより生成してもよい。
【0069】
キャラクタ画像104は、図の例では、ライオンを模したキャラクタ(ゲームキャラクタ)の画像である。ただし、カードオブジェクト102に表示されるキャラクタは限定される必要はない。たとえば、他の動物または他のモンスターを模したゲームキャラクタ、他の種類のゲームキャラクタまたはアニメキャラクタが表示されてもよい。
【0070】
図6(A)および図6(B)に示すように、色変化画像106は、長方形の画像であり、背景画像108(カードオブジェクト102)よりも少し大きくされる。この色変化画像106は、格子状に分割された複数の四角形の領域(分割領域)106aを有している。この実施例では、分割領域106aは、縦方向に9個並べられ、横方向に15個並べられる。したがって、色変化画像106は、135個(9×15)の分割領域106aで構成される。ただし、各分割領域106aは、2つの直角三角形のポリゴンを合わせて構成される。また、色変化画像106においては、隣接する2つの分割領域106aでは、それらが接触する線(辺)を中心に線対称となるようにポリゴンが配置される。各ポリゴンの頂点には、後述する数式に従って算出された色値に基づいて色が付される。頂点以外の部分については、一般的なGPUが備える機能として、頂点の色からの補間処理で色を決定させることができる。
【0071】
なお、図6(A)および図6(B)では、色変化画像106および分割領域106aを分かり易く示すために、分割領域106aの外形線を黒色で記載しているが、実際には、ポリゴンに付された色で外形線も現される。
【0072】
また、図6(B)に示すように、色変化画像106では、2×2の分割領域106aに着目した場合に、9つの頂点のうち、8つの頂点で囲まれた位置の1つの頂点(第1分類の頂点)と、それ以外の位置の頂点(第2分類の頂点)とに分類される。ただし、第2分類の頂点は、第1分類の頂点を囲む上記の8つの頂点である。図6(B)においては、第1分類の頂点を白丸(白色の点)で示し、第2分類の頂点を黒丸(黒色の点)で示してある。
【0073】
この実施例では、第1分類の頂点と第2分類の頂点とでは、色を算出する際の数式に設定されるパラメータを変化させるようにしてある。つまり、第1分類の頂点と第2分類の頂点とでは、色の対応関係が異なる。ただし、各頂点の色は、ゲーム装置10の姿勢によっても変化されるため、その姿勢および各頂点の分類と色の対応関係が異なると言える。つまり、対応関係が複数設定されている。このようにすることで、画像全体が一様に変化するのではなく、特定の状況において画像の一部が際立って見えたり見えなくなったりする状態が発生し、より演出効果を得ることができる。
【0074】
これは、カードオブジェクト102がきらきら光るように、色変化画像106の色を変化させることにより、合成画像120(背景)の色(明るさ)を変化させて、キャラクタ画像104を豪華に見せるようにするためである。
【0075】
さらに、この実施例では、分割領域106aの各頂点の色を算出する場合に、カードオブジェクト102における各頂点の表示位置も考慮されるため、各頂点の表示位置が2次元座標で表現(管理)される。図6(B)に示すように、色変化画像106に2次元座標系が設定され、色変化画像106の横方向がX軸方向であり、色変化画像106の縦方向がY軸方向である。また、図6(B)に示すように、色変化画像106の右方向がX軸のプラス方向であり、色変化画像106の下方向がY軸のプラス方向である。さらに、色変化画像106の左上の頂点が原点(0,0)に設定される。また、色変化画像106の右下の頂点が(14,8)に設定される。
【0076】
したがって、上記の第1分類の頂点の座標は(1,1)、(3,1)、(5,1)、(7,1)、(9,1)、(11,1)、(13,1)、(1,3)、(3,3)、(5,3)、(7,3)、(9,3)、(11,3)、(13,3)、(1,5)、(3,5)、(5,5)、(7,5)、(9,5)、(11,5)、(13,5)、(1,7)、(3,7)、(5,7)、(7,7)、(9,7)、(11,7)、(13,7)であり、第2分類の頂点の座標は、(0,0)−(14,8)のうち、上記の第1分類の頂点の座標を除く座標である。
【0077】
模様画像110は、色変化画像106と同じ大きさであり、複数の分割領域110aで構成される。分割領域110aは、色変化画像106の分割領域106aと同じ大きさおよび同じ形状である。図7(A)に示すように、分割領域110aには所定の模様が付されている。この所定の模様には、濃度の異なるグレーが付されている。また、図7(B)に示すように、模様画像110においては、所定の模様は、隣接する分割領域110aにおいて上下および左右に対象となるように、各分割領域110aに付されている。
【0078】
なお、図7(A)および図7(B)では、色変化画像106に対応してどのように模様が付されているかを示すために、分割領域110aを区切る線分、第1分類の頂点および第2分類の頂点を模様画像110に示してあるが、実際には、これらは表示されない。
【0079】
このように、合成画像120の前面にキャラクタ画像104が表示され、合成画像120は、色変化画像106、背景画像108および模様画像110を合成した画像であるため、色変化画像106の色が変化されることにより、背景画像108の一部の明るさが変化され、さらに、模様画像110の模様が浮かびあがる。
【0080】
この実施例では、各頂点の色R、G、Bの各々の色値Valは数1に示す数式に従って算出される。ただし、数1では、第1分類の頂点または第2分類の頂点であることと、算出する色値Valの色R、G、Bの別とに応じて、設定されるパラメータが異なる。ただし、パラメータは、予め設定されたパラメータのテーブル(図8参照)から取得される。
【0081】
[数1]
Val = A * cosθ + A + Min
A = (Max - Min) / 2
θ = f * Deg + isou_x * x + isou_y * y +isou
ただし、Aは、cos関数の振幅である。また、MaxはA * cosθの最大値であり、MinはA * cosθの最小値である。さらに、fは色の変化の頻度を設定するための係数であり、Degはジャイロ角度である。この係数fは、ジャイロ角度Degが一回転する間におけるcos波形の波数(波が上下する回数)である。また、ジャイロ角度Degは、係数fを乗算することにより、角度(位相)に変換される。ただし、この実施例では、パラメータのテーブルに従って、ジャイロ角度Degには、ジャイロ角度X、ジャイロ角度Yおよびジャイロ角度Zの平均値が用いられる。
【0082】
また、isou_xは色値Valを算出する頂点のX座標を角度(位相)に変換するための係数であり、isou_yは当該頂点のY座標を位相に変換するための係数である。そして、isouは、cos関数の初期位相である。
【0083】
数1からも分かるように、色値Valは、周期的に変化する三角関数を用いて決定される。また、三角関数の位相θは、ジャイロ角度Degおよび頂点の位置(x,y)に基づいて決定される。したがって、ゲーム装置10の姿勢と、色変化画像106内の位置(表示位置)とに応じて予め定められた遷移で変化するように色値が算出される。ただし、ゲーム装置10の姿勢が変化しない場合であっても、色変化画像106内の表示位置が異なれば、周期的に色が変化する。また、ゲーム装置10の姿勢が変化する場合には、色変化画像106内の表示位置が同じであっても、周期的に色が変化する。つまり、同じ分類の頂点であっても、ゲーム装置10の姿勢または/および色変化画像106内の表示位置の違いによって、色R、G、Bの各々の色値Valが周期的に変化する。
【0084】
なお、数1に示すように、色値Valを算出する数式において、振幅Aと最小値Minを加算するのは、色値Valが所定値(この実施例では、「0」)以下の場合に、色を付さないようにしてあるためである。ただし、この実施例では、色を付さない場合には、色値は「0」に設定される。また、色値Valは、「0」〜「1」の間で算出され、これが「0」〜「255」の数値(8ビットのデータ)に変換される。たとえば、頂点の色R、G、Bのすべての色値が「0」である場合には、この頂点には黒が設定される(付される)。また、頂点の色R、G、Bのすべての色値が「255」である場合には、この頂点には白が設定される。したがって、色R、G、Bの各色値が大きくなるに従って頂点の色が白に近づき、明るくなる。
【0085】
図8は上記のパラメータのテーブルである。パラメータのテーブルでは、パラメータの具体的な数値は、開発者等が試験を行い、きらきら光るカードと同様に、カードオブジェクト102を光らせるように表示させるために選択(決定)された一例である。
【0086】
たとえば、第1分類の頂点についての色Rの色値Valを算出する場合には、パラメータのテーブルに従って、数1に示す数式に、ジャイロ角度Degとして3つのジャイロ角度の平均値が用いられ、最小値Minとして「−1」が設定され、最大値Maxとして「0.2」が設定され、係数fとして「30」が設定され、初期位相isouとして「60」が設定され、係数isou_xとして「80」が設定され、そして、係数isou_yとして「80」が設定される。
【0087】
また、第2分類の頂点についての色Gの色値Valを算出する場合には、パラメータのテーブルに従って、数1に示す数式に、ジャイロ角度Degとして3つのジャイロ角度の平均値が用いられ、最小値Minとして「−1.6」が設定され、最大値Maxとして「0.5」が設定され、係数fとして「50」が設定され、初期位相isouとして「240」が設定され、係数isou_xとして「15」が設定され、そして、係数isou_yとして「10」が設定される。
【0088】
なお、説明は省略するが、他の場合についても、上記の場合と同様に、頂点の分類および色の別に応じたパラメータが数式に設定される。
【0089】
図9は、パラメータのテーブルに従って数式にパラメータを設定した場合の位相θに対する色値Valの変化の一例の一部を示す波形図である。この波形において、振幅Aは、最大値Maxおよび最小値Minを用いて算出され、位相θの値に応じて、色値Valが決定される。ただし、位相θを決定するためのパラメータのうち、係数f、初期位相isou、係数isou_xおよび係数isou_yもパラメータのテーブルから取得される。
【0090】
数1からも分かるように、振幅Aおよび最小値Minの分だけ、波形(cos波形)がプラス側(上方)に並行移動される。図9では、白抜きの矢印で波形が並行移動されていることを示してある。
【0091】
上述したように、色値Valは0〜1であるため、図9に示す波形においては、位相θが斜線を付した部分の範囲に収まる場合の座標(x,y)に位置する頂点に、色R、G、Bの各色値Valに対応する色が付される。ただし、この実施例では、色値Valが0よりも小さい場合にも、色値Valは0に決定される。この場合、所定の範囲において色値が0の状態が継続するため、定期的に色が出現したり消えたりするような設定をすることができる。このように、上記のパラメータを設定することにより、正弦波に限らず周期的に変化する様々なパターンを実現可能である。
【0092】
図10図12は、図3(A)に示したカードオブジェクト102が表示される場合に、数1に従って算出された色変化画像106における各分割領域106a(ポリゴン)の各頂点の色R、G、Bの色値を示すテーブル(算出結果のテーブル)である。算出結果のテーブルでは、各頂点の座標に対応して、色R、G、Bの各々の色値が記述される。ただし、算出結果のテーブルにおいては、各色値は色値Valを「0」〜「255」の値に変換してある。また、X座標が「6」、「8」および「10」であり、Y座標が「0」〜「9」である頂点については、色R、G、Bのすべての色値が「0」であるため、図示を省略してある。
【0093】
図10図12において、斜線を付した色R、G、Bの色値を有する頂点が図3(A)に示したひし形領域の中心点に相当する。図10および図11に示すように、頂点の座標(3,7)、(5,5)および(7,3)では、色R、G、Bの色値がすべて同じである。また、図11および図12に示すように、頂点の座標(7,7)、(9,5)、(11,3)および(13,1)では、色R、G、Bの色値がすべて同じである。ただし、色変化画像106において複数の頂点の色R、G、Bの色値がすべて同じであっても、背景画像108および模様画像110において対応する位置(画素)の色値が異なれば、合成画像120における各頂点に対応する画素の色および明るさが異なる。
【0094】
なお、図示は省略するが、図3(B)、図4(A)および図4(B)に示すカードオブジェクト102についても、同様に、色変化画像106における各分割領域106aの各頂点の色R、G、Bの色値が算出される。
【0095】
たとえば、図13は、図3(B)に示したカードオブジェクト102が表示される場合に、数1に従って算出された色変化画像106における各分割領域106aの各頂点の色R、G、Bの色値を示す算出結果のテーブルの一部である。
【0096】
また、図14は、図4(A)に示したカードオブジェクト102が表示される場合に、数1に従って算出された色変化画像106における各分割領域106aの各頂点の色R、G、Bの色値を示す算出結果のテーブルの一部である。
【0097】
図13および図14では、色変化画像106において、X座標が「5」〜「8」であり、Y座標が「0」〜「8」である頂点についての色値の算出結果を示してある。
【0098】
図13に示すように、図3(B)のカードオブジェクト102の画像の場合には、第1の姿勢から第2の姿勢に変化しているため、たとえば、頂点(5,5)に着目すると、色R、G、Bの色値が変化(低下)している。したがって、姿勢が変化すると、同じ表示位置(座標)であっても、色変化画像106の色が変化することが分かる。このため、カードオブジェクト102の色(明るさ)も変化する。
【0099】
また、図10図12では省略したが、第1の姿勢では、X座標が「6」の行と「8」の行では、すべての色値が「0」であったが、図13に示すように、第2の姿勢では、X座標が「6」の行では、色Gの一部と色Bの一部の色値が「0」よりも大きく、X座標が「8」の行では、色Gのすべてと色Bのほとんどの色値が「0」よりも大きい。また、X座標が「7」の行においても、一部において色値が「0」よりも大きい値に変化している。
【0100】
第2の姿勢においては、X座標が「6」〜「8」の行は図3(B)に示したカードオブジェクト102の画像の帯状に明るい部分の一部に相当し、色値の算出結果からも、第1の姿勢から第2の姿勢に変化したことに応じて帯状の明るい部分が現れたことが分かる。
【0101】
また、図14に示すように、図4(A)のカードオブジェクト102の画像の場合には、第2の姿勢から第3の姿勢に変化しているため、たとえば、X座標が「5」の行に着目すると、一部において、色値が「0」よりも大きい値に変化していることが分かる。
【0102】
また、X座標が「6」の行に着目すると、色Rの色値に変化は無いが、色Gと色Bの色値は、おおよそ、第2の姿勢で「0」であったところが「0」よりも大きい値に変化し、第2の姿勢で「0」よりも大きい値であったところが「0」に変化している。
【0103】
さらに、X座標が「7」の行に着目すると、Y座標が「6」〜「8」の色値は、第2の姿勢で「0」よりも大きい値であったが、全体的に「0」に変化している。また、X座標が「8」の行に着目すると、色Rの色値に変化は無いが、色Gと色Bの色値は、第2の姿勢で「0」よりも大きい値であったが、全体的に「0」に変化している。
【0104】
第3の姿勢においては、明るい帯状の部分が第2の姿勢の場合よりも左側に移動しており、これによって、図4(A)に示すカードオブジェクト102の画像において、X座標が「6」〜「8」の行に相当する部分が第2の姿勢の場合に比べて少し暗くなっている。このことは、上記の色値の算出結果からも分かる。
【0105】
図15図1に示したゲーム装置10のRAM22のメモリマップ300の一例を示す図解図である。図15に示すように、RAM22は、プログラム記憶領域302およびデータ記憶領域304を含む。プログラム記憶領域302には、この実施例のゲームのアプリケーションプログラムのような情報処理プログラムが記憶され、情報処理プログラムは、メイン処理プログラム302a、画像生成プログラム302b、画像表示プログラム302c、角速度検出プログラム302d、角度算出プログラム302eおよび色算出プログラム302fなどを含む。
【0106】
メイン処理プログラム302aは、この実施例のゲームのゲーム処理のメインルーチンを処理するためのプログラムである。画像生成プログラム302bは、画像生成用データ304bを用いてゲーム画像(ゲーム画面、カード表示画面100など)のデータ(ゲーム画像データ)を生成するためのプログラムである。画像表示プログラム302cは、画像生成プログラム302bに従って生成されたゲーム画像データを表示装置36に出力するためのプログラムである。したがって、ゲーム画像データに対応するゲーム画像が表示装置36に表示される。
【0107】
角速度検出プログラム302dは、ジャイロセンサ26から出力される各軸周りの角速度についての角速度データ304dを検出し、データ記憶領域304に記憶するためのプログラムである。角度算出プログラム302eは、角速度検出プログラム302dに従って検出した角速度データ304dを用いて角度データ304eを算出するためのプログラムである。具体的には、角度算出プログラム302eは、角速度データ304dから、ピッチ方向、ヨー方向およびロール方向のそれぞれの角度(ジャイロ角度)を算出し、3つの角度の平均値を算出して、平均値に対応する角度データ304eをデータ記憶領域304に記憶する。
【0108】
色算出プログラム302fは、色変化画像106の各分割領域106aの各頂点の色R、G、Bの色値をそれぞれ算出するためのプログラムである。この色算出プログラム302fに従えば、上述したように、第1分類および第2分類に応じたパラメータがパラメータのテーブルに従って数1の数式に設定され、パラメータが設定された数式を用いて各頂点の色R、G、Bの色値Valが算出される。したがって、上述したような算出結果のテーブルが得られる。
【0109】
図示は省略するが、プログラム記憶領域302には、ゲームデータ(セーブデータ)をフラッシュメモリ24にセーブ(保存)するためのプログラム、ゲームに必要な音を生成および出力するための音出力プログラムなどの他のプログラムも記憶される。
【0110】
データ記憶領域304には、操作入力データバッファ304aが設けられる。また、データ記憶領域304には、画像生成用データ304b、パラメータデータ304c、角速度データ304d、角度データ304eおよび色データ304fなどのデータが記憶される。
【0111】
操作入力データバッファ304aは、入力装置30からの操作データを一時記憶するための領域である。操作データは、CPU20によって受け付けられると、操作入力データバッファ304aに時系列に従って記憶され、CPU20の処理に使用されると、消去される。
【0112】
画像生成用データ304bは、ゲーム画像データを生成するためのポリゴンデータおよびテクスチャデータなどの画像データを含む。パラメータデータ304cは、図8に示したパラメータのテーブルについてのデータである。
【0113】
角速度データ304dは、ジャイロセンサ26から出力されるピッチ角、ヨー角およびロール角についての角速度のデータである。角度データ304eは、角速度データ304dに基づいて算出したピッチ方向、ヨー方向およびロール方向の各角度の平均値についてのデータである。色データ304fは、色変化画像106の各分割領域106a(ポリゴン)の頂点の色R、G,Bについての色値のデータある。具体的には、図10図12に示したような算出結果のテーブルについてのデータである。
【0114】
図示は省略するが、データ記憶領域には、他のデータが記憶されたり、ゲーム処理(情報処理)に必要なフラグおよびカウンタ(タイマ)が設けられたりする。
【0115】
図16は、図1に示したゲーム装置10に設けられるCPU20の全体処理についてのフロー図である。なお、図16(後述する図17および図18についても同様。)に示すフロー図の各ステップの処理は、単なる一例に過ぎず、同様の結果が得られるのであれば、各ステップの処理順序を入れ替えてもよい。また、この実施例では、基本的には、図16図18に示すフロー図の各ステップの処理をCPU20が実行するものとして説明するが、CPU20以外のプロセッサや専用回路が一部のステップを実行するようにしてもよい。
【0116】
ゲーム装置10の電源が投入されると、全体処理の実行に先だって、CPU20は、図示しないブートROMに記憶されている起動プログラムを実行し、これによってRAM22等の各ユニットが初期化される。そして、フラッシュメモリ24等に記憶されたゲームプログラムが読み出されてRAM22に書き込まれ、CPU20によって当該ゲームプログラムの実行が開始される。
【0117】
図16に示すように、CPU20は、ゲーム処理を開始すると、ステップS1で、初期処理を実行する。初期処理では、たとえば、CPU20は、ゲーム画像を生成および表示するための仮想のゲーム空間を構築し、このゲーム空間に登場するプレイヤキャラクタ等の各キャラクタないし各オブジェクトを初期位置に配置するとともに、このゲーム空間に登場する地面オブジェクト、建物オブジェクト、草木オブジェクト等の仮想のオブジェクトを所定の位置に配置する。さらに、CPU20は、ゲーム処理で用いる各種パラメータの初期値を設定したりする。
【0118】
続いて、CPU20は、ステップS3で、入力装置30から送信されてくる各種のデータを取得し、ステップS5で、ゲーム制御処理を実行する。たとえば、CPU20は、操作データに従って、プレイヤキャラクタを移動させ、または/およびプレイヤキャラクタに任意のアクションを実行させる。また、CPU20は、操作データに従わずに、敵キャラクタを移動させ、または/および敵キャラクタに任意のアクションを実行される。さらに、CPU20は、プレイヤキャラクタの勝敗または順位を判定する、または/およびゲームクリアまたはゲームオーバを判定する。さらにまた、CPU20は、操作データに従って、仮想カメラの位置または/および向きを移動させる。ただし、通常、仮想カメラは、プレイヤキャラクタを注視するとともに、当該プレイヤキャラクタと所定距離を保って追従するように仮想空間に配置されるが、プレイヤの指示によって、位置または/および向きを変更された場合には、変更後の位置または/および向きに配置される。
【0119】
次のステップS7では、CPU20およびGPUは、表示装置36に表示するためのゲーム画像の生成処理を実行する。簡単に説明すると、CPU20およびGPUは、ステップS5のゲーム制御処理の結果を表すデータをRAM22から読み出し、また、ゲーム画像を生成するために必要なデータをVRAMから読み出し、ゲーム画像を生成する。たとえば、ゲーム画像を生成する場合には、CPU20の指示の下、GPUは、仮想空間における現在位置にプレイヤキャラクタを配置し、敵オブジェクトのようなノンプレイヤキャラクタを配置する。さらに、GPUは、プレイヤキャラクタの現在位置に応じた仮想オブジェクトを配置(生成)する。したがって、或るシーン(情景)が生成される。このシーンを仮想カメラから見た画像(撮影画像)がゲーム画像として生成される。また、上記のようなカード表示画面100をゲーム画像として表示する場合には、図17に示すようなカードの色算出処理がこのステップS7において実行される。
【0120】
続いて、ステップS9では、ゲーム音声を生成する。たとえば、ゲーム音声は、プレイヤキャラクタの音声(擬声音)、効果音、BGMなどのゲームに必要な音である。そして、ステップS11で、表示装置36へゲーム画像に対応する画像データを出力し、ステップS13で、ゲーム音声をD/A変換器34を介してスピーカ38に出力する。したがって、ゲーム画像が表示装置36に表示されるとともに、ゲーム音声がスピーカ38から出力される。
【0121】
そして、ステップS15では、CPU20は、ゲームを終了するかどうかを判断する。ステップS15の判断は、たとえば、ゲームオーバになったか否か、あるいは、プレイヤがゲームを終了する指示を行ったか否か等によって行われる。ステップS15で“NO”であれば、つまりゲームを終了しない場合には、ステップS3に戻る。一方、ステップS15で“YES”であれば、つまりゲームを終了する場合には、ゲーム処理を終了する。
【0122】
図17および図18は、図16に示したステップS7のゲーム画像の生成処理において実行される色算出処理のフロー図である。上述したように、この色算出処理は、カード表示画面100についてのゲーム画像を生成する場合に、CPU20によって実行される。
【0123】
図17に示すように、色算出処理を開始すると、CPU20は、ステップS51で、ジャイロセンサ26から出力されるピッチ角、ヨー角およびロール角のそれぞれについての角速度データ304dを取得し、データ記憶領域304に記憶する。次のステップS53では、角度データ304eを算出し、データ記憶領域304に記憶する。ここでは、CPU20は、角速度データ304dを参照して、ピッチ方向、ヨー方向およびロール方向の角度を度数法で表し、3つの角度(ジャイロ角度)の平均値を算出する。この平均値に対応するデータが角度データ304eである。
【0124】
続いて、ステップS55で、変数i、変数jおよび変数kを初期化する(i=0,j=0,k=0)。ただし、変数iおよび変数jは、色変化画像106の各頂点の2次元座標を指定するための変数であり、変数iがX座標(X成分)に対応し、変数jがY座標(Y成分)に対応する。したがって、ステップS55では、色変化画像106の左上の頂点の座標(0,0)が指定される。また、変数kは、色を指定するための変数であり、この実施例では、k=0は色Rに対応し、k=1は色Gに対応し、k=2は色Bに対応する。
【0125】
次のステップS57では、ジャイロ角度の平均値および位置を数1に示した数式に設定する。ただし、ジャイロ角度は、ステップS53で算出した角度データ304eで示される。また、上述したように、位置は、変数iおよび変数jで指定される。そして、ステップS59では、第1分類かどうかを判断する。ここでは、CPU20は、変数iと変数jとで指定されている座標が、図6(B)の白丸で示した複数の頂点のうちのいずれかの頂点の座標であるかどうかを判断する。白丸で示した複数の頂点の座標は上述したとおりであり、たとえば、データ記憶領域304に記憶されている。
【0126】
ステップS59で“YES”であれば、つまり、第1分類の頂点であれば、ステップS61で、第1分類についての変数kで決まる色のパラメータを数式に設定して、ステップS63で、変数kで指定される色の色値を算出し、ステップS65で、算出した色値を記憶する。ただし、ステップS65では、ステップS63で算出された色値Valは、0〜255の数値(8ビットのデータ)に変換されて記憶される。また、ステップS65では、座標(i,j)について、変数kで指定される色の色値のデータが色データ304fの一部としてデータ記憶領域304に記憶される。これらのことは、後述するステップS75についても同じである。
【0127】
そして、ステップS67で、変数kが「2」であるかどうかを判断する。ステップS67で“YES”であれば、つまり、変数kが「2」であれば、座標(i,j)で指定される頂点の色R、G、Bの各色値を算出したと判断して、図18に示すステップS81に進む。一方、ステップS67で“NO”であれば、つまり、変数kが「2」でなければ、ステップS69で、変数kを1加算して(k=k+1)、ステップS61に戻る。したがって、次の色Gまたは色Bについての色値の算出処理が実行される。
【0128】
また、ステップS59で“NO”であれば、つまり、第2分類の頂点であれば、ステップS71で、第2分類についての変数kで決まる色のパラメータを数式に設定して、ステップS73で、変数kで指定される色の色値を算出し、ステップS75で、算出した色値を記憶する。
【0129】
そして、ステップS77で、変数kが「2」であるかどうかを判断する。ステップS77で“YES”であれば、つまり、変数kが「2」であれば、ステップS81に進む。一方、ステップS77で“NO”であれば、つまり、変数kが「2」でなければ、ステップS79で、変数kを1加算して、ステップS71に戻る。
【0130】
図18に示すように、ステップS81では、変数jが「8」であるかどうかを判断する。つまり、CPU20は、変数iが示すX座標で示されるすべての頂点についての色値が算出されたかどうかを判断する。ステップS81で“NO”であれば、つまり、変数jが「8」でなければ、ステップS83で、変数jを1加算して(j=j+1)、図17に示したステップS59に戻る。したがって、同じ行の次の列の頂点の色値の算出処理が実行される。一方、ステップS81で“YES”であれば、つまり、変数jが「8」であれば、ステップS85で、変数iが「14」であるかどうかを判断する。つまり、CPU20は、色変化画像106に含まれるすべて(135個)の頂点についての色値が算出されたかどうかを判断する。具体的には、CPU20は、算出結果のテーブルが完成したかどうかを判断する。
【0131】
ステップS85で“NO”であれば、つまり、変数iが「14」でなければ、ステップS87で、変数iを1加算するとともに(i=i+1)、変数jに0を設定して(j=0)、ステップS59に戻る。したがって、次の行の各列の頂点の色の算出処理が実行される。一方、ステップS85で“YES”であれば、つまり、変数iが「14」であれば、すべての頂点についての色値が算出されたと判断し、ステップS89で、画像生成回路32の専用の回路にポリゴンの頂点以外の色を補間させて、図16に示したゲーム処理(ステップS7のゲーム画像の生成処理)にリターンする。したがって、算出された色値に従う色が各分割領域106a(ポリゴン)の各頂点に付され、各頂点以外の色が補間された色変化画像106が生成され、カードオブジェクト102の画像が生成される。そして、図2に示したようなカード表示画面100が表示装置36に表示される。
【0132】
この実施例によれば、ゲーム装置の姿勢および色変化画像における各分割領域の各頂点の位置に応じて、当該色変化画像の色を周期的に変化させるので、表示装置とプレイヤの相対位置関係に応じて、きらきら光るようにゲーム画像を表示することができる。したがって、たとえば、きらきら光るカードと同じように見える、カードオブジェクトを表示することができる。つまり、プレイヤからの見方に応じてカードオブジェクトに表示されたゲームキャラクタなどのキャラクを豪華に見せることができる。
【0133】
なお、この実施例では、それぞれが2次元画像である、背景画像、色変化画像および模様画像を合成した合成画像を生成し、キャラクタ画像の背面に合成画像を配置したカードオブジェクトを表示装置に表示するようにしたが、これに限定される必要はない。たとえば、3次元の仮想ゲーム空間内において、キャラクタ画像、色変化画像、背景画像および模様画像で構成されるカードオブジェクトを描画(生成)して、スクリーン座標に変換して表示装置に表示するようにしてもよい。
【0134】
また、この実施例では、カードオブジェクトをきらきら光るように表示するようにしたが、これに限定される必要はない。単にゲーム画像の背景をきらきら光るように表示させ、背景の前面に華やかに表現したいキャラクタまたはオブジェクトを表示するようにしてもよい。
【0135】
さらに、この実施例では、ジャイロセンサの出力に基づいてゲーム装置または表示装置の姿勢を検出するようにしたが、これに限定される必要はない。たとえば、ジャイロセンサに代えて、加速度センサを用いることができる。加速度に基づいてゲーム装置の姿勢を検出する方法は周知であるため、説明は省略する。また、イメージセンサを用いることもできる。かかる場合には、カメラの撮影画像からゲーム装置を使用するプレイヤの顔を認識し、プレイヤの顔に対するゲーム装置(表示装置)の位置または姿勢(向き)を検出するようにしてもよい。かかる場合には、たとえば、ゲーム装置(表示装置)に対してプレイヤが顔を向けている(正対している)場合をゲーム装置(表示装置)の基準の位置として、ゲーム装置(表示装置)の位置または姿勢が検出される。逆に、ゲーム装置(表示装置)を動かさず、プレイヤが顔を移動させた場合に、その位置に応じて画像を変化させるようにしてもよい。いずれの場合でも、表示装置とプレイヤの相対的な位置関係に応じて画像を変化させることができる。すなわち、プレイヤからの見方に応じて表示が変わることになり、実際のホログラムカードやキラカードのような豪華な見た目を表現することができる。
【0136】
さらにまた、この実施例では、3軸のジャイロセンサを用いて、3軸のそれぞれの軸回りの角度を検出するようにしたが、これに限定される必要はない。いずれか1軸またはいずれか2軸の軸周りの角度を検出するようにしてもよい。ただし、2軸の軸周りの角度を検出する場合には、その平均値が色値の算出に用いられる。
【0137】
さらにまた、この実施例では、ゲーム装置の姿勢および色変化画像における各分割領域の各頂点の位置に応じて、予め定められた遷移で色が変化するように色変化画像の色を設定するために、周期的に変化するcos関数を用いるようにしたが、これに限定される必要はない。色が遷移するように変化するのであれば、他の関数を用いたり、他のアルゴリズムを用いたりすることもできる。他の関数の例としては、sin関数を用いることができる。また、周期的に変化する関数であれば、たとえば、サイクロイドまたは三角波のような他の波形の関数を用いることもできる。
【0138】
また、この実施例では、キャラクタ画像の背面の背景画像の明るさを変化させるようにしてあるが、背景画像のみならずキャラクタ画像の一部についても明るさを変化させるようにしてもよい。かかる場合には、たとえば、キャラクタ画像の一部を透明または半透明にして、背景画像の明るさの変化がその一部に現れるようにすることができる。または、キャラクタ画像の一部を背景画像として表示し、背景画像の明るさを変化させるようにしてもよい。このようにすれば、たとえば、キャラクタの身体の一部、キャラクタが身につけている装飾品、キャラクタが所持する武器またはアイテムなどを背景とともにきらきら光らせることができる。
【0139】
さらに、この実施例では、携帯型のゲーム装置または携帯端末を用いた場合について説明したが、ノートPC、PDA、タブレットPCなどの他の携帯端末を用いることもできる。
【0140】
また、携帯型のゲーム装置等に限定されることはなく、据置型のゲーム装置またはデスクトップPCのような他の機器を用いることもできる。ただし、据置型のゲーム装置またはデスクトップPCのような他の機器を用いる場合には、プレイヤがコントローラの姿勢を変化することに応じて、色変化画像の色値が変化される。
【0141】
したがって、かかる場合には、コントローラ(入力装置)にジャイロセンサが内蔵される。ただし、コントローラの姿勢を変化させることには、コントローラに設けられるジョイスティックまたは十字キーのような方向入力キーが操作されることが含まれてもよい。かかる場合には、ジャイロセンサは不要である。
【0142】
また、ゲーム装置に有線または無線によって通信可能に接続されるコントローラに表示装置が設けられる場合には、当該コントローラまたは当該コントローラに設けられた表示装置の姿勢に基づいて、きらきら光るように、カードオブジェクトのような所定の画像を当該表示装置に表示するようにしてもよい。
【0143】
なお、この実施例で示したゲームの内容、ゲーム装置の構成および具体的な数値は単なる例示であり、限定されるべきでなく、実際の製品に応じて適宜変更可能である。
【符号の説明】
【0144】
10 …ゲーム装置
20 …CPU
22 …RAM
24 …フラッシュメモリ
26 …ジャイロセンサ
28 …カメラ
30 …入力装置
32 …画像生成回路
36 …表示装置
38 …スピーカ
図1
図2
図3
図4
図5
図6
図7
図8
図9
図10
図11
図12
図13
図14
図15
図16
図17
図18