特表2015-520497(P2015-520497A)IP Force 特許公報掲載プロジェクト 2022.1.31 β版

知財求人 - 知財ポータルサイト「IP Force」

2015-520497固体酸化物燃料電池または固体酸化物電解電池およびそれら電池の動作方法
(19)【発行国】日本国特許庁(JP)
(12)【公報種別】公表特許公報(A)
(11)【公表番号】特表2015-520497(P2015-520497A)
(43)【公表日】2015年7月16日
(54)【発明の名称】固体酸化物燃料電池または固体酸化物電解電池およびそれら電池の動作方法
(51)【国際特許分類】
   H01M 8/02 20060101AFI20150619BHJP
   H01M 8/12 20060101ALI20150619BHJP
   H01M 8/04 20060101ALI20150619BHJP
【FI】
   H01M8/02 Y
   H01M8/12
   H01M8/02 E
   H01M8/04 T
【審査請求】未請求
【予備審査請求】有
【全頁数】39
(21)【出願番号】特願2015-516591(P2015-516591)
(86)(22)【出願日】2013年6月11日
(85)【翻訳文提出日】2015年1月28日
(86)【国際出願番号】EP2013062051
(87)【国際公開番号】WO2013186222
(87)【国際公開日】20131219
(31)【優先権主張番号】12171565.0
(32)【優先日】2012年6月11日
(33)【優先権主張国】EP
(81)【指定国】 AP(BW,GH,GM,KE,LR,LS,MW,MZ,NA,RW,SD,SL,SZ,TZ,UG,ZM,ZW),EA(AM,AZ,BY,KG,KZ,RU,TJ,TM),EP(AL,AT,BE,BG,CH,CY,CZ,DE,DK,EE,ES,FI,FR,GB,GR,HR,HU,IE,IS,IT,LT,LU,LV,MC,MK,MT,NL,NO,PL,PT,RO,RS,SE,SI,SK,SM,TR),OA(BF,BJ,CF,CG,CI,CM,GA,GN,GQ,GW,KM,ML,MR,NE,SN,TD,TG),AE,AG,AL,AM,AO,AT,AU,AZ,BA,BB,BG,BH,BN,BR,BW,BY,BZ,CA,CH,CL,CN,CO,CR,CU,CZ,DE,DK,DM,DO,DZ,EC,EE,EG,ES,FI,GB,GD,GE,GH,GM,GT,HN,HR,HU,ID,IL,IN,IS,JP,KE,KG,KN,KP,KR,KZ,LA,LC,LK,LR,LS,LT,LU,LY,MA,MD,ME,MG,MK,MN,MW,MX,MY,MZ,NA,NG,NI,NO,NZ,OM,PA,PE,PG,PH,PL,PT,QA,RO,RS,RU,RW,SC,SD,SE,SG,SK,SL,SM,ST,SV,SY,TH,TJ,TM,TN,TR,TT,TZ,UA,UG,US,UZ,VC
(71)【出願人】
【識別番号】507137184
【氏名又は名称】アッシュテセラミックス ソシエテ アノニム
【氏名又は名称原語表記】HTCERAMIX S.A.
(74)【代理人】
【識別番号】100105957
【弁理士】
【氏名又は名称】恩田 誠
(74)【代理人】
【識別番号】100068755
【弁理士】
【氏名又は名称】恩田 博宣
(74)【代理人】
【識別番号】100142907
【弁理士】
【氏名又は名称】本田 淳
(72)【発明者】
【氏名】ウィルマン、ザシャリエ
【テーマコード(参考)】
5H026
5H127
【Fターム(参考)】
5H026AA06
5H026CC03
5H026CC05
5H026CC08
5H026CC10
5H026CX01
5H026EE02
5H026HH03
5H026HH05
5H127AA07
5H127AC02
5H127AC05
5H127AC06
5H127AC07
5H127AC15
5H127BA05
5H127BA12
5H127BA36
5H127BB02
5H127BB12
5H127BB37
5H127CC03
5H127DB26
5H127DB36
5H127DC22
5H127DC25
5H127EE02
(57)【要約】
固体酸化物燃料電池または固体酸化物電解電池は、a)複数のカソード・アノード電解質ユニット(5)であって、それぞれが、酸化剤用の第1の電極(51)と、可燃性ガス用の第2の電極(53)と、第1の電極(51)と第2の電極(52)との間の固体電解質(52)と、を備えるカソード・アノード電解質ユニット(5)と、b)カソード・アノード電解質ユニット(5)間の金属インターコネクト(40)であって、可燃性ガス用のガス分配構造(11)を備え、カソード・アノード電解質ユニット(5)の前記第2の電極(53)と接触する第1のガス分配素子(10)と、酸化剤用のチャネル(20a)と調温流体用の別のチャネル(20b)とを備え、酸化剤用のチャネル(20a)が隣接するカソード・アノード電解質ユニット(5)の第1の電極(51)と接触する第2のガス分配素子(4)と、を含み、第1のガス分配素子(10)と第2のガス分配素子(4)が電気的に接続される金属インターコネクト(40)と、を備える。
【特許請求の範囲】
【請求項1】
固体酸化物燃料電池または固体酸化物電解電池であって、
a)複数のカソード・アノード電解質ユニット(5)であって、それぞれが、
酸化剤用の第1の電極(51)と、
可燃性ガス用の第2の電極(53)と、
前記第1の電極(51)と前記第2の電極(52)との間の固体電解質(52)と、
を備えるカソード・アノード電解質ユニット(5)と、
b)前記カソード・アノード電解質ユニット(5)間の金属製のインターコネクト(40)であって、
前記可燃性ガス用のガス分配構造(11)を備え、前記カソード・アノード電解質ユニット(5)の前記第2の電極(53)と接触する第1のガス分配素子(10)と、
前記酸化剤用のチャネル(20a)と調温流体用の別のチャネル(20b)とを備え、前記酸化剤用のチャネル(20a)が隣接するカソード・アノード電解質ユニット(5)の前記第1の電極(51)と接触する第2のガス分配素子(4)と、
を含み、前記第1のガス分配素子(10)と前記第2のガス分配素子(4)が電気的に接続されるインターコネクト(40)と、
を備える固体酸化物燃料電池または固体酸化物電解電池。
【請求項2】
前記調温流体用のチャネル(20b)が前記第1のガス分配素子(10)と接触する、請求項1に記載の燃料電池。
【請求項3】
前記第2のガス分配素子(4)が複数の波形を備え、前記波形が前記酸化剤用の複数のチャネル(20a)と前記調温流体用の複数の別のチャネル(20b)とを形成する、請求項1または2に記載の燃料電池。
【請求項4】
前記波形が波形金属シートから成る、請求項3に記載の燃料電池。
【請求項5】
前記波形が相互に平行に延在する複数のチャネル(20a、20b)を形成する、請求項4に記載の燃料電池。
【請求項6】
前記調温流体用のチャネル(20b)が前記第1のガス分配素子(10)に向けて開放される、請求項3〜5のいずれか一項に記載の燃料電池。
【請求項7】
前記チャネル(20a、20b)が波形形状、ジグザグ形状、断面台形状のうちの何れか1つの形状を有する、請求項3〜6のいずれか一項に記載の燃料電池。
【請求項8】
前記調温流体用のチャネル(20b)が入口端(20c)と出口端(20d)のみを備える閉チャネルとして形成されるように、前記第2のガス分配素子(4)が前記第1のガス分配素子(10)に接続される、請求項1〜7のいずれか一項に記載の燃料電池。
【請求項9】
前記第1のガス分配素子(10)が燃料入口側(2a)から燃料出口側(2b)へ延在することによって、前記第1のガス分配素子(10)内の前記可燃性ガスの流方向(9)を画定し、前記第2のガス分配素子(4)の前記チャネル(20a、20b)が流体の主流方向(9)に沿って延在する、あるいは前記主流方向(9)に略垂直に延在する、請求項1〜8のいずれか一項に記載の燃料電池。
【請求項10】
前記酸化剤用のチャネル(20a)が断面領域(20f)を有し、前記調温流体用のチャネル(20b)が断面領域(20e)を有し、前記2つの断面領域(20e、20f)の比が1:2〜2:1の範囲、好ましくは1:1である、請求項1〜9のいずれか一項に記載の燃料電池。
【請求項11】
前記カソード・アノード電解質ユニット(5)が流体の流れ方向(9)に沿った長さ(3a)と幅(3b)とを有し、前記長さ(3a)と前記幅(3b)の比が好ましくは1超、より好ましくは1.5超、最も好ましくは2超である、請求項1〜10のいずれか一項に記載の燃料電池。
【請求項12】
前記波形がピッチ(20g)を有し、前記ピッチ(20g)が2mm〜8mmの範囲である、請求項3〜10のいずれか一項に記載の燃料電池。
【請求項13】
前記波形が45度以上、より好ましくは60度超の傾斜角度(α)を有する、請求項12に記載の燃料電池。
【請求項14】
前記酸化剤用のチャネル(20a)および前記調温流体用のチャネル(20b)が1〜5mmの範囲の高さを有する、請求項1〜14のいずれか一項に記載の燃料電池。
【請求項15】
前記酸化剤用のチャネル(20a)が酸素含有ガス源と流体連通し、前記調温流体用のチャネル(20b)が別の調温ガスと流体連通するように構成されるマニホルドを備える、請求項1〜15のいずれか一項に記載の燃料電池。
【請求項16】
前記酸化剤用のチャネル(20a)および前記調温流体用のチャネル(20b)の両方が同じ酸素含有ガス源に流体連通するように構成されるマニホルドを備える請求項1〜14のいずれか一項に記載の燃料電池。
【請求項17】
前記第1のガス分配素子(10)が第1の開口(15)または第2の開口(6)を有する均質化素子である第2の層(3)を備え、前記第1の開口(15)の少なくともいくつかが長さ(28)および幅(29)を有し、前記長さ(28)が前記幅(29)よりも大きく、前記長さ(28)が流体の主流方向(9)を横切って延在する、請求項9〜16のいずれか一項に記載の燃料電池。
【請求項18】
前記第1のガス分配素子(10)が複数のチャネル、ピン、グリッド構造、および発泡体構造などの三次元構造のうち少なくとも1つを備える、請求項1〜17のいずれか一項に記載の燃料電池。
【請求項19】
前記第1のガス分配素子(10)のチャネルが少なくともバー素子(23)によって少なくとも部分的に遮断され、前記第2の層(3)が前記バー素子(23)をバイパスする開口(6)を備える、請求項18に記載の燃料電池。
【請求項20】
前記第1の層(2)の前記ガス分配構造(11)が、相互に並べられ前記燃料入口(2b)を前記燃料出口(2c)と接続する複数のチャネル(13)を備え、前記チャネル(13)を横切って延在する前記第1の開口(15)が、相互に並べられる少なくとも2つのチャネル(13)が前記第1の開口(15)と流体連通するような長さ(28)を有する、請求項17〜19のいずれか一項に記載の燃料電池。
【請求項21】
前記チャネル(13)が相互に平行に延在し、前記第1の開口(15)が前記チャネル(13)に垂直に延在する、請求項20に記載の燃料電池。
【請求項22】
前記チャネル(13)が放射方向に延在し、前記第1の開口(15)が周方向に延在する、請求項17〜20のいずれか一項に記載の燃料電池。
【請求項23】
前記第1のガス分配素子(10)および前記第2のガス分配素子(4)の少なくとも一方が型打ち抜き、型押し、ロール成形、打ち抜き、エッチング、または粉末冶金によって製造される、請求項1〜23のいずれか一項に記載の燃料電池。
【請求項24】
前記インターコネクト(40)または前記第1のガス分配素子(10)および前記第2のガス分配素子(4)の少なくとも一方が、特に共に溶接される金属層を備えることによって一体片を形成する、請求項1〜23のいずれか一項に記載の燃料電池。
【請求項25】
前記第2のガス分配素子(4)が少なくとも2つの部分から成り、前記少なくとも2つの部分が0.3mm以上の間隙幅を有する裂け目(4b)によって相互に分離される、請求項4に記載の燃料電池。
【請求項26】
固体酸化物燃料電池または固体酸化物電解電池の動作方法であって、前記固体酸化物燃料電池が、
a)複数のカソード・アノード電解質ユニット(5)と、
b)前記カソード・アノード電解質ユニット(5)間の金属製のインターコネクト(40)であって、
前記可燃性ガス用のガス分配構造(11)を備える第1のガス分配素子(10)と、
前記酸化剤用のチャネル(20a)と調温流体用の別のチャネル(20b)とを備える第2のガス分配素子(4)と、
を含むインターコネクト(40)と、
を備え、
少なくとも第1および第2の制御温度(T1、T2)が測定され、
前記第1の温度(T1)が前記第2のガス分配素子(4)に入る前記調温流体の温度または前記燃料電池の調温流体入口側で測定される代表温度であり、
前記第2の温度(T2)が前記第2のガス分配素子(4)を出る前記調温流体の出口温度、燃料電池スタックの温度、前記燃料電池の調温流体出口側で測定される代表温度のうちの1つであり、前記第2のガス分配素子(4)に供給される調温流体の量が前記第1および第2の温度(T1、T2)の温度差に基づき制御される、方法。
【請求項27】
前記第2のガス分配素子(4)に供給される調温流体の量が最高、最低、または公称温度差に基づき制御される、請求項26に記載の固体酸化物燃料電池または固体酸化物電解電池の動作方法。
【請求項28】
前記第2のガス分配素子(4)に供給される前記調温流体の量と温度(T1)が、前記第1および第2の制御温度(T1、T2)が定義された最低値と最高値の間で維持されるように制御される、請求項26または27に記載の固体酸化物燃料電池または固体酸化物電解電池の動作方法。
【請求項29】
前記チャネル(20a)の前記出口での前記酸化剤の酸素分圧が前記酸化剤の総圧力の5%超、好ましくは10%超であるように、前記酸化剤の流量が電気化学反応に必要な化学量論的流を超過して維持される、請求項26〜28のいずれか一項に記載の固体酸化物燃料電池の動作方法。
【請求項30】
前記酸化剤と前記調温流体とが厳密に分離された流路(O1、O2)内で循環する、請求項26〜29のいずれか一項に記載の固体酸化物燃料電池または固体酸化物電解電池の動作方法。
【請求項31】
前記調温流体が前記第2のガス分配素子(4)を加熱する、請求項30に記載の固体酸化物電解電池の動作方法。
【請求項32】
キャリアガスが前記酸化剤の前記流路(O1)に追加されて生成された酸素を回収し、前記インターコネクト(40)を出る前記キャリアガス内の酸素含有量を所定の範囲に維持するように前記キャリアガスの流量が制御される、請求項31に記載の固体酸化物電解電池の動作方法。
【請求項33】
前記キャリアガスが循環され、酸素が前記インターコネクト(40)を出る前記キャリアガスから抽出されて、酸素の豊富なガスを個別に回収する、請求項32に記載の固体酸化物電解電池の動作方法。
【請求項34】
酸素が前記インターコネクト(40)を出るときに個別に回収される、請求項31に記載の固体酸化物電解電池の動作方法。
【発明の詳細な説明】
【技術分野】
【0001】
本発明は固体酸化物燃料電池または固体酸化物電解電池に関する。本発明は固体酸化物燃料電池または固体酸化物電解電池の動作方法にも関する。
【背景技術】
【0002】
燃料電池は化学反応によって発電する装置である。各種燃料電池の中で、固体酸化物燃料電池(SOFC:solid oxide fuel cell)は、金属(たとえば、カルシウムまたはジルコニウム)酸化物の硬質のセラミック化合物を電解質として使用する。通常、固体酸化物燃料電池では、Oなどの酸化剤がカソードで酸素イオン(O2―)に還元され、H2ガスなどの可燃性ガスが酸素イオンで酸化されてアノードで水を形成する。
【0003】
SOFC燃料電池は燃料電池ユニットのスタックを備える。SOFC燃料電池ユニットはCAEユニットとも称されるカソード・アノード電解質ユニットと場合によってはカセットの形状のインターコネクトとの2つの主要構成要素から成る。インターコネクトは1つの燃料電池ユニットのCAEユニットを別の燃料電池ユニットのCAEユニットに電気的に接続して、各CAEユニットが生成する電力を結合させる働きをする。このようなインターコネクトは、平面状の高温燃料電池(SOFC)においてCEAユニットを電気的に接続するだけでなく、可燃性ガスと酸化剤をCEAユニットの各電極に輸送する機能も果たす。
【0004】
インターコネクトはCAEユニットの酸化側と還元側の両側で約500℃〜1100℃の超高温にさらされるため、固体酸化物燃料電池にとって重大な問題点の1つである。このために、インターコネクト材料として金属よりもセラミックが長い間首尾よく使用されてきた。しかしながら、このようなセラミックのインターコネクト材料は金属よりもずっと高価である。金属製インターコネクトは比較的製造および処理し易い一方で、動作中、一部では、インターコネクト・アノード/カソードインタフェースでのCrなどの金属酸化物の形成により一般に電力低下率が高い。低温作動型(600〜800℃)SOFCが開発されるにつれ、ニッケルおよび鋼ベースの合金の方が有望になってきている。
【0005】
特許文献1は可燃性ガスと酸化剤のためのインターコネクトを開示している。平面状のCAEユニットは、隣接するCAEユニット間に配置される平面状の金属板として形成される相互接続層を挟んで相互に積層される。燃料と酸化剤それぞれの通路がアノード層およびカソード層に形成される。
【0006】
SOFC燃料電池スタックの超高動作温度のため、CAEユニットと、CAEユニットに反応体を供給し、反応体をそこから外へ導くインターコネクト構造との熱膨張と熱機械的挙動の影響も考慮に入れておかねばならない。具体的には、ガス分配構造は、燃料電池の流れの分配に影響を及ぼす変形を起こすことがある。さらに、電極およびインタフェースは、過剰な温度に達するとすぐに劣化しがちである。
【0007】
特許文献2はSOFC燃料電池スタックを開示している。複数のCAEユニットがインターコネクタと導電性接触しており、インターコネクタは接触板と流体誘導素子とを備え、流体誘導素子は成形シート状金属部として形成され、溶接または半田付けによって液密に接触板と接続される。それによって、接触板は、燃料電池ユニットの動作中に可燃性ガスまたは酸化剤が流れる流体チャンバを画定する。成型シート金属部には複数の波形が配置され、波形構造を形成する。波形構造はそれ自体、動作中のCAEユニットおよび流体誘導素子の熱膨張の一部を相殺することができる。しかしながら、各電極と波形の山または谷との局所的接触により、流体誘導素子は電極の熱膨張を追随せざるを得ない。流体誘導素子が十分な弾性を有していない場合、熱膨張による歪みが電極に導入される。電極は固体の脆性セラミックから形成される。よって、大きな歪みが電極に導入される場合、亀裂が形成されて、最終的に電極を破壊する場合がある。さらに、流体誘導素子とアノード間の溶接または半田付け接続は構造の剛性に寄与する。具体的には、異なる熱膨張係数の材料が使用される場合、最終的に歪みは電極の損傷につながり、関連するセル膜を損なうおそれがある。具体的には、セル膜が破壊されて自然発火を招く場合、反応体の流れが変化する、あるいは反応体の直接混合を導くことがある。よって、局所的熱膨張を誘発し、局所的応力をさらに増大させる、局所的に高温な地点が生じかねない。
【0008】
したがって、上記課題の1つまたはそれ以上に対応し、より信頼性が高く効率的な固体酸化物燃料電池を実現する固体酸化物燃料電池用の改良インターコネクトを開発する必要がある。
【0009】
よって、本発明の目的は、既存のSOFC燃料電池を改良し、信頼性を高め、安価な製造を可能にすることである。
【先行技術文献】
【特許文献】
【0010】
【特許文献1】米国特許第7632586号明細書
【特許文献2】米国特許第6670068号明細書
【発明の概要】
【0011】
本発明の目的は、請求項1の特徴を備える固体酸化物燃料電池によって達成される。
従属請求項2〜25は本発明の別の有益な構成または実施形態に関する。本発明の目的は、請求項26の特徴を備える固体酸化物燃料電池の動作方法によって達成される。請求項27〜34は別の有益な方法ステップに関する。
【0012】
本発明の目的は具体的には、
固体酸化物燃料電池であって、
a)複数のカソード・アノード電解質(CAE:cathode−anode−electrolyte)ユニットであって、それぞれが、
酸化剤用の第1の電極と、
可燃性ガス用の第2の電極と、
第1の電極と第2の電極間の固体電解質と、
を備えるカソード・アノード電解質と、
b)カソード・アノード電解質間の金属インターコネクトであって、
可燃性ガス用のガス分配構造を備え、カソード・アノード電解質の第2の電極と接触する第1のガス分配素子と、
酸化剤用のチャネルと調温流体用の別のチャネルとを備え、酸化剤用のチャネルが隣接するカソード・アノード電解質の第1の電極と接触する第2のガス分配素子と、
を含み、第1のガス分配素子と第2のガス分配素子が電気的に接続される金属インターコネクトと、
を備える固体酸化物燃料電池によって達成される。
【0013】
本発明の目的は、さらに具体的には、固体酸化物燃料電池または固体酸化物電解電池の動作方法であって、該電池が、
a)複数のカソード・アノード電解質ユニットと、
b)複数のカソード・アノード電解質ユニット間の金属インターコネクトであって、
可燃性ガス用のガス分配構造を備える第1のガス分配素子と、
酸化剤用のチャネルと調温流体用の別のチャネルとを備える第2のガス分配素子と、
を含むインターコネクトと、
を備え、
少なくとも第1および第2の制御温度が測定され、
第1の温度が第2のガス分配素子に入る調温流体の温度または燃料電池の調温流体入口側で測定される代表温度であり、
第2の温度が第2のガス分配素子を出る調温流体の出口温度、燃料電池スタックの温度、燃料電池の調温流体出口側で測定される代表温度のうちの1つであり、
第2のガス分配素子に供給される調温流体の量が、第1および第2の温度差に基づき制御される方法によって達成される。
【0014】
本願の発明は固体酸化物燃料電池(SOFC)を開示することによって説明される。本発明による実施形態は固体酸化物電解電池(SOEC)として使用することもできる。本願で固体酸化物燃料電池を説明することによって、電解装置として使用されるのと同じ実施形態も意味し、特に明記されないかぎり、請求項によってもカバーされる。
【0015】
本発明による固体酸化物燃料電池は、複数のカソード・アノード電解質ユニットと、カソード・アノード電解質ユニット間の金属インターコネクトとを備え、インターコネクトは、
可燃性ガス用のガス分配構造を備え、カソード・アノード電解質ユニットと接触する第1のガス分配素子と、
酸化剤用のチャネルと調温流体用の別のチャネルとを備え、酸化剤用のチャネルが隣接するカソード・アノード電解質ユニットと接触する第2のガス分配素子とを含み、第1のガス分配素子と第2のガス分配素子が電気的に接続される。したがって、インターコネクトはカソード・アノード電解質ユニットを隣接するカソード・アノード電解質ユニットに電気的に接続する役割を果たす。加えて、インターコネクトは可燃性ガスと酸化剤を輸送する役割も果たす。インターコネクトは調温流体用のチャネルをさらに備え、特にカソード・アノード電解質ユニットを冷却する(主にSOFCユニット)あるいは加熱する(主にSOECユニット)。
【0016】
好適な実施形態では、燃料電池(または電解装置)用の第1のガス分配素子は第1の層と第2の層を備え、第1および第2の層にはガス分配構造が配置されて可燃性ガス用のパターンを形成する。上記パターンによって第1の層と第2の層との間に形成されるガス分配構造へ可燃性ガスを送るために入口開口部が設けられ、ガス分配構造からの反応生成物を排出するために出口開口部が設けられる。第2のガス分配素子である支持層は、反応流体または第1の層の温度を調節し、ガス分配構造を流れる反応流体に均質な温度分布を提供するために設けられる。
【0017】
2つの選択肢を結びつけるために「または」という表現が本明細書で使用される場合、両選択肢の組み合わせとも、片方のみの選択肢とも解釈することができる。具体的に燃料電池に言及されていない場合、特徴は燃料電池または電解装置のいずれかに適用することができる。
【0018】
好都合なことに、支持層とも称される第2のガス分配素子は第1のガス分配素子側に配置され、第2のガス分配素子は第1のガス分配構造の反対側に延在する。具体的には、第1のガス分配構造および第2のガス分配構造の少なくとも一方はチャネルシステムとして構成することができる。
【0019】
一実施形態によると、第2のガス分配素子に複数の波形が配置される。具体的には、波形は相互に平行に延在する複数の通路を形成することができる。一変形によると、通路は第1の層である第1のガス分配素子に向けて開放させることができる。具体的には、通路は波形形状、ジグザグ形状、および断面台形状のうちの何れか1つの形状を有することができる。もしくは、またはさらに、通路は閉じたチャネル、特に管状チャネルとして形成することができる。このような管状チャネルは具体的には、円形または矩形断面を有することができる。通路は入口開口部から出口開口部まで流体の主流方向にほぼ沿って延在することができる。
【0020】
一実施形態によると、第1のガス分配素子は第1および第2の層を備え、第2の層は開口を有する均質化素子であり、開口は長さと幅を有し、長さは幅よりも大きく、長さは流体の主流方向を横切って延在する。上記第1の層の反応流体流用のパターンは、複数のチャネル、ピン、グリッド構造、発泡体構造などの三次元構造のうち少なくとも1つを備えることができる。別の実施形態では、第1の層のチャネルは少なくともバー素子によって少なくとも部分的に遮断される。一実施形態によると、第2の層の第2の開口の少なくともいくつかは穴として成形され、第2の開口の長さがバー素子の幅よりも大きいため、第2の開口がバー素子をバイパスすることができる。
【0021】
固体酸化物燃料電池の動作方法は、このように第1のガス分配素子を通って可燃性ガスを、第2のガス分配素子に沿って酸化剤を流すステップを備える。第1のガス分配素子は第1の層と第2の層を備え、第1および第2の層には流体流用のパターンが設けられて、第1のガス分配構造が第1または第2の層の少なくとも一方に形成される。酸化剤は第2のガス分配素子を流れ、第2のガス分配素子は第1のガス分配素子に電気的に接続される。好都合なことに、第1の層、可燃性ガス、カソード・アノード電解質ユニットの調温のために第2のガス分配素子が設けられる。
【0022】
該方法が固体酸化物燃料電池に適用される場合、可燃性ガスの流体がカソード・アノード電解質ユニットに電子源を提供し、酸化剤がカソード−電解質−アノードユニットに電荷担持イオンを提供するため、電荷担持イオンが電解質を横断し、電解質で電気化学反応を発生させることによって、電子を解放し電流を生成することができる。電子は、2つのカソード・アノード電解質ユニット間の導電性チャネルを提供するインターコネクトを介して供給または放出される。
【0023】
固体酸化物燃料電池(SOFC)用の第1および第2のガス分配素子により、可燃性ガスと酸化剤、ひいては燃料電池の燃料電極上のガスの適切な分配だけでなく、燃料電極との適切な電気接触も可能になる。よって、本発明はガス分配素子と、燃料電池または電解装置スタックにおけるガス分配素子とその作製にも関する。燃料電池は通常、複数の単位セルからなる燃料電池スタックとして構成される。単位セルは、用途に必要な電圧および電力出力レベルを達成するようにモジュール式に燃料電池スタックに組み合わせることができる。この積層は、導電性インターコネクトを介して複数の単位セルを直列接続することを含む。単位セルは具体的にはセル膜として構成することができる。
【0024】
固体酸化物燃料電池または電解装置の場合、効率を最大化し、信頼性の高い動作を保証するため、可燃性ガスが均質に燃料電極に分配されることが必須である。これには、チャネルシステムまたは多孔構造などの第1のガス分配素子のガス分配構造が均質なガス流への抵抗、均等な圧力低下をもたらすことが必要である。チャネル構造に関しては、通常、非常に正確な形状で提供する必要があり、その結果、非常に厳密な製造公差を含み、高額な製造コストを招く。
【0025】
固体酸化物燃料電池のいずれかの側に置かれ、2個の金属製インターコネクト間に挟まれるセラミックガス分布層は、製造がより単純で材料が安価になるためにスタック全体のコストが低減される。
【0026】
一実施形態によると、第1の層のガス分配構造は少なくともバー素子によって少なくとも部分的に遮断される。バー素子は第1の層のガス分配構造を通る流体流にとっての障害とみなされる。バー素子は、流体流を主流方向の進行から逸脱させる、あるいは流体チャネルの水力直径を局所的に制限する任意の種類のバリアまたはスロットル素子とすることができる。
【0027】
第2の層の第1または第2の開口の少なくともいくつかは孔、具体的には穴の形状をとることができる。よって、第1および第2の層は少なくとも1つのシート状金属から成るガス分配素子を形成する。ガス分配素子では、少なくとも1つのシート状金属層が多孔層に面するチャネル構造を形成する。多孔層の特徴は、燃料分配チャネルに略直角に延在し、近傍環境のいくつかのチャネル内のガスを流方向に沿って均等な間隔で混合させる一連の細長穴を有する点である。
【0028】
有利なことに、孔の長さはバー素子の幅よりも大きい。したがって、第1または第2の反応流体のいずれかはバー素子によって形成される障害を乗り越えることができるため、流体は主流方向から逸脱して、あるチャネルを流れる流体流と隣接チャネルを通過する流とが混じり合うことが可能になる。一実施形態によると、特に孔として成形された開口の一部が幅よりも大きな長さを有し、長さまたは幅が流体の主流方向に延在する。具体的には、第1の開口の幅が流体の主流方向に延在する、あるいは第2の開口の長さが流体の主流方向に延在する。第1の層に配置されるガス分配構造と、第1の開口および第2の開口の少なくとも1つは流体接触する。
【0029】
追加層を形成する支持層は、第1または第2の反応流体のいずれかを電極に均等分配するために設けることができる。一実施形態によると、それぞれの反応流体用の複数の入口開口部が第1および第2の層の少なくとも一方に設けられる。複数の入口開口部を設けることによって、より均等な流体流分配を実行することができる。もう1つの利点はより均等に熱を分布させて、カソード・アノード電解質ユニットの反応面全体をより有効に活用することである。
【0030】
さらに、流体流のパターン、特に第1または第2の開口の少なくともいくつかを形成するガス分配構造は型打ち抜きまたはエッチングによって作製することができる。別の実施形態によると、支持層は第1の層との一体片を形成する。一実施形態によると、第1の層は、孔を有する第1のシートとベース層を形成する第2のシートとを備える。支持層は、ベース層または第1の層の反対側に配置することができる。
【0031】
さらに、本発明は、先行する実施形態のいずれかによるガス分配素子を備える燃料電池または電解装置に関する。
具体的には、第1の開口の総開口面積はカソード・アノード電解質ユニットの陰極の総接触面の20%以上、好ましくは総接触面の約30%以上、最も好ましくは総接触面の約50%以上である。それによって、ガス分配素子を流れるガスの横方向分配が達成され、より均質的な流体分配、ひいてはより均一な流体温度が可能になる。
【0032】
FCSOの主要用途は、遠隔発電、広域発電、熱電気複合利用(CHP)、トラック、バス、船舶用の補助電源装置(APU)、携帯用電源、効率的な生物ガス変換などの分野である。
【0033】
本発明のこれらおよびその他の特徴と利点は、添付図面と併せ、本発明の具体的な例示である実施形態の以下の説明を読むことによって、より完全に理解されるであろう。図面において、類似の参照符号は類似の構成要素を指す。燃料電池との組み合わせにおいて本発明を詳細に説明する。本発明は電解装置も対象とすることは自明である。
【図面の簡単な説明】
【0034】
図1】SOFCシステムの概略図である。
図2】第1のガス分配素子の等角図である。
図3】本発明の第1の実施形態による単位セルの断面図である。
図4図3の単位セルの展開図である。
図4A】第2のガス分配素子の拡大図である。
図4B】第1のガス分配素子の別の実施形態の展開図である。
図4C】第1のガス分配素子の別の実施形態の展開図である。
図4D】第2の層である均質化層の別の実施形態を示す図である。
図4E】第2の層である均質化層の別の実施形態を示す図である。
図4F】第1および第2のガス分配素子を備える単位セルの別の実施形態である。
図4G】第2のガス分配素子の断面図である。
図4H】第2のガス分配素子の別の実施形態を示す図である。
図5】ガス分配素子の2個の隣接層の部分上面図である。
図6A】ガス分配素子の多孔層の部分上面図である。
図6B図6Aの線A−Aに沿った断面図である。
図6C図6Aの線B−Bに沿った断面図である。
図6D】支持層のない理想的なガス分配素子の図4の線C−Cに沿った断面の拡大図である。
図6E】均質化素子層のないガス分配素子の断面図である。
図6F】均質化素子層を備えるガス分配素子の図4の線C−Cに沿った断面の拡大図である。
図6G】ガス分配素子を流れる可燃性ガスの理想的な流状態を示す概略図である。
図6H】ガス分配素子を流れる可燃性ガスの実際の流状態を示す概略図である。
図6I】別のガス分配素子を流れる可燃性ガスの実際の流状態を示す概略図である。
図6K】均質化素子層のないガス分配素子の断面図である。
図6L図6Kに示すものと類似するが均質化素子層を備えるガス分配素子の断面図である。
図7A】燃料電池ユニットのガス分配層を流れる可燃性ガスの理想的な流状態を示す概略図である。
図7B】燃料電池ユニットを流れる可燃性ガスの最適に設計された実際の流状態を示す概略図である。
図7C】従来技術による燃料電池ユニットを流れる可燃性ガスの流状態を示す概略図である。
図7D図7Bに示す状態による流を示す燃料電池ユニットのスタックの図である。
図7E図7Cに示す状態による流を示す燃料電池ユニットのスタックの図である。
図8】スタックの燃料電池ユニットの複数の連続層の断面図である。
図8A図8の詳細断面図である。
図8B】燃料電池スタックの概略側断面図である。
図8C】燃料電池スタックの別の実施形態の概略側断面図である。
【発明を実施するための形態】
【0035】
図1は、本発明による固体酸化物燃料電池(SOFC)システム100を示す。固体酸化物燃料電池システムは、複数の燃料電池ユニット50から成る燃料電池スタック103を含むケース101を備え、本明細書では燃料電池ユニットは単位セル50とも称される。ケースは基部102に位置する。燃料電池システムまたは周辺機器は、反応体を加熱する熱交換器106と、正確な組成および正確な燃料電池への流量で反応体を供給する図示しない反応体作製ユニットとを含む。スタックには反応体排出素子104および105が配置される。
【0036】
スタックは特許文献1に示されるように構成され、特定の電極接触およびガス分配構造が適用される。従来技術では、この技術に基づくスタックが、約1kWの遠隔および微細熱電気複合利用(CHP)用途のために開発された。そのスタックは圧力低下が少ないことを特徴とし、45%超の電気効率で1kW/lまたは400mW/cmの電力密度を達成できる。スタックには改質天然ガス、改質ガス、または水素で燃料が供給される。このスタックは空気を外部に、燃料を内部に集配し、燃料排気流を回収する。排気流は燃焼後に使用する、あるいは改質のために再循環させる(改造された周辺機器の場合)ことができる。特許文献1の利用によりスタックの熱サイクル耐性が向上し、熱サイクルによるさらなる性能低下が回避される。
【0037】
本発明と特許文献1に開示される技術とを組み合わせた最近の2つの試作品を用い、性能の向上が測定された。燃料として水素を用いた場合61%、メタンを用いた場合69%に達する効率で、最大燃料変換94%が達成された。さらに、複合型の短いスタックに大きな損傷を与えることなく、最大50回の熱サイクルが行われた。この結果は、特許文献1に開示されるような反応体流の単独処理に基づく以前の結果を大幅に上回る。
【0038】
可燃性ガスの分配のため、図2に詳細に示す第1のガス分配素子10が予見される。インターコネクト40は第1のガス分配素子10と第2のガス分配素子4を備える。インターコネクト40は通常、2つの隣接するカソード・アノード電解質ユニット5間に配置される。単位セル50とは、カソード・アノード電解質ユニット5とインターコネクト40とを備えるユニットと理解するものとする。
【0039】
第1のガス分配素子10は少なくとも可燃性ガスを各電極に供給するために使用される。
第2のガス分配素子4は、各電極に酸素を含有する反応体、すなわち酸化剤を供給するために使用される。図2に開示される第1のガス分配素子10は燃料入口16と燃料出口18とを有し、入口16から供給される燃料は入口16から出口18まで第1のガス分配素子10内を直線の流方向9に流れる。図2では、第1の層2は第2の層3の下方に配置される。
【0040】
燃料電池として動作させるには、酸素を含有する反応体が、カソードの役割を果たす正酸素電極51に供給される。
単位セル50を電解装置として動作させるには、酸素を含有する反応体が、アノードの役割を果たす同じ正酸素電極51に供給される。
【0041】
有利な実施形態では、CAEカソード・アノード電解質ユニット5の負電極53に可燃性ガスを供給するためにガス分配素子10が使用される。インターコネクト40は、酸素を含有する反応体用の流体連通するチャネルを有する第2のガス分配素子4をさらに備え、酸素を含有する反応体を隣接するCAEカソード・アノード電解質ユニット5の正酸素電極51に接触させる。
【0042】
大抵の場合、酸素含有反応体は空気であるが、純酸素または酸素含有ガスもインターコネクト40に供給することができる。第2の反応体である可燃性ガスは通常、H、CO、HO、CO、メタン、アンモニア、その他の炭化水素または任意の希釈剤の混合物を含む。
【0043】
好適な実施形態では、可燃性ガスはガス分配素子10内に分配される。したがって、CAEカソード・アノード電解質ユニット5の陰極53はガス分配素子10の第2の層3に面している。
【0044】
第1のガス分配素子10は、逆に動作する電解装置に使用することもできる。燃料電池として動作させるには、酸素を含有する反応体がカソードの役割を果たす正酸素電極に供給される。
【0045】
単位セルを電解装置として動作させるには、酸素を含有する反応体がアノードの役割を果たす正酸素電極に供給される。
インターコネクト40は燃料電池スタック103の2つの必須機能を組み合わせる。1つが電極51、53からの集電であり、もう1つが反応体、特に燃料と、CAEカソード・アノード電解質ユニット5間およびCAEカソード・アノード電解質ユニット5上の酸素含有ガスの集配である。
【0046】
図3に開示されるように、インターコネクト40により単位セル50のガス分配素子を一体化させ、参照符号1、2、3、4によって示されるような機械加工していない薄金属シートを使用することができ、高価な成形バイポーラ板の代わりに、そうした金属シートはたとえば型打ち抜き、打ち抜き、ロール成形、型押し、またはエッチングなどの安価な工程で製造することができる。ベース層1、第1の層2、第2の層3および支持層4の少なくとも一つは、型打ち抜き、型押し、打ち抜き、エッチング、または高温圧縮もしくは粉末冶金などのその他の処理によって製造することができる。第1のガス分配素子10は、ベース層1、第1の層2、第2の層3またはそれらの任意の組み合わせを、電気接触または封止もしくはその両方のために溶接、鑞付け、反応接合、またはそれらの任意の組み合わせなどの適切な接合技術を使用して接合するように製造することができる。同様に、第2のガス分配素子4は、支持層を形成する、あるいは支持層とベース層1を結合することによって製造することができる。
【0047】
好適な適用によれば、提案する燃料電池スタック103は、16〜5000Wの公称電力に相当する1〜100個の単位セル50を含む。
図3に示す実施形態は、カソード・アノード電解質ユニット5とインターコネクト40とを備える単位セル50の配置の断面を示しており、インターコネクトは第1のガス分配素子10と第2のガス分配素子4を備える。
【0048】
図3に示す実施形態に係る第1のガス分配素子10はベース層1、第2の層3、第1の層2からなる。カソード・アノード電解質ユニット5は第1の電極51、第2の電極53、第1の電極51と第2の電極53の間に挟まれる電解質52を備える。単位セル50は、カソード・アノード電解質ユニット5、接触層55、ガス分配素子10の縁部を気密封止する側方封止31も備える。単位セル50は、酸素を含有する第1の反応流体を第1の電極51に供給する第2のガス分配素子4もさらに備える。燃料を含む第2の反応流体は、第1の層2と第2の層3の上方の第2の電極53に供給される。
【0049】
図4は、CAEユニット5とインターコネクト40とを備える燃料電池ユニット50の展開図である。CAEユニット5は第1の電極51、第2の電極53、第1の電極51と第2の電極53の間に挟まれる電解質52を備える。通常は、セラミックまたは金属もしくはその両方からなるガス分配層54、55が電極51、53の両側に配置される。電極51、53は図4には示されていないが、たとえば図8Aには示されている。
【0050】
図4に示す第1のガス分配素子10の例はベース層1、第1の層2、第2の層3を備え、第1の層2と第2の層3にはガス分配構造11が配置されて流体流のパターンを形成する。図4に開示される第1の層2は隣り合うように並べられる多数のチャネル13によって流パターンを画定するため、第1の層2に入る可燃性ガスは流体の主流方向9に流れることができる。チャネル13は直線方向に延在する。チャネル13は好ましくは、入口とも称される入口側2bで第1の層2の一方の側を始端とし、出口とも称される出口側2cで第1の層2の他方の側を終端とすることで、入口側2bが可燃性ガス供給口9aと接続され、出口2cが排ガス出口9bと流体接続される。図4は、図4Aに開示されるようなチャネル20を有する波形金属シートとして示される第2のガス分配素子4も示す。図3は線C−Cに沿った燃料電池ユニット50の断面図である。第1のガス分配素子10について説明する。第1の層2は、相互に間隔をおいて配置され、その間にチャネル13を形成する複数のチャネルバー2aを備える。図4に開示されるように、第1の層2は、直線方向に延在し、入口2bと出口2cでそれぞれチャネル13と流体接続するチャネル12および14を備えてもよい。
【0051】
第2の層3は、隣り合うように並ぶ少なくとも2つのチャネル13を流体接続して、各チャネル13の流体量を相殺し均等化する開口15を備えた均質化素子である。図3では、開口15は3個のチャネル13を流体接続していることが開示されている。第2の層3は、長さ28と幅29とを有する矩形開口部として構成される第1の開口15を有する。長さは幅よりも大きい。長さ28は流体の主流方向9を横切って延在する。幅29は流体の主流方向9に延在する。第2の層3は長さ7と幅8とを有する第2の開口6も有し、長さ7は幅8よりも大きく、幅8は流体の主流方向9を横切る方向に延在する。
【0052】
チャネル層とも称される第1の層2は複数の入口チャネル12、複数の連続するチャネル13、複数の出口チャネル14を有する。連続するチャネル12および13はバー素子23によって分離される。連続するチャネル13および14もバー素子23によって分離される。バー素子23はバー2aを接続するのに必要である。
【0053】
これらの第2の層3の第2の開口6は、特定の矩形に配列される、あるいは第1の層2に配置される入口チャネル12に対して傾斜するチャネル状構造をとる。これは図2に開示されるように、第1の層2のチャネル12、13、14内を流れる流体が、第1の層に配置される第1の層2の一部であるバー素子23によって第2の層3の開口6に向けて方向付けられるという利点を有する。よって、開口6はバー素子23に開口6を横断させることによって連続するチャネル12と13、連続するチャネル13と13、または連続するチャネル13と14間の流体通路を形成する。流体がバー素子23上を流れる場合は常に、バー素子23上の開口6に入り、連続するチャネル13と14にそれぞれ分配される。上記実施形態の1つの利点は、第1の層2と第2の層3が薄金属シートの使用によって非常に安価に製造され得ることである。
【0054】
有利には、各入口チャネル12は連続するチャネル13および出口チャネル14と連通する。これらのチャネル12、13、14は同じ断面を有してもよく、それぞれの背後に配置してもよい。有利には、複数の入口チャネル12、連続するチャネル13、出口チャネル14は図4に開示されるようなものと予測される。各入口チャネル12は対応する隣接する入口チャネル12と平行に配置され、同じことが連続するチャネル13または出口チャネル14にも当てはまる。
【0055】
第1の層2と第2の層3は図4に示すように別々のシートに形成することができるが、単独のシートに結合させてもよい。さらに、第1の層2は、チャネル12、13、14に対応する孔を有し、チャネル12、13、14用のベースを形成するベースシート1に並んで配置されるシートとして作製することができる。この解決策はチャネルの作製にとって有益である。
【0056】
さらに、孔には考えられる様々な形状が適用可能である。孔は簡便にシートから打ち抜く、レーザ切断する、あるいは層の鋳造または成形後に除去される消失インサートとしてエッチングまたは形成することができる。よって、ベース層1と第2の層3を別々のシートと見越しておくことで、製造が簡易化できる、あるいはより広範な層1、2、3の製造方法が適用できる。
【0057】
さらに、2個の入口開口部16および17が、可燃性ガスである燃料を備える反応体がガス分配素子10に進入できるように設けられる。さらに、2個の出口開口部18および19が、排ガスである流体の反応生成物がガス分配素子10を脱出できるように設けられる。
【0058】
好適な実施形態では、第2のガス分配素子4がベース層1側に配置され、ベース層1と接続される。図4は酸化剤Oの流路を示し、支持層がチャネル20a、20bである両側のチャネル20を有する。図4Aは支持層4の好適な構造の拡大図であり、酸化剤Oの流路は、2つの流路O1、O2となるようにチャネル20a、20bに分割され、各流路が支持層4の片方の側に沿ってチャネル20を流れる。
【0059】
図4Bはガス分配素子10の別の実施形態を示す。ベース層1と第1の層2は、単独部分から成る流パターンを画定する。本実施形態では、バー2aがベース層1と接続されるためにバー2aを保持するバー素子23の必要がなく、そのため、複数のチャネル13が相互に直線方向に延在することによって、チャネル13は、入口側2bを始端とし出口側2cを終端として、チャネルが入口側2bと出口側2cとを流体接続する。バー素子23が不要であるため、連続するチャネル12、13、14を流体接続するための開口6も図4Bに開示されるように第2の層3では不要である。
【0060】
図4Cはガス分配素子10の別の実施形態を示す。第1の層2は、金属発泡体片または金属メッシュ片などの多孔構造2dを備え、多孔構造はベース層1に配置される。第1の層2は入口側2bを始点とし出口側2cを終端とする流路を画定し、そのため、多孔構造は入口側2bと出口側2cとを流体接続して直線方向に延在する流路を画定する。
【0061】
図4Dは、第2の層3である均質化素子の別の実施形態を示す。矩形の第2の層3を示す図4Bに開示される実施形態とは異なり、図4Dは円形の第2の層3を示す。平行に延在するチャネル13を有する矩形の第1の層2を示す図4Bに開示される実施形態とは異なり、図4Dに開示される第2の層3に合わせて変更された第1の層は円形であり、放射方向に直線的に延在するチャネル13を備える。このチャネル13は燃料入口開口部16と同じ位置にある燃料入口2bの中心を始端とし、燃料出口2cが配置される周を終端として、好ましくは第1の層2および第2の層3を完全に囲むため、第1ガス分配素子10内の可燃性ガス9aは放射方向に流れる。数個のチャネル13のみを図4Dに示す。第2の層3は周方向に延在する複数の開口15を備え、開口15は隣接するチャネル13のいくつかが各々の開口15によって流体接続されるように第1の層2のチャネル13を横断する。したがって、図4Dに開示されるように第1の層2と第2の層3を備える第1ガス分配素子10は円形である。円形燃料電池ユニット50を作製するため、円形カソード・アノード電解質ユニット5を第2の層3の上に配置し、支持層4を第1の層2の下方に配置して、図4に開示されたものと類似した燃料電池ユニット50を達成することができるが、第1の層2のチャネル13と支持層4のチャネル20は放射方向に延在している。第2の層3の下に配置される第1の層2はピン、グリッド、メッシュ構造、または発泡体構造などの三次元構造であってもよく、第1の層2は円形であり、流体流9a、9b、9cは放射方向、特に入口2bから出口2cへの直線方向に延在し、第2の層3の第1の開口15は周方向に延在する。有利な一実施形態では、発泡体構造内にチャネルが存在しないが、発泡体の多孔構造により流体が発泡体内を流れて、第1の層2内の流体流9a、9b、9cの方向に流れる。
【0062】
図4Eは、周方向に延在する開口15を備える矩形状の第2の層3の別の実施形態を示す。図4Dに開示される第2の層3と異なり、図4Eに開示される第2の層3の開口15は、同様の寸法を持つ開口15の3つの群9xに配置されることによって、これらの群9xが相互に周方向にずれる。このような開口15の配列により、チャネル13を通過する燃料の流量の均等化効果が向上する。図4Eに開示する第2の層3は、第1の層2内の燃料がまず放射方向9uに、次いで方向9vに燃料出口2cまで流れるように、排ガスを燃料出口18/19に集める外周燃料出口2cを備える。
【0063】
図4Fは、CAEユニット5とインターコネクト40とを備える燃料電池ユニット50の別の実施形態を示す。インターコネクト40は第1のガス分配素子10と第2のガス分配素子4を備える。第1のガス分配素子10はチャネル13が固定されるベース板1と、開口3eを有する封止層3dから成る。開口3eはCAEユニット5のサイズに適合されているため、CAEユニットを開口3eに挿入し、CAEユニット5はチャネル13の真上に配置することができる。第2の分配素子4は既に図4に開示してあるように作製する。図4、4B、4Cに開示される実施形態と異なり、図4Fに開示される第1のガス分配素子10は第2の層3を備えていない、つまり均質化層3を備えていない。
【0064】
図4G図4Fの線D−Dに沿った詳細断面図であり、図4Gは、図4Fには示されない、第2のガス分配素子4の下方に配置されるCAEユニット5も含む。図4Gは、CAEユニット5とベース層1との間に配置される金属製の波形シートを詳細に示す。第2のガス分配素子4は接続部4cによってベース層1と接続されるため、第2のガス分配素子4とベース層1との間に電気を流すことができる。それらはたとえば接続部4cで共に溶接することができる。波形シートは波形形状、ジグザグ形状、または断面台形状を有する。波形はピッチ20gを有し、ピッチ20gは2mm〜8mmの範囲である。小さなピッチ20gの場合、波形シートとCAEユニット5間の接点の密度が高くなるため、波形シートと電気化学反応が生じる電解質52の位置との間を流れる電気のオーム抵抗が低くなるという利点がある。一方で、小さなピッチではチャネル20、20a、20bが非常に小さくなり、チャネル20を流れる流体の流抵抗が増大する。
【0065】
素子4のシート状金属厚は0.3〜1mmの範囲、より好ましくは0.3〜0.6mm、最も好ましくは0.5mmである。
好適な実施形態では、酸化剤用のチャネル20aは断面領域20fを有し、調温流体用のチャネル20bは断面領域20eを有する。2つの断面領域20e、20fの比は1:2〜2:1の範囲、好ましくは1:1である。
【0066】
好適な実施形態では、酸化剤用のチャネル20aと調温流体用のチャネル20bは1〜5mmの範囲の高さを有する。
好適な実施形態では、波形は45度以上、より好ましくは60度超の傾斜角度(α)を有する。
【0067】
好適な実施形態では、第1のガス分配素子10のチャネル13は燃料入口側2aから燃料出口側2bまで延在することによって、第1のガス分配素子10内の可燃性ガスの流方向9を画定し、第2のガス分配素子4のチャネル20a、20bは流体の主流方向9にほぼ沿って延在する、あるいは流体の主流方向9に略垂直に延在する。図4Gに開示されるように、好適な実施形態では、調温流体用のチャネル20bは第1のガス分配素子10に接触し、つまりチャネル20bは第1のガス分配素子10とベース層1に面して、チャネル20bを流れる調温流体をベース層1と直接接触させる。
【0068】
好適な実施形態では、波形は相互に平行に延在する複数のチャネル20a、20bを形成する。
好適な実施形態では、調温流体用のチャネル20bが入口端20cと出口端20dとを有する閉じたチャネルとして形成されるように、第2のガス分配素子4が第1のガス分配素子10に接続される。これは、各チャネル20bが入口端20cと出口端20d間の気密なチャネルを形成するように、波形シートをベース層1と接続することによって達成される。
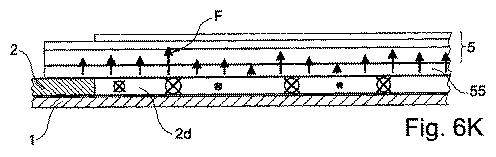
【0069】
有益な一実施形態では、第2のガス分配素子4は少なくとも2つの部分から成り、その少なくとも2つの部分は0.3mm以上の間隙を有する裂け目4bによって相互に分離される。図4Hは、4つの部分から成り、2つの裂け目4bを有するこのような第2のガス分配素子4を示す。
【0070】
図5は、ガス分配素子10の上側から切り取った部分として、第3の実施形態の第1ガス分配素子10の第1の層2および第2の層3を示す部分上面図である。第1の層2の一部の断面図は隣り合うように並べられチャネルバー2aによって分離されるいくつかのチャネル13と、バー素子23によってチャネル13から分離されるいくつかの連続する出口チャネル14とを示す。第1の層2は第2の層3の背後に配置される。第2の層3は長さ28と幅29とを有する第1の開口15を含み、本実施形態では長さ28は流体の主流方向9を横切って延在する。
【0071】
図6Aは、第1の開口15と下にあるチャネルバー2aとを備える本発明の第1、第2、または第3の実施形態のいずれかによるガス分配層10の多孔の第2の層3の部分上面図である。図6Aの線A−Aに沿った断面図である図6Bは、カソード・アノード電解質ユニット5、チャネルバー2aを備える第1の層2、第2の層3、およびベース層1を示す。ベース層1および第1の層2は別々のシートから製造される。図6C図6Aの線B−Bに沿った断面を示す。図6Bとの違いとして、この断面は一列の開口15を横断するため、第2の層3は開口15によって分断される。さらに、第1の層2において平行に延在するチャネル13も示される。
【0072】
図6Dは、支持層4のない図4の線C−Cに沿った断面を詳細に示す。第1ガス分配素子10は3層から成り、第1の層2が上に配置されるベース層1は、流方向9に平行に延在するバー2aによって分離される複数のチャネル13を備える流パターンを画定する。均質化層である第2の層3が第1の層2の上に配置される。第2の層3は流方向9に垂直に延在する第1の開口15を備える。図示する実施形態では、第1の開口15は3個のチャネル13にわたって延在し3個のチャネル13を流体接続するため、3個の可燃性ガス流9a、9b、9cおよび9d、9e、9f間で第1の開口15を通じて流体交換9zを行うことができる。図6Dは理想的な第1ガス分配素子10を示し、チャネル13のK1〜K6がそれぞれ同一の幅、同一の高さ、同一の流抵抗を有する。そのため、可燃性ガス流9a、9b、9c、9d、9e、9fはそれぞれ略同一の流量、略同一のガス組成、および結果的に生じるカソード・アノード電解質ユニット5への反応体および反応生成物の拡散流量を有し、第1の開口15内でガス流9a、9b、9cおよび9d、9e、9f間の流体交換9zがほとんどまたは全く行われない。上述したような3個の可燃性ガス流9a、9b、9cおよび9d、9e、9f間の流体交換9zに加えて、第1の開口15は、カソード・アノード電解質ユニット5に面する第1の開口15内で、流9a、9b、9c;9d、9e、9fを離れるガス成分がカソード・アノード電解質ユニット5に入る前に混合および均質化されるという効果も有する。したがって、ガス成分がカソード・アノード電解質ユニット5に入る前に均質化されることで、たとえガス流9a、9b、9cおよび9d、9e、9fのうち1つまたは2つが十分なガスを供給しなくても、ユニット5には十分な量の反応ガスが確実に供給される。カソード・アノード電解質ユニット5と第2の層3上に配置される第2のガス接触・拡散層55とは単に概略的に示す。
【0073】
図6Fは、図4の線C−Cに沿った断面を詳細に示す。理想的なガス分配素子10を示す図6Dとは異なり、図6Fは、チャネルK1〜K6が、たとえば幅が異なるなどのわずかに異なる形状を有し、そのために異なる流抵抗を有することで、ガス流9a、9b、9c、9d、9e、9fが異なる流量を有するという効果を生じる一般的な構成を示す。均質化層である第2の層3の利点は、チャネルK1、K2、K3およびK4、K5、K6のいくつかを流体接続する第1の開口15のおかげで、ガス流9a、9b、9c、9d、9e、9f間で流体交換9zが行われて、ガス流9a、9b、9c、9d、9e、9f間の流量差が低減される、すなわちガス流が均等化されてカソード・アノード電解質ユニット5に沿ったガス組成、および、その結果生じる可燃性ガスFの反応体と反応生成物の拡散流量が均質化されることである。
【0074】
図6E図6Fによる実施形態を示すが、第2の層3が存在しない。均質化層が存在しない場合、ガス組成と、その結果生じるカソード・アノード電解質ユニット5に沿った可燃性ガスFの反応体と反応生成物の拡散流量は、チャネルK1〜K6の様々な形状に応じて大きく変動する場合がある。したがって、第2の層3の均質化層の1つの利点は、ガス流9a、9b、9c、9d、9e、9fのチャネル幅またはチャネル高もしくはその両方の変動効果を均質化層によって相殺することができることから第1の層2を安価に製造でき、したがって、安価で信頼性の高いガス分配素子10の製造が可能になる点である。
【0075】
図6G図6Dに開示される第1ガス分配素子10の上面図であり、6個のチャネルK1〜K6が平行に延在し、3個のチャネルK1、K2、K3およびK4、K5、K6が開口15によって流体接続され、それによってガス流9a、9b、9c、9d、9e、9fがそれぞれ同じ流量を有する。複数の開口15は流方向9に相互に間隔をおいて配置される。
【0076】
図6H図6Fに開示される第1ガス分配素子10の上面図であり、6個のチャネルK1〜K6が平行に延在し、3個のチャネルK1、K2、K3およびK4、K5、K6が開口15によって流体接続され、そのためガス分配素子9に入るガス流9a、9b、9c、9d、9e、9fが異なる流量を有する様子を示す。複数の開口15が流方向9に間隔をおいて配置されることによって、各開口15においてガス流9a、9b、9cおよび9d、9e、9f間の流体交換9zが行われて、ガス流9a、9b、9cおよび9d、9e、9f間の流量差が低減される。第1ガス分配素子10が開口15を備えることで、チャネルK1〜K6のいずれもガスが枯渇することがなく、カソード・アノード電解質ユニット5は燃料の局所的不足を被らない。したがって、均質化層3は、燃料電池ユニット50の一部領域における可燃性ガス不足による燃料電池ユニット50の損傷を防止するという効果を有する。さらに、開口15では、拡散と対流による成分の均質化が行われる。これにより、チャネルK1〜K6の1つにたとえば望まない残留物の詰まりが生じた場合でも、可燃性ガスの局所的枯渇によるセル損傷のリスクがさらに低減される。この場合、ガスは開口15を通ってチャネルの閉塞箇所を回避することができ、開口15を通じ閉塞したチャネルの上方へ拡散して電極に到達する。
【0077】
図6Iは平行に延在する6個のチャネルK1〜K6を示すガス分配素子10の別の実施形態の上面図であり、チャネルK1、K2、K3およびK4、K5、K6が開口15によって流体接続されることで、ガス分配素子9に入るガス流9a、9b、9c、9d、9e、9fは異なる流量を有する。図6Hに開示される実施形態と異なり、図6Iによる実施形態の開口15は異なる長さ28を有するため、2個、3個、4個、またはそれ以上の平行に延在するチャネルK1〜K6を流体接続することができる。また、流方向9に間隔をおいて配置される連続開口15は流方向9と垂直に変位してもよいし、異なるチャネルK1〜K6につながる異なる長さ28を有してもよい。
【0078】
図6Lは、図4Cの線C−Cに沿った、可燃性ガス9が流れる多孔構造2dを備える第1の層2の断面を詳細に示す。チャネルK1〜K6を備える図6Fに開示される第1ガス分配素子10と異なり、ガス流は図6Lに開示される多孔層においてより拡散するため、図6Lに開示されるガス流9a、9b、9c、9d、9e、9fは流方向9に流れる燃料流の強度(大きさ)のみを示す。第2の層3の均質化層の効果は、ガス流が異なるガス組成を有する場合、第2の層3がガス流9a、9b、9c、9d、9e、9f間で流体交換9zを行うという点で図6Fに開示される効果と類似する。したがって、第2の層3は、第1の層2の多孔構造における様々なガス流9a、9b、9c、9d、9e、9fの流量を均等化する。したがって、カソード・アノード電解質ユニット5に沿った可燃性ガスFのガス組成と、その結果生じる反応体の拡散流量とは均質化される。
【0079】
図6K図6Lによる実施形態を示すが、第2の層3が存在しない。均質化層3が存在しないため、カソード・アノード電解質ユニット5に沿った可燃性ガスFのガス組成と、その結果生じる反応体の拡散流量とは、図6Eに開示される効果と同様に、多孔性の第1の層2での流抵抗に応じて大幅に変動し得る。
【0080】
図7Aは、燃料電池ユニット50のガス分配層を流れる可燃性ガスの理想的な流状態を示す概略図であり、本例の燃料電池ユニット50は隣り合うように並んだ12個のチャネル13を備え、矢印は各チャネル13内の可燃性ガスの流量を示す。座標系のx軸は、各チャネル13における流体の主流方向9の流量を示す。y軸は、図3に示すように隣り合うように並んで配置される12個のチャネルK1〜K12のチャネル番号を示す。図7Dは10個の燃料電池ユニット50のスタックを示し、各燃料電池ユニット50は12個のチャネル13を有し、図7Aおよび7Bに開示されるチャネル番号は図7Dの燃料電池スタックに示されるチャネルに相当する。図7Bは燃料電池ユニット50を流れる可燃性ガスの最適な実際の流条件を示す概略図であり、ガスマニホルドの建設上の妥協のため、可燃性ガスの流量はケースに近い横方向チャネル1および12の方が少なく、燃料電池ユニット50のケース近傍の流速が最低値を示す。
【0081】
図7Dは燃料電池ユニット50のスタックを示す図であり、各燃料電池ユニット50は図7Bに示す状態により同一の流を有する。したがって、10個の燃料電池ユニット50のそれぞれの平均流量F1〜F10は同一である。
【0082】
図7Cは、従来技術による燃料電池ユニットを流れる可燃性ガスの実際の流状態、よって非常に不均質な流速分布を示す概略図である。不均質な流速分布は、たとえば燃料電池ユニット50の製造時の製造公差から生じる。図7C図7Bと同じように設計された流場を示すが、たとえば製造公差により設計とは目立った偏差がある。これは従来技術でよく起きる問題である。その偏差は、製造に応じて分配素子間で異なる。図7Cに開示される例では、最低ガス流量のチャネルは5番だが、別の分配素子では他のチャネルである可能性がある。この最小流量は局所的な燃料欠乏、ひいては性能の制限、燃料電池スタックの局所的な過熱、さらには電解質、アノードまたはカソード材料の亀裂などを招き、おそらくはCAEユニット5の損傷、おそらくは燃料と酸化剤の混合や寄生燃焼、スタックまたは少なくともその一部の早すぎる深刻な損傷をもたらす場合がある。
【0083】
図7Eは、図7Cに開示されるような10個の燃料電池ユニット50を備える燃料電池スタックの図である。個々の燃料電池ユニット50は最小チャネル流の位置がランダムに変動するため、矢印F1〜F10の長さで示す各燃料電池ユニット50の平均流速もランダムに分布する。こうしたランダムな偏差は以下の2つの影響を有する。第1に、流体流への抵抗が異なるために燃料電池ユニット毎の総流量がユニット50間で変動する。第2に、その結果、チャネル毎の平均流量からの累積偏差(7Aが理想的なケース)がより顕著になる。このため、従来技術では、単位セル・マニホルドに入る流を矯正する、圧力低下の小さな単位セルのバッチを選別する、公差の基準値を増加させる、または燃料変換率を低減して動作リスクを減少させることによって、補正を行わねばならない。これらはすべてスタックの製造コストとシステムの効率に影響を及ぼす。さらに、図7Eは、従来技術による燃料電池スタックにおいて、隣接する燃料電池ユニット50の流状態と隣接するガス分配素子10の流状態とが大幅に変動する様子を示す。
【0084】
固体酸化物燃料電池のモデル化と実験作業は、いかに燃料分配の均質性と流の配置が燃料電池の性能および信頼性にとって重要であるかを示す。図7Aは同一方向または反対方向に流れる空気と燃料の理想的なケースを表す。製造工程により、いくらかの妥協が必要とされることはよくあり、その場合結果的に、図7Bに示すようにガスの分配が理想的なケースとはわずかに異なる。最新の調査では、製造公差または非理想的な成分特性が性能および信頼性に及ぼす影響の研究を盛り込んでおり、所望の性能および信頼性における、産業工程または具体的な設計の妥当性を評価することができる。
【0085】
コルニュ(Cornu)およびウィルマン(Wuillemin)による論文「ランダムな形状歪みがSOFCの性能および信頼性に及ぼす影響(Impact of random geometric distortions on the performance and reliability of an SOFC)、2011年発行、燃料電池(Fuel Cells) 第11巻(第4番)、553〜564ページ」が示すように、燃料分配の質はガス分配構造におけるチャネルの深さの誤差に左右される。チャネルの深さは通常0.2mmから1〜2mmの範囲であり、幅は1〜2mm変動することが非常に多い。0.5mm程度の深さである場合が多い。このような場合、目標値前後0.05mmの深さ変動は流分配に非常に重大な影響を及ぼす。このような偏位の例を図7Cに示す。0.05の深さ変動が適切な製造技術によって達成できる場合でも、カソード・アノード電解質ユニット5と第1ガス分配素子10間の間隔は、間に使用される接触層に応じても変動する可能性がある。したがって、有効なチャネル範囲で累積される深さ変動を、上記の偏位範囲内に納めることは非常に困難である。最後になったが、接触層またはチャネルは時間の経過と共に変形する場合があり、いずれの場合も経年による燃料分配の劣化を招くことがある。
【0086】
単位セル50が積層されるにつれ、個々の素子の瑕疵が累積して、図7Eのケースで示される動作時の流の偏差がさらに増大する。
完全に同量の燃料が燃料電池スタックのすべての単位セル50で変換されて共通の電流の流れが得られるため、燃料変換が増加すると、低燃料流の単位セル50は燃料欠乏のリスクにさらされる。高性能に達するには大きな変換が必要であるため、不十分な燃料分配は性能の制限または燃料欠乏による1個の単位セルの損傷を招く。
【0087】
燃料電池スタックの一部に燃料が枯渇している前兆は、既に遅すぎるという場合を除いてオペレータにはほとんど分からないため、この種の問題は産業上および操作上の観点から非常に重要である。
【0088】
図8は燃料電池スタック103を形成する複数の連続する燃料電池ユニット50の断面図であり、図4に示す実施形態により、各燃料電池ユニット50はCAEユニット5とインターコネクト40とを備え、インターコネクト40は第1のガス分配素子10と第2のガス分配素子4を備える。
【0089】
したがって、燃料チャネル13の断面は、第1の層2と多孔板である第2の層3とのチャネル構造の形状によって与えられ、決定される。第2の層3は均質化素子である。第2の層とカソード・アノード電解質ユニット5間で使用される任意の追加の接触層は流に影響を及ぼさない。さらに、多孔板である第2の層3の穴15の形状によって、いくつかのチャネル13の流路に沿った流体交換と流体混合が可能になり、チャネル13は燃料路に沿って隣り合うように並べられているため、それらの位置でチャネル間に略等圧を生成し、チャネル13間に適切な平均流量をもたらす。このおかげで、第1ガス分配素子10内の可燃性ガスの流体流路に沿ったチャネル13の形状偏差は、可燃性ガスを隣接チャネル13間に流し、各反応体と各可燃性ガス流体流を均質化する平均化作用を利用することによって補正される。
【0090】
図8Aは、2個のガス分配素子10と対応する支持層4とを示す図8の詳細断面図である。1個のカソード・アノード電解質ユニット5が図8Aの中央に示され、支持層4はカソード・アノード電解質ユニット5の上の第1のガス接触・拡散層54に接触しており、均質化層である第2の層3はカソード・アノード電解質ユニット5の下の第2のガス接触・拡散層55に接触している。第2の層3が3個のチャネル13にわたって延在して3個のチャネル13を流体接続する第1の開口15を有することで、流体交換9zによりカソード・アノード電解質ユニット5に入る燃焼ガスFが均質化される。
【0091】
支持層4は、酸化剤Oの流路をチャネル20b、20aを有する2つの別々の流路O1、O2に分割する波形形状を有し、チャネル20bの流路O1はカソード・アノード電解質ユニット5に酸化剤O3を供給する酸化剤である。チャネル20aの流路O2は、ベース層1またはカソード・アノード電解質ユニット5もしくはその両方を冷却または加熱する調温剤としての役割を果たす。
【0092】
図8Bは、3つの燃料電池ユニット50を備える燃料電池スタック103の概略側断面図であり、各燃料電池ユニットはインターコネクト40とCAEユニット5とを備え、各インターコネクト40は第1のガス分配素子10と第2のガス分配素子4を備える。一方の側で酸化剤Oが第2のガス分配素子4全体に供給され、その後、酸化剤Oは分割されて第2のガス分配素子4に沿って2つの別々の流路O1、O2を形成し、2つの別々の流路O1、O2は第2のガス分配素子4を離れた後に結合し、第2のガス分配素子4の流路すべてはまた単独の流路に結合されて燃料電池スタック103を出る。図8Bは、酸化剤Oを供給するブロアまたはコンプレッサ21と、インターコネクト40を出入りする酸化剤Oの温度を測定する温度センサ22a、22bも開示する。ブロアまたはコンプレッサ21と温度センサ22a、22bは、概略的にのみ示す制御ユニット23とケーブル23によって接続される。追加の温度センサまたは他のセンサあるいはアクチュエータを配置して、制御ユニット23と接続し、燃料電池スタックの動作を制御することができる。
【0093】
図8Cは、3つの燃料電池ユニット50を備える燃料電池スタック103の別の実施形態の概略側断面図であり、各燃料電池ユニットはインターコネクト40とCAEユニット5とを備え、各インターコネクト40は第1のガス分配素子10と第2のガス分配素子4を備える。流路O1、O2は完全に分離されており、一方の側では酸化剤の流路O1を画定するチャネル20aのみに酸化剤Oが供給される。一方の側では調温流体の流路O2を画定するチャネル20bのみに調温流体O4が供給される。流路O1、O2はまた別々の路として第2のガス分配素子4を離れる。図8Cは調温流体O4を供給するブロアまたはコンプレッサ21と、インターコネクト40を出入りする調温流体路O2の温度を測定する温度センサ22a、22bも示す。ブロアまたはコンプレッサ21と温度センサ22a、22bは、概略的にのみ示す制御ユニット24とケーブル23によって接続される。追加の温度センサまたはその他のセンサあるいはアクチュエータを配置して、制御ユニット23と接続し、燃料電池スタックの動作を制御することができる。
【0094】
図8Bまたは8Cに開示される燃料電池スタック103は様々な方法で動作させることができる。いくつかの有益な方法を以下より詳細に説明する。
燃料電池スタック103は、固体酸化物燃料電池または固体酸化物電解電池の動作方法によって動作させることができ、固体酸化物燃料電池は、
a)複数のカソード・アノード電解質ユニット5と、
b)カソード・アノード電解質ユニット5間の金属インターコネクト40であって、
可燃性ガス用のガス分配構造11を備える第1のガス分配素子10と、
酸化剤用のチャネル20aと調温流体用の別のチャネル20bとを備える第2のガス分配素子4と、
を含むインターコネクト40と、
を備え、
少なくとも第1の制御温度T1と第2の制御温度T2が測定され、
第1の温度T1が第2のガス分配素子4に入る調温流体の温度または燃料電池の調温流体入口側で測定される代表温度であり、
第2の温度T2が第2のガス分配素子4を出る調温流体の出口温度、燃料電池スタックの温度、燃料電池の調温流体出口側で測定される代表温度のうちの1つであり、
第2のガス分配素子4に供給される調温流体の量が第1の温度T1と第2の温度T2との温度差に基づき制御される。
【0095】
固体酸化物燃料電池または固体酸化物電解電池を動作させる好適な方法ステップでは、調温流体が第2のガス分配素子4に供給され、その量は第1および第2の温度T1、T2の最高、最低、または公称温度差に基づき制御される。
【0096】
固体酸化物燃料電池または固体酸化物電解電池を動作させる別の好適な方法ステップでは、第2のガス分配素子4に供給される調温流体の量と温度T1は、第1および第2の制御温度T1、T2が定義された最低値と最高値の間で維持されるように制御される。
【0097】
固体酸化物燃料電池を動作させる別の好適な方法ステップでは、チャネル20aの出口での酸化剤の酸素分圧が酸化剤の総圧力の5%超、好ましくは10%超であるように、酸化剤の流量は電気化学反応に必要な化学量論的流を超過して維持される。
【0098】
固体酸化物燃料電池または固体酸化物電解電池を動作させる別の好適な方法ステップでは、酸化剤と調温流体は厳密に分離された流路O1、O2内を循環する。
固体酸化物電解電池を動作させる別の好適な方法ステップでは、調温流体が第2のガス分配素子4を加熱する。
【0099】
固体酸化物電解電池を動作させる別の好適な方法ステップでは、キャリアガスが酸化剤の流路O1に追加されて生成された酸素を回収し、インターコネクト40を出るキャリアガス内の酸素含有量を所定の範囲に維持するようにキャリアガスの流量が制御される。
【0100】
固体酸化物電解電池を動作させる別の好適な方法ステップでは、キャリアガスが循環され、酸素がインターコネクト40を出るキャリアガスから抽出されて、酸素の豊富なガスを個別に回収する。
【0101】
固体酸化物電解電池を動作させる別の好適な方法ステップでは、純酸素はインターコネクト(40)を出る際に個別に回収される。
図4は、長さ3aと幅3bを有するカソード・アノード電解質ユニット5を示し、カソード・アノード電解質ユニット5が第2の層3と接触する接触面3cを画定する。第2の層3は同じ接触面3cを備える。第2の層3の第1の開口15は接触面3cに配置される。好適な一実施形態では、第1の開口15すべての総面積は表面3c内の開口15、6およびその他の開口の総面積の20%以上である。接触面3cに沿って可燃性ガスをより一層均等に分配するため、さらに好適な実施形態では、第1の開口15すべての総面積は接触面3cの20%以上、さらに好ましくは約30%以上、最も好ましくは40%〜50%である。
【0102】
好適な実施形態では、CAEユニット5は流方向9に沿った長さ3aと幅3bを有し、長さ3aと幅3bの比は好ましくは1超、さらに好ましくは1.5超、最も好ましくは2超である。
【0103】
開示される第1の開口15は矩形状で示される。第1の開口15は楕円形などの他の形状をとることもできる。第2の層3も、矩形や楕円形などの他の形状をとる複数の第1の開口15を同じ第2の層3上に備えることができる。
【0104】
燃料電池の第1ガス分配素子10内の可燃性ガスを均質化する有利な方法によると、第1ガス分配素子10が燃料入口2bと燃料出口2cとを接続する第1の層2を備えることにより、燃料が第1の層2内を流方向9、特に直線方向に流れ、第1ガス分配素子10が第1の開口15を備える第2の層3を備え、第1の開口15が流方向9を横切る方向に延在する。ここで、第1の層2を流れる可燃性ガスが第1の開口15に入ることにより第1の開口15内で可燃性ガスが均質化され、第1の開口15がカソード・アノード電解質ユニット5と接触して第1の開口15内の可燃性ガスがカソード・アノード電解質ユニット5に供給される。
【0105】
有利な方法ステップでは、第1の開口15内で均質化された可燃性ガスの少なくとも一部は第1の層2に戻るように流れる。
さらに有利な方法ステップでは、第1の層2は、隣り合って配置され、燃料入口2bと燃料出口2cを接続する複数のチャネル13と、チャネル13を横切って延在し、隣り合って配置された少なくとも2つのチャネル13を流体接続する第1の開口15とを備え、可燃性ガスは各チャネル13を通って流れて第1の開口15に入り、第1の開口15内で各チャネル13の可燃性ガスが均等化される。
【0106】
有利な方法ステップでは、第1の開口15内で均等化された可燃性ガスの少なくとも一部が、第1の層2の各チャネル13に戻る、あるいは第1の層2の各チャネル13の間で交換される。
【0107】
有利な方法ステップでは、各第1の開口15内の可燃性ガスの圧力が均等化されるように第1の開口15のうち少なくともいくつかが流方向9に対して垂直に延在し、それにより、下にある第1の層2または下にある各チャネル13内の可燃性ガスの圧力が局所的に均等化される。
【0108】
この構造は、特許文献1による2つのスタック設計で実現し、動作が実証された。燃料として水素を用いた場合61%、メタンを用いた場合69%に達する効率で、最大燃料変換94%が達成された。この結果は、特許文献1に開示されるような反応体の処理に基づく以前の結果を大幅に上回る。
【0109】
燃料電池ユニットでの発熱反応のため、特に移行段階で燃料電池ユニット50を能動的に冷却する必要があり、主にこの冷却は、空気冷却、あるいは空気冷却とメタン(SMR)の吸熱水蒸気改質反応を利用する燃料側の内部冷却との組み合わせによって達成することができる。しかしながら、これは、水蒸気改質メタンを燃料として使用する種類のシステムに限定される。
【0110】
CAEユニット5およびガス分配構造における温度勾配と過剰な温度差を制限するため、単位セル50内で冷却空気を適切に分配する必要がある。温度差を制限するには、電気化学反応自体に必要とされる量よりも過剰な大量の冷却空気が要求される。この過剰空気は、特に空気ブロアの電力消費のため、周辺機器における追加損失を暗示する。しかしながら、スタック内の圧力低下が小さい、つまりスタック内の空気のガス分配構造が空気流に対する低い抵抗を示す場合、こうした損失は低減することができる。したがって、燃料電池は酸化剤流の入口と出口間において、好ましくは50mbar(50×10パスカル)、20mbar(20×10パスカル)、10mbar(10×10パスカル)の公称圧力差で動作する。
【0111】
燃料電池スタックで回避すべき問題は、通常、平面状の層を形成する電極表面で発生する局地的な温度ピークである。このような局地的温度ピークが発生する場合、反応動力が変更され、局地的な高温地点が形成される場合がある。このような高温地点は、局地的熱膨張を引き起こすことによって材料に大きな歪みを生じさせ、影響を受けた層材料の熱応力、反り、座屈、または変形を招くために望ましくない。電極または電解質のセラミック材料は脆いという事実のため、亀裂を生じやすく、大きな局地的温度変動を受けた場合には最終的に割れるおそれがある。このような高温地点の発生は、冷却空気流の増加と、CAEユニットと接触し放熱構造として供する空気分配構造の適切な設計とによって大幅に低減することができる。
【0112】
さらに、燃料電池ユニット内の温度勾配は、CAEユニット以外の重要な場所、たとえば電池周囲の封止部やスタックに燃料を分配する燃料マニホルドなどに不適切な熱応力を与える可能性がある。これは封止の剥離や好ましくない漏れを招き、CAEユニットの局地的または全体的な破損につながる場合もある。
【0113】
空気流を減らして燃料電池を動作させることができるが、空気入口と出口間の温度差が大きくなる。この状況の欠点は、電気化学工程の大半が熱的に始動されるため、低温側の電気化学反応の効率が低下することである。このような状況で、いくつかの電極種、特にカソード材料は時間の経過とともにより激しく劣化することが知られている。一方、燃料電池の高温端部は、熱的に始動される他の種類の劣化、たとえば金属部分の酸化物の成長などにさらされる。
【0114】
燃料電池の性能に関するもう1つの重要な点は、燃料流の主方向9に垂直な温度の均一性である。燃料流に垂直な空気流を有するスタック(いわゆる直交流構造)では、燃料流に垂直な温度差が大きく、電気化学性能の低下のために電池の冷たい側に沿った燃料消費が行われなくなるようである。このため、スタックを高燃料変換率で動作させることができず、効率が低下する。この問題は、内部伝熱を高める厚いインターコネクタを使用することによって一部回避できるが、重量とコストが嵩む。
【0115】
したがって、平行にまたは反対方向に流れる燃料と空気流とで燃料電池を動作させることが好ましい。にもかかわらず、システムの残りの部分との熱交換のため、スタックの境界近傍において燃料流の側方で熱勾配が生じる可能性がある。したがって、このような状況で性能が制限されるという類似の課題が生じ得る。よって、この種の勾配の低減に役立つ過剰空気で燃料電池を動作させることが興味深い。同じ目的で、燃料流に沿ったセルの反応領域の長さが幅よりも大きい、すなわち1超のアスペクト比を有するように燃料電池を作製することも興味深い。好適な構造では、このアスペクト比は1.2超、好ましくは1.5超、好ましくは2超である。
【0116】
したがって、燃料電池ユニット内の熱勾配と温度差を低減して、性能を向上させ劣化を制限することが興味深い。
さらに、少ない冷却剤流では、スタックの中心と境界、たとえば最初と最後の燃料電池ユニット間の温度差が大きくなると予想される。これは熱機械的な理由からだけでなく、電気化学性能がスタック内の位置によって変動するという事実からも不都合である。たとえば封止材料の保護のためにスタック内の最高温度を通常念頭に置いておく必要があるため、燃料電池の一部の部品は必要とされるよりも低温で動作させられなければならない結果、低温の素子が低効率で動作し、性能全体が低下する。
【0117】
最後に、迅速な反応が得られ、制御性が向上されるため、より多くの冷却剤流を使用すると、燃料電池の動的制御が強化される。
しかしながら、過剰空気を用いる1つの欠点は、空気極に毒性物質を持ち込むことである。特に揮発性クロムは、スタックの上流に位置する金属部品から放出され、空気流によってスタックに運ばれることが知られている。揮発性クロムは電気化学反応および化学反応によって空気極に堆積しがちである。具体的には、揮発性クロムは電極に含まれるストロンチウムと瞬時に反応する。さらに、揮発性クロムは電極/電極インタフェースにクロム酸化物として電気化学的に堆積し、反応部位の数を減少させる可能性がある。クロムだけでなく、珪素、硫黄、その他の種も空気極の耐久性に影響を及ぼすことが知られている。
【0118】
したがって、酸化剤流への圧力低下を小さくし追加損失を低減させつつ、均質な調温のために空気流を増加して燃料電池を動作させられる一方で、空気の一部のみを空気電極と接触させて汚染を防止することが特に有益である。
【0119】
さらに、たとえば、空気電極の汚染を低減し最適性能で燃料電池を動作させるため、冷却空気と反応空気間の比を変動させられることも有益である。
電解モードでは、高酸素含有ガスを反応生成物として貯蔵することができるように、電解反応から得られる高酸素含有ガスと調温流とを分離することが有益であろう。電解モードでは、調温流が、スタックを加熱し、必要に応じて吸熱電解反応に熱を供給し、最終的には動作全体が放熱となるいくつかの動作点で熱を除去するために使用される。
【0120】
この分離は、燃料電池が発電モードと電解モードとで可逆的に使用できる将来の用途、たとえば発電モードにおけるピーク生産中の再生可能エネルギーの貯蔵と、高酸素含有ガスの酸化剤としての使用などの後の反応生成物の再利用にとっても有益である。
図1
図2
図3
図4
図4A
図4B
図4C
図4D
図4E
図4F
図4G
図4H
図5
図6A
図6B
図6C
図6D
図6E
図6F
図6G
図6H
図6I
図6K
図6L
図7A
図7B
図7C
図7D
図7E
図8
図8A
図8B
図8C
【手続補正書】
【提出日】2014年4月11日
【手続補正1】
【補正対象書類名】明細書
【補正対象項目名】0093
【補正方法】変更
【補正の内容】
【0093】
図8Cは、3つの燃料電池ユニット50を備える燃料電池スタック103の別の実施形態の概略側断面図であり、各燃料電池ユニットはインターコネクト40とCAEユニット5とを備え、各インターコネクト40は第1のガス分配素子10と第2のガス分配素子4を備える。流路O1、O2は完全に分離されており、一方の側では酸化剤の流路O1を画定するチャネル20aのみに酸化剤Oが供給される。一方の側では調温流体の流路O2を画定するチャネル20bのみに調温流体O4が供給される。流路O1、O2はまた別々の路として第2のガス分配素子4を離れる。図8Cは調温流体O4を供給するブロアまたはコンプレッサ21と、インターコネクト40を出入りする調温流体路O2の温度を測定する温度センサ22a、22bも示す。ブロアまたはコンプレッサ21と温度センサ22a、22bは、概略的にのみ示す制御ユニット24とケーブル23によって接続される。追加の温度センサまたはその他のセンサあるいはアクチュエータを配置して、制御ユニット2と接続し、燃料電池スタックの動作を制御することができる。
【手続補正書】
【提出日】2014年5月8日
【手続補正1】
【補正対象書類名】明細書
【補正対象項目名】0092
【補正方法】変更
【補正の内容】
【0092】
図8Bは、3つの燃料電池ユニット50を備える燃料電池スタック103の概略側断面図であり、各燃料電池ユニットはインターコネクト40とCAEユニット5とを備え、各インターコネクト40は第1のガス分配素子10と第2のガス分配素子4を備える。一方の側で酸化剤Oが第2のガス分配素子4全体に供給され、その後、酸化剤Oは分割されて第2のガス分配素子4に沿って2つの別々の流路O1、O2を形成し、2つの別々の流路O1、O2は第2のガス分配素子4を離れた後に結合し、第2のガス分配素子4の流路すべてはまた単独の流路に結合されて燃料電池スタック103を出る。図8Bは、酸化剤Oを供給するブロアまたはコンプレッサ21と、インターコネクト40を出入りする酸化剤Oの温度を測定する温度センサ22a、22bも開示する。ブロアまたはコンプレッサ21と温度センサ22a、22bは、概略的にのみ示す制御ユニット2とケーブル23によって接続される。追加の温度センサまたは他のセンサあるいはアクチュエータを配置して、制御ユニット2と接続し、燃料電池スタックの動作を制御することができる。
【手続補正2】
【補正対象書類名】図面
【補正対象項目名】図8A
【補正方法】変更
【補正の内容】
図8A
【手続補正書】
【提出日】2014年9月23日
【手続補正1】
【補正対象書類名】特許請求の範囲
【補正対象項目名】全文
【補正方法】変更
【補正の内容】
【特許請求の範囲】
【請求項1】
固体酸化物燃料電池または固体酸化物電解電池であって、
a)複数のカソード・アノード電解質ユニット(5)であって、それぞれが、
酸化剤用の第1の電極(51)と、
可燃性ガス用の第2の電極(53)と、
前記第1の電極(51)と前記第2の電極(52)との間の固体電解質(52)と、
を備えるカソード・アノード電解質ユニット(5)と、
b)前記カソード・アノード電解質ユニット(5)間の金属製のインターコネクト(40)であって、
前記可燃性ガス用のガス分配構造(11)を備え、前記カソード・アノード電解質ユニット(5)の前記第2の電極(53)と接触する第1のガス分配素子(10)と、
前記酸化剤用のチャネル(20a)と調温流体用の別のチャネル(20b)とを備え、前記酸化剤用のチャネル(20a)が隣接するカソード・アノード電解質ユニット(5)の前記第1の電極(51)と接触する第2のガス分配素子(4)と、
を含み、前記第1のガス分配素子(10)と前記第2のガス分配素子(4)が電気的に接続されるインターコネクト(40)と、を備える固体酸化物燃料電池または固体酸化物電解電池において、
前記第1のガス分配素子(10)が平面状のベース層(1)、第1の層(2)、および第2の層(3)を備え、前記第1および第2の層(2、3)に前記ガス分配構造(11)が配置され、
前記第2のガス分配素子(4)が前記第1のガス分配素子(10)の前記ベース層(1)側に配置されて支持層を形成し、
前記調温流体用の別のチャネル(20b)が前記第1のガス分配素子(10)の前記ベース層(1)と接触し、
前記第2のガス分配素子(4)が複数の波形を備え、前記波形が前記酸化剤用の複数のチャネル(20a)と前記調温流体用の複数の別のチャネル(20b)とを形成し、前記複数のチャネル(20a、20b)が相互に平行に延在し、
前記波形が波形金属シートから成り、
前記酸化剤用のチャネル(20a)および前記調温流体用のチャネル(20b)の両方が同じ酸素含有ガス源と流体連通するようにマニホルドが構成される、固体酸化物燃料電池または固体酸化物電解電池。
【請求項2】
前記調温流体用のチャネル(20b)が前記第1のガス分配素子(10)に向けて開放される、請求項1に記載の燃料電池。
【請求項3】
前記チャネル(20a、20b)が波形形状、ジグザグ形状、および断面台形状のうちの何れか1つの形状を有する、請求項1または2に記載の燃料電池。
【請求項4】
前記調温流体用のチャネル(20b)が入口端(20c)と出口端(20d)のみを備える閉じたチャネルとして形成されるように、前記第2のガス分配素子(4)が前記第1のガス分配素子(10)に接続される、請求項1〜3のいずれか一項に記載の燃料電池。
【請求項5】
前記第1のガス分配素子(10)が燃料入口側(2a)から燃料出口側(2b)へ延在することによって、前記第1のガス分配素子(10)内の前記可燃性ガスの流方向(9)を画定し、前記第2のガス分配素子(4)の前記チャネル(20a、20b)が流体の主流方向(9)に沿って延在する、あるいは前記主流方向(9)に略垂直に延在する、請求項1〜4のいずれか一項に記載の燃料電池。
【請求項6】
前記酸化剤用のチャネル(20a)が断面領域(20f)を有し、前記調温流体用のチャネル(20b)が断面領域(20e)を有し、前記2つの断面領域(20e、20f)の比が1:2〜2:1の範囲、好ましくは1:1である、請求項1〜5のいずれか一項に記載の燃料電池。
【請求項7】
前記カソード・アノード電解質ユニット(5)が流体の流れ方向(9)に沿った長さ(3a)と幅(3b)とを有し、前記長さ(3a)と前記幅(3b)の比が好ましくは1超、より好ましくは1.5超、最も好ましくは2超である、請求項1〜6のいずれか一項に記載の燃料電池。
【請求項8】
前記波形がピッチ(20g)を有し、前記ピッチ(20g)が2mm〜8mmの範囲である、請求項1ないし6のいずれか一項に記載の燃料電池。
【請求項9】
前記波形が45度以上、より好ましくは60度超の傾斜角度(α)を有する、請求項8に記載の燃料電池。
【請求項10】
前記酸化剤用のチャネル(20a)および前記調温流体用のチャネル(20b)が1〜5mmの範囲の高さを有する、請求項1〜9のいずれか一項に記載の燃料電池。
【請求項11】
前記酸化剤用のチャネル(20a)が酸素含有ガス源と流体連通し、前記調温流体用のチャネル(20b)が別の調温ガスと流体連通するように構成されるマニホルドを備える、請求項1〜10のいずれか一項に記載の燃料電池。
【請求項12】
前記第1のガス分配素子(10)が第1の開口(15)または第2の開口(6)を有する均質化素子である第2の層(3)を備え、前記第1の開口(15)の少なくともいくつかが長さ(28)および幅(29)を有し、前記長さ(28)が前記幅(29)よりも大きく、前記長さ(28)が流体の主流方向(9)を横切って延在する、請求項5〜11のいずれか一項に記載の燃料電池。
【請求項13】
前記第1のガス分配素子(10)が複数のチャネル、ピン、グリッド構造、発泡体構造などの三次元構造のうち少なくとも1つを備える、請求項1〜12のいずれか一項に記載の燃料電池。
【請求項14】
前記第1のガス分配素子(10)のチャネルが少なくともバー素子(23)によって少なくとも部分的に遮断され、前記第2の層(3)が前記バー素子(23)をバイパスする開口(6)を備える、請求項13に記載の燃料電池。
【請求項15】
前記第1の層(2)の前記ガス分配構造(11)が、相互に並べられ前記燃料入口(2b)を前記燃料出口(2c)と接続する複数のチャネル(13)を備え、前記チャネル(13)を横切って延在する前記第1の開口(15)が、相互に並べられる少なくとも2つのチャネル(13)が前記第1の開口(15)と流体連通するような長さ(28)を有する、請求項12ないし14のいずれか一項に記載の燃料電池。
【請求項16】
前記チャネル(13)が相互に平行に延在し、前記第1の開口(15)が前記チャネル(13)に垂直に延在する、請求項15に記載の燃料電池。
【請求項17】
前記チャネル(13)が放射方向に延在し、前記第1の開口(15)が周方向に延在する請求項12〜15のいずれか一項に記載の燃料電池。
【請求項18】
前記第1のガス分配素子(10)および前記第2のガス分配素子(4)の少なくとも一方が型打ち抜き、型押し、ロール成形、打ち抜き、エッチング、または粉末冶金によって製造される、請求項1〜17のいずれか一項に記載の燃料電池。
【請求項19】
前記インターコネクト(40)または前記第1のガス分配素子(10)および前記第2のガス分配素子(4)の少なくとも一方が、特に共に溶接される金属層を備えることによって一体片を形成する、請求項1〜18のいずれか一項による燃料電池。
【請求項20】
前記第2のガス分配素子(4)が少なくとも2つの部分から成り、前記少なくとも2つの部分が0.3mm以上の間隙幅を有する裂け目(4b)によって相互に分離される、請求項14に記載の燃料電池。
【請求項21】
固体酸化物燃料電池または固体酸化物電解電池の動作方法であって、前記固体酸化物燃料電池が、
a)複数のカソード・アノード電解質ユニット(5)であって、それぞれが、
酸化剤用の第1の電極(51)と、
可燃性ガス用の第2の電極(53)と、
前記第1の電極(51)と前記第2の電極(52)との間の固体電解質(52)と、
を備えるカソード・アノード電解質ユニット(5)と、
b)前記カソード・アノード電解質ユニット(5)間の金属製のインターコネクト(40)であって、
前記可燃性ガス用のガス分配構造(11)を備える金属製の第1のガス分配素子(10)と、
前記酸化剤用のチャネル(20a)と調温流体用の別のチャネル(20b)とを備える金属製の第2のガス分配素子(4)と、
を含むインターコネクト(40)と、
を備え、
前記チャネル(20a、20b)が前記酸化剤(O)を2つの流路(O1、O2)に分割し、酸化剤(O1)がチャネル(20a)を流れ、調温流体(O2)がチャネル(20b)を流れ、
前記調温流体(O2)が前記第2のガス分配素子(4)と前記第1のガス分配素子(10)のベース層(1)とに接触し冷却して、
前記酸化剤(O1)が隣接するカソード・アノード電解質ユニットの前記第1の電極(51)に接触し、
少なくとも第1および第2の制御温度(T1、T2)が測定され、
前記第1の温度(T1)が前記第2のガス分配素子(4)に入る前記調温流体(O2)の温度または前記燃料電池の調温流体入口側で測定される代表温度であり、
前記第2の温度(T2)が前記第2のガス分配素子(4)を出る前記調温流体の出口温度、燃料電池スタックの温度、前記燃料電池の調温流体出口側で測定される代表温度のうちの1つであり、
前記第2のガス分配素子(4)に供給される調温流体(O2)の量が前記第1および第2の温度(T1、T2)の温度差に基づき制御される、方法。
【請求項22】
前記第2のガス分配素子(4)に供給される調温流体の量が最高、最低、または公称温度差に基づき制御される、請求項21に記載の固体酸化物燃料電池または固体酸化物電解電池の動作方法。
【請求項23】
前記第2のガス分配素子(4)に供給される前記調温流体の量と温度(T1)が、前記第1および第2の制御温度(T1、T2)が定義された最低値と最高値の間で維持されるように制御される、請求項2または22に記載の固体酸化物燃料電池または固体酸化物電解電池の動作方法。
【請求項24】
前記チャネル(20a)の前記出口での前記酸化剤の酸素分圧が前記酸化剤の総圧力の5%超、好ましくは10%超であるように、前記酸化剤の流量が電気化学反応に必要な化学量論的流を超過して維持される、請求項21または23に記載の固体酸化物燃料電池の動作方法。
【請求項25】
前記酸化剤と前記調温流体とが厳密に分離された流路(O1、O2)内で循環する、請求項21〜24のいずれか一項に記載の固体酸化物燃料電池または固体酸化物電解電池の動作方法。
【請求項26】
前記調温流体が前記第2のガス分配素子(4)を加熱する、請求項25に記載の固体酸化物電解電池の動作方法。
【請求項27】
キャリアガスが前記酸化剤の前記流路(O1)に追加されて生成された酸素を回収し、前記インターコネクト(40)を出る前記キャリアガス内の酸素含有量を所定の範囲に維持するように前記キャリアガスの流量が制御される、請求項26に記載の固体酸化物電解電池の動作方法。
【請求項28】
前記キャリアガスが循環され、酸素が前記インターコネクト(40)を出る前記キャリアガスから抽出されて、酸素の豊富なガスを個別に回収する、請求項27に記載の固体酸化物電解電池の動作方法。
【請求項29】
酸素が前記インターコネクト(40)を出るときに個別に回収される、請求項26に記載の固体酸化物電解電池の動作方法。
【国際調査報告】