特表2017-517346(P2017-517346A)IP Force 特許公報掲載プロジェクト 2022.1.31 β版

知財求人 - 知財ポータルサイト「IP Force」

(19)【発行国】日本国特許庁(JP)
(12)【公報種別】公表特許公報(A)
(11)【公表番号】特表2017-517346(P2017-517346A)
(43)【公表日】2017年6月29日
(54)【発明の名称】円周方向発射方式の外科用ステープラ
(51)【国際特許分類】
   A61B 17/072 20060101AFI20170602BHJP
【FI】
   A61B17/072
【審査請求】未請求
【予備審査請求】未請求
【全頁数】66
(21)【出願番号】特願2016-572568(P2016-572568)
(86)(22)【出願日】2015年6月11日
(85)【翻訳文提出日】2016年12月9日
(86)【国際出願番号】US2015035379
(87)【国際公開番号】WO2015191887
(87)【国際公開日】20151217
(31)【優先権主張番号】62/010,883
(32)【優先日】2014年6月11日
(33)【優先権主張国】US
(81)【指定国】 AP(BW,GH,GM,KE,LR,LS,MW,MZ,NA,RW,SD,SL,ST,SZ,TZ,UG,ZM,ZW),EA(AM,AZ,BY,KG,KZ,RU,TJ,TM),EP(AL,AT,BE,BG,CH,CY,CZ,DE,DK,EE,ES,FI,FR,GB,GR,HR,HU,IE,IS,IT,LT,LU,LV,MC,MK,MT,NL,NO,PL,PT,RO,RS,SE,SI,SK,SM,TR),OA(BF,BJ,CF,CG,CI,CM,GA,GN,GQ,GW,KM,ML,MR,NE,SN,TD,TG),AE,AG,AL,AM,AO,AT,AU,AZ,BA,BB,BG,BH,BN,BR,BW,BY,BZ,CA,CH,CL,CN,CO,CR,CU,CZ,DE,DK,DM,DO,DZ,EC,EE,EG,ES,FI,GB,GD,GE,GH,GM,GT,HN,HR,HU,ID,IL,IN,IR,IS,JP,KE,KG,KN,KP,KR,KZ,LA,LC,LK,LR,LS,LU,LY,MA,MD,ME,MG,MK,MN,MW,MX,MY,MZ,NA,NG,NI,NO,NZ,OM,PA,PE,PG,PH,PL,PT,QA,RO,RS,RU,RW,SA,SC,SD,SE,SG,SK,SL,SM,ST,SV,SY,TH,TJ,TM,TN,TR,TT,TZ,UA,UG,US
(71)【出願人】
【識別番号】503000978
【氏名又は名称】アプライド メディカル リソーシーズ コーポレイション
(74)【代理人】
【識別番号】100086771
【弁理士】
【氏名又は名称】西島 孝喜
(74)【代理人】
【識別番号】100088694
【弁理士】
【氏名又は名称】弟子丸 健
(74)【代理人】
【識別番号】100094569
【弁理士】
【氏名又は名称】田中 伸一郎
(74)【代理人】
【識別番号】100095898
【弁理士】
【氏名又は名称】松下 満
(74)【代理人】
【識別番号】100098475
【弁理士】
【氏名又は名称】倉澤 伊知郎
(72)【発明者】
【氏名】ホプキンス ティモシー エム
(72)【発明者】
【氏名】パテル アタル シー
(72)【発明者】
【氏名】ギャドベリー ドナルド エル
(72)【発明者】
【氏名】ベセラ マシュー エム
【テーマコード(参考)】
4C160
【Fターム(参考)】
4C160CC09
4C160CC23
4C160MM32
4C160NN09
(57)【要約】
外科用ステープラが提供される。ステープラは、円周方向チャネルを有し、ステープルがこれら円周方向チャネルを通って弧状経路に沿ってアンビル面に当てて配備される。これら湾曲したチャネルにより、比較的長いレッグを備えたステープルをジョーのところの直径が小さなステープラに用いることができる。また、湾曲した経路を利用することによって、非常に大きなステープルを同一直径の器具内に配置することができる。本発明のステープラに用いられる専用の湾曲した状態のステープルも又、提供される。さらに、円周方向チャネルを備えたステープラ及びステープル配備方法の利益の実現を可能にするために本発明では新規な補強構造体が提供される。ジョー補強構造体は、従来型ステープラの場合のように周囲に沿って配置されるのではなく、器具の中心線又はブレードライン寄りに配置され、それにより器具の周囲の近くの外側領域を空けて長いステープル及びステープル発射コンポーネントのためのスペースを作る。
【特許請求の範囲】
【請求項1】
外科用ステープラであって、
ステープラカートリッジ組立体に連結されたハンドル組立体を有し、前記ステープラカートリッジ組立体は、遠位端部のところに位置するエンドエフェクタを含み、前記エンドエフェクタは、下側ジョーに連結された上側ジョーを有し、前記上側ジョーは、前記ハンドル組立体を介して開き形態と閉じ形態との間で前記下側ジョーに対して動くことができ、前記下側ジョーは、上面を有し、前記上側ジョーは、アンビル面を有し、前記閉じ形態では、前記上面と前記アンビル面との間にステープルされるべき組織を受け入れる隙間が形成され、前記下側ジョーは、前記下側ジョーの長さに沿って長手方向に配置されると共にステープルを受け入れるよう構成された複数のステープルチャネルを更に有し、前記ハンドル組立体のところでの前記ステープラの作動により、ステープルが前記チャネル内の非変形形態から前記アンビル面に当てられて変形形態になって前記隙間内に位置する組織をステープル留めし、各ステープルチャネルは、前記上面のところに開口部を有し、前記ジョーが閉じ形態にある状態で前記エンドエフェクタの前記長手方向軸線に垂直に取った断面内に中心点が定められ、1つ又は2つ以上のステープルチャネルが前記中心点回りに湾曲している、外科用ステープラ。
【請求項2】
前記1本又は2本以上のステープルチャネルは、前記中心点回りに同心である、請求項1記載の外科用ステープラ。
【請求項3】
前記1本又は2本以上のステープルチャネルは、前記中心点回りに楕円形である、請求項1又は2記載の外科用ステープラ。
【請求項4】
前記ステープルチャネル内に設けられた複数のステープルを更に有し、各ステープルは、前記ステープルが入っている前記ステープルチャネルの曲率に合致した湾曲しているレッグを有する、請求項1〜3のうちいずれか一に記載の外科用ステープラ。
【請求項5】
前記ステープルチャネル内に設けられた複数のステープルを更に有し、各ステープルは、互いに間隔を置いて位置した状態でベースに連結された2本のレッグを有し、各ステープルは、非変形形態及び前記レッグが前記エンドエフェクタの前記長手方向軸線に実質的に平行な方向において前記ベースに対して折り曲げられた変形形態を有する、請求項1〜4のうちいずれか一に記載の外科用ステープラ。
【請求項6】
前記ステープルチャネル内に設けられていて、ステープルに接触して該ステープルを突き出すよう構成された複数のプッシャを更に有し、各プッシャは、該プッシャが入っている前記ステープルチャネルの曲率に合致する同心の側面を有する、請求項1〜5のうちいずれか一に記載の外科用ステープラ。
【請求項7】
前記ジョーが閉じ形態にある状態で前記エンドエフェクタの前記長手方向軸線に垂直に取った断面内に中線が定められ、中央チャネルが前記中線に沿い且つ前記エンドエフェクタの前記長さに沿って前記上側ジョー及び前記下側ジョーに形成され、前記中央チャネルは、前記中央チャネル内で長手方向に動くことができると共に前記ステープルチャネル内に設けられた複数のプッシャに順次接触するよう構成されたスライダを受け入れるよう構成されている、請求項1〜6のうちいずれか一に記載の外科用ステープラ。
【請求項8】
外科用ステープラであって、
ステープラカートリッジ組立体に連結されたハンドル組立体を有し、前記ステープラカートリッジ組立体は、遠位端部のところに位置するエンドエフェクタを含み、前記エンドエフェクタは、下側ジョーに連結された上側ジョーを有し、前記上側ジョーは、前記ハンドル組立体を介して開き形態と閉じ形態との間で前記下側ジョーに対して動くことができ、前記下側ジョーは、上面を有し、前記上側ジョーは、アンビル面を有し、前記閉じ形態では、前記上面と前記アンビル面との間にステープルされるべき組織を受け入れる隙間が形成され、前記下側ジョーは、前記下側ジョーの長さに沿って長手方向に配置されると共にステープルを受け入れるよう構成された複数のステープルチャネルを更に有し、前記ハンドル組立体のところでの前記ステープラの作動により、ステープルが前記チャネル内の非変形形態から前記アンビル面に当てられて変形形態になって前記隙間内に位置する組織をステープル留めし、各ステープルチャネルは、前記上面のところに開口部を有し、前記ジョーが閉じ形態にある状態で前記エンドエフェクタの前記長手方向軸線に垂直に取った断面内に中心点及び中線が定められ、前記上面の前記長手方向長さに沿って整列した複数の開口部によって前記中線の各側に2本以上のステープルラインが定められ、ステープルライン中の各ステープルチャネルは、湾曲していて且つ同一の曲率を有し、ステープルチャネルの曲率半径は、前記中線に向かう距離につれて増大する、外科用ステープラ。
【請求項9】
1本又は2本以上のステープルチャネルが前記中心点回りに湾曲している、請求項8記載の外科用ステープラ。
【請求項10】
前記ステープルチャネル内に設けられた複数のステープルを更に有し、各ステープルは、ベースに連結された2本又は3本以上のレッグを有すると共に前記ステープルチャネル内において示す非変形形態及び前記隙間内において示す変形形態を有する、請求項8又は9記載の外科用ステープラ。
【請求項11】
作動時、前記ステープルレッグは、前記チャネル開口部を出て、前記ステープルレッグは、前記上面に垂直に差し向けられるようになっている、請求項8〜10のうちいずれか一に記載の外科用ステープラ。
【請求項12】
外科用ステープラであって、
ステープラカートリッジ組立体に連結されたハンドル組立体を有し、前記ステープラカートリッジ組立体は、遠位端部のところに位置するエンドエフェクタを含み、前記エンドエフェクタは、下側ジョーに連結された上側ジョーを有し、前記上側ジョーは、前記ハンドル組立体を介して開き形態と閉じ形態との間で前記下側ジョーに対して動くことができ、前記下側ジョーは、上面を有し、前記上側ジョーは、アンビル面を有し、前記閉じ形態では、前記上面と前記アンビル面との間にステープルされるべき組織を受け入れる隙間が形成され、前記下側ジョーは、前記下側ジョーの長さに沿って長手方向に配置されると共にステープルを受け入れるよう構成された複数のステープルチャネルを更に有し、前記ハンドル組立体のところでの前記ステープラの作動により、ステープルが前記チャネル内の非変形形態から前記アンビル面に当てられて変形形態になって前記隙間内に位置する組織をステープル留めし、各ステープルチャネルは、前記上面のところに開口部を有し、前記ジョーが閉じ形態にある状態で前記エンドエフェクタの前記長手方向軸線に垂直に取った断面内に中心点及び中線が定められ、前記上面の前記長手方向長さに沿って整列した複数の開口部によって前記中線の各側に2本以上のステープルラインが定められ、1本又は2本以上のステープルチャネルが湾曲しており、同一のステープルライン中の各ステープルチャネルは、同一の曲率を有する、外科用ステープラ。
【請求項13】
前記1本又は2本以上のステープルチャネルは、前記中心点回りに湾曲しており、各ステープルチャネルは、前記中心点回りに同一の曲率を有する、請求項12記載の外科用ステープラ。
【請求項14】
前記ステープルチャネル内に設けられた複数のステープルを更に有し、各ステープルは、ベースに連結された2本又は3本以上のレッグを有すると共に前記ステープルチャネル内において示す非変形形態及び前記隙間内において示す変形形態を有する、請求項12又は13記載の外科用ステープラ。
【請求項15】
作動時、前記ステープルレッグは、前記チャネル開口部を出て、前記ステープルレッグは、前記上面に垂直に差し向けられるようになっている、請求項12〜14のうちいずれか一に記載の外科用ステープラ。
【請求項16】
前記2本以上のステープルラインは、互いに対して同心である、請求項12〜15のうちいずれか一に記載の外科用ステープラ。
【請求項17】
外科用ステープラであって、
ステープラカートリッジ組立体に連結されたハンドル組立体を有し、前記ステープラカートリッジ組立体は、遠位端部のところに位置するエンドエフェクタを含み、前記エンドエフェクタは、下側ジョーに連結された上側ジョーを有し、前記上側ジョーは、前記ハンドル組立体を介して開き形態と閉じ形態との間で前記下側ジョーに対して動くことができ、前記下側ジョーは、上面を有し、前記上側ジョーは、アンビル面を有し、前記閉じ形態では、前記上面と前記アンビル面との間にステープルされるべき組織を受け入れる隙間が形成され、前記下側ジョーは、前記下側ジョーの長さに沿って長手方向に配置されると共にステープルを受け入れるよう構成された複数のステープルチャネルを更に有し、前記ハンドル組立体のところでの前記ステープラの作動により、ステープルが前記チャネル内の非変形形態から前記アンビル面に当てられて変形形態になって前記隙間内に位置する組織をステープル留めし、各ステープルチャネルは、前記上面のところに開口部を有し、前記ジョーが閉じ形態にある状態で前記エンドエフェクタの前記長手方向軸線に垂直に取った断面内に中心点及び中線が定められ、前記ジョーが閉じ形態にある状態で前記エンドエフェクタの前記長手方向軸線に垂直に取られた断面の周囲内に少なくとも1つの追加の点が定められ、前記少なくとも1つの追加の点は、中心点ではなく、前記上面の長手方向長さに沿って整列した複数の開口部によって前記中線の各側に1本又は2本以上のステープルラインが定められ、前記1本又は2本以上のステープルチャネルは、前記中心点又は前記少なくとも1つの追加の点に向かって湾曲している、外科用ステープラ。
【請求項18】
前記中心点及び前記中線は、前記ジョーが閉じ形態にある状態で前記エンドエフェクタの前記長手方向軸線に垂直な平面内への断面の投影像内に定められる、請求項17記載の外科用ステープラ。
【請求項19】
前記1本又は2本以上のステープルチャネルは、前記中心点又は前記少なくとも1つの追加の点回りに楕円形である、請求項17又は18記載の外科用ステープラ。
【請求項20】
前記1本又は2本以上のステープルチャネルは、前記中心点又は前記少なくとも1つの追加の点回りに同心である、請求項17〜19のうちいずれか一に記載の外科用ステープラ。
【請求項21】
ステープルラインに対応した前記ステープルチャネルは、前記中心点又は前記少なくとも1つの追加の点回りに同心であり、前記ステープルチャネルは、少なくとも1本の隣接のステープルラインに対応している、請求項17〜20のうちいずれか一に記載の外科用ステープラ。
【請求項22】
前記エンドエフェクタは、湾曲している、請求項17〜21のうちいずれか一に記載の外科用ステープラ。
【請求項23】
前記ステープルチャネル内に設けられた複数のステープルを更に有し、各ステープルは、前記ステープルが入っている前記ステープルチャネルの曲率に合致した湾曲しているレッグを有する、請求項17〜22のうちいずれか一に記載の外科用ステープラ。
【請求項24】
前記ステープルチャネル内に設けられていて作動時にステープルに接触して該ステープルを突き出すよう構成された複数のプッシャを更に有し、各プッシャは、該プッシャが入っている前記ステープルチャネルの曲率に合致する互いに平行な側面を有する、請求項17〜23のうちいずれか一に記載の外科用ステープラ。
【請求項25】
前記エンドエフェクタは、前記下側ジョー及び前記上側ジョーの長さに沿って長手方向に延びると共にそれにより前記プッシャに順次接触してステープルを突き出して該ステープルを前記アンビルに当てるよう作動時に前記中央チャネル内で動くことができるスライダを受け入れるよう構成された中央チャネルを有する、請求項17〜24のうちいずれか一に記載の外科用ステープラ。
【請求項26】
前記1本又は2本以上のステープルチャネルは、前記中心点又は前記少なくとも1つの追加の点回りに湾曲しており且つ前記上面に垂直である、請求項17〜25のうちいずれか一に記載の外科用ステープラ。
【請求項27】
前記ステープラは、前記ステープルレッグが前記上面に実質的に垂直であるよう前記ステープルチャネルから突き出される、請求項17〜26のうちいずれか一に記載の外科用ステープラ。
【請求項28】
前記1本又は2本以上のステープルチャネルは、前記中心点又は前記少なくとも1つの追加の点回りに楕円形であり且つ前記上面に垂直である、請求項17〜27のうちいずれか一に記載の外科用ステープラ。
【請求項29】
前記1本又は2本以上のステープルチャネルは、前記中心点又は前記少なくとも1つの追加の点回りに湾曲しており且つ前記上面に対して斜めである、請求項17〜28のうちいずれか一に記載の外科用ステープラ。
【請求項30】
前記1本又は2本以上のステープルチャネルは、前記中心点又は前記少なくとも1つの追加の点回りに湾曲しており且つ前記上面に対して合成角をなす平面内に位置している、請求項17〜29のうちいずれか一に記載の外科用ステープラ。
【請求項31】
前記少なくとも1つの追加の点は、前記エンドエフェクタの断面で見て前記中線又は他の直径方向線上に位置している、請求項17〜30のうちいずれか一に記載の外科用ステープラ。
【請求項32】
外科用ステープラであって、
ステープラカートリッジ組立体に連結されたハンドル組立体を有し、前記ステープラカートリッジ組立体は、遠位端部のところに位置するエンドエフェクタを含み、前記エンドエフェクタは、下側ジョーに連結された上側ジョーを有し、前記上側ジョーは、前記ハンドル組立体を介して開き形態と閉じ形態との間で前記下側ジョーに対して動くことができ、前記下側ジョーは、上面を有し、前記上側ジョーは、アンビル面を有し、前記閉じ形態では、前記上面と前記アンビル面との間にステープルされるべき組織を受け入れる隙間が形成され、前記下側ジョーは、前記下側ジョーの長さに沿って長手方向に配置されると共にステープルを受け入れるよう構成された複数のステープルチャネルを更に有し、前記ハンドル組立体のところでの前記ステープラの作動により、ステープルが前記チャネル内の非変形形態から前記アンビル面に当てられて変形形態になって前記隙間内に位置する組織をステープル留めし、各ステープルチャネルは、前記上面のところに開口部を有し、前記ジョーが閉じ形態にある状態で前記エンドエフェクタの前記長手方向軸線に垂直に取った断面内に中心点及び中線が定められ、前記上面の前記長手方向長さに沿って整列した複数の開口部によって前記中線の各側に1本又は2本以上のステープルラインが定められ、前記1本又は2本以上のステープルチャネルは、湾曲しており、前記下側ジョーの前記上面は、前記アンビル面に向かって前記中線平面に対して角度が付けられている、外科用ステープラ。
【請求項33】
前記1本又は2本以上のステープルチャネルは、前記中心点回りに湾曲している、請求項32記載の外科用ステープラ。
【請求項34】
前記上面及び前記アンビル面は、前記中線平面に対して角度が付けられており、前記上面と前記アンビル面は、互いに実質的に平行である、請求項32又は33記載の外科用ステープラ。
【請求項35】
前記下側ジョーの前記上面は、前記アンビル面に向かって凹状である、請求項32〜34のうちいずれか一に記載の外科用ステープラ。
【請求項36】
前記下側ジョーの前記上面は、互いに鋭角をなす2つの表面を形成するよう分岐している、請求項32〜35のうちいずれか一に記載の外科用ステープラ。
【請求項37】
前記上面は、前記角度の頂点が実質的に前記中線のところに位置した状態で前記上面が2つの表面を形成するよう分岐している、請求項32〜36のうちいずれか一に記載の外科用ステープラ。
【請求項38】
前記上面は、3つの表面を形成し、2つの表面相互間に鋭角が作られ、前記2つの表面は、前記長手方向軸線に垂直に取った断面で見て弦を定める第3の表面によって相互に連結されている、請求項32〜37のうちいずれか一に記載の外科用ステープラ。
【請求項39】
外科用ステープラであって、
ステープラカートリッジ組立体に連結されたハンドル組立体を有し、前記ステープラカートリッジ組立体は、遠位端部のところに位置するエンドエフェクタを含み、前記エンドエフェクタは、下側ジョーに連結された上側ジョーを有し、前記上側ジョーは、前記ハンドル組立体を介して開き形態と閉じ形態との間で前記下側ジョーに対して動くことができ、前記下側ジョーは、上面を有し、前記上側ジョーは、アンビル面を有し、前記閉じ形態では、前記上面と前記アンビル面との間にステープルされるべき組織を受け入れる隙間が形成され、前記下側ジョーは、前記下側ジョーの長さに沿って長手方向に配置されると共にステープルを受け入れるよう構成された複数のステープルチャネルを更に有し、前記ハンドル組立体のところでの前記ステープラの作動により、ステープルが前記チャネル内の非変形形態から前記アンビル面に当てられて前記隙間内で変形形態になって前記隙間内に位置する組織をステープル留めし、各ステープルチャネルは、前記上面のところに開口部を有し、前記ジョーが閉じ形態にある状態で前記エンドエフェクタの前記長手方向軸線に垂直に取った断面内に中心点及び中線が定められ、前記上面の前記長手方向長さに沿って整列した複数のチャネル開口部によって前記中線の各側に1本又は2本以上のステープルラインが定められ、前記1本又は2本以上のステープルチャネルは、湾曲している、外科用ステープラ。
【請求項40】
前記ステープルチャネル内に設けられた複数のステープルを更に有し、各ステープルは、延びている状態のレッグを備えたベースを有し、各ステープルは、前記ステープルレッグが、前記ステープルレッグが入っている前記ステープルチャネルの曲率に合致するよう湾曲した非変形形態及び前記ステープルレッグが組織を捕捉するよう互いに閉じられた変形形態を有する、請求項39記載の外科用ステープラ。
【請求項41】
前記ステープルチャネル内に設けられた複数のステープルを更に有し、各ステープルは、互いに間隔を置いて配置されると共にベースに連結された2本のレッグを有し、各ステープルは、非変形形態及び前記レッグが前記エンドエフェクタの前記長手方向軸線に実質的に平行な方向において前記ベースに対して折り曲げられた変形形態を有する、請求項39又は40記載の外科用ステープラ。
【請求項42】
各ステープルは、2本のレッグを有する、請求項39〜41のうちいずれか一に記載の外科用ステープラ。
【請求項43】
各ステープルは、2本のレッグを有し、前記ステープラは、作動時、一方のレッグが他方のレッグの前に前記アンビル面に接触するよう構成されている、請求項39〜42のうちいずれか一に記載の外科用ステープラ。
【請求項44】
各ステープルは、4本のレッグを有する、請求項39〜43のうちいずれか一に記載の外科用ステープラ。
【請求項45】
各ステープルは、4本のステープルレッグを有し、前記ステープラは、作動時、2本のレッグが残りの2本のレッグの前に前記アンビル面に接触するよう構成されている、請求項39〜44のうちいずれか一に記載の外科用ステープラ。
【請求項46】
前記ステープルは、2本又は4本のレッグを有し、前記レッグの全ては、前記変形形態では同一の側に曲げられる、請求項39〜45のうちいずれか一に記載の外科用ステープラ。
【請求項47】
前記ステープルは、2本又は4本のレッグを有し、前記ステープルベースは、前記長手方向軸線に平行に整列し、前記ステープルレッグは、前記変形形態では前記長手方向軸線に実質的に垂直に整列する、請求項39〜46のうちいずれか一に記載の外科用ステープラ。
【請求項48】
前記ステープルは、2本のレッグを有し、前記ステープルは、実質的にB字形変形形態をなす、請求項39〜47のうちいずれか一に記載の外科用ステープラ。
【請求項49】
前記ステープルは、2本のレッグを有し、前記ステープルレッグは、前記変形形態では2つの開いた円を形成する、請求項39〜48のうちいずれか一に記載の外科用ステープラ。
【請求項50】
前記ステープルは、2本のレッグを有し、前記ステープルレッグは、互いに対して平行であり且つ更に前記変形形態では前記ステープルの前記ベースに垂直な2つの平面内に位置する2つの開いた円を形成する、請求項39〜49のうちいずれか一に記載の外科用ステープラ。
【請求項51】
前記ステープルは、ベースに連結された2本のレッグを有し、前記ステープルレッグと前記ベースは、前記隙間内の前記変形形態において前記長手方向軸線に平行に整列する、請求項39〜50のうちいずれか一に記載の外科用ステープラ。
【請求項52】
前記ステープルチャネル内に設けられた複数のステープルを更に有し、各ステープルは、互いに間隔を置いて配置されると共に前記ステープルのベースに連結された2本のレッグを有し、各ステープルは、前記チャネル内の非変形形態及び前記隙間内の変形形態を有し、作動時、前記ステープルレッグは、前記エンドエフェクタの前記長手方向軸線に対して横の方向に偏向されて前記変形形態になる、請求項39〜51のうちいずれか一に記載の外科用ステープラ。
【請求項53】
前記ステープルチャネル内に設けられた複数のステープルを更に有し、各ステープルは、互いに間隔を置いて配置されると共に前記ステープルのベースに連結された2本のレッグを有し、各ステープルは、前記チャネル内の非変形形態及び前記隙間内の変形形態を有し、作動時、前記ステープルレッグは、前記エンドエフェクタの前記長手方向軸線に沿う方向に偏向されて前記変形形態になる、請求項39〜52のうちいずれか一に記載の外科用ステープラ。
【請求項54】
前記ステープルチャネル内に設けられていて作動時に前記ステープルに接触して該ステープルを突き出すよう構成された複数のプッシャを更に有し、各プッシャは、該プッシャが入っている前記ステープルチャネルの曲率に合致する互いに平行な側面を有する、請求項39〜53のうちいずれか一に記載の外科用ステープラ。
【請求項55】
前記中線に沿うと共に前記エンドエフェクタの長さに沿って前記上側ジョー及び前記下側ジョーに形成された中央チャネルを更に有し、前記中央チャネルは、前記中央チャネル内で長手方向に動くことができると共に前記ステープルチャネル内に設けられた複数のプッシャに順次接触するよう構成されたスライダを受け入れるよう構成されている、請求項39〜54のうちいずれか一に記載の外科用ステープラ。
【請求項56】
閉じ形態では、前記ジョーは、前記エンドエフェクタの前記長手方向軸線に沿って取った実質的に円形の断面を形成する、請求項39〜55のうちいずれか一に記載の外科用ステープラ。
【請求項57】
前記ステープルチャネルは、前記中心点の回りに湾曲している、請求項39〜56のうちいずれか一に記載の外科用ステープラ。
【請求項58】
外科用ステープラであって、
ステープラカートリッジ組立体に連結されたハンドル組立体を有し、前記ステープラカートリッジ組立体は、遠位端部のところにエンドエフェクタを含み、前記エンドエフェクタは、下側ジョーに連結された上側ジョーを有し、前記上側ジョーは、前記ハンドル組立体を介して開き形態と閉じ形態との間で前記下側ジョーに対して動くことができ、前記下側ジョーは、上面を有し、前記上側ジョーは、アンビル面を有し、前記閉じ形態では、前記上面と前記アンビル面との間にステープルされるべき組織を受け入れる隙間が形成され、前記下側ジョーは、前記下側ジョーの長さに沿って長手方向に配置されると共にステープルを受け入れるよう構成された複数のステープルチャネルを更に有し、前記ハンドル組立体のところでの前記ステープラの作動により、ステープルが前記下側ジョー内の非変形形態から前記上側ジョーの前記アンビル面に当てられて前記隙間内で変形形態になって前記隙間内に位置する組織をステープル留めし、各ステープルチャネルは、前記上面のところに開口部を有し、ステープルが前記開口部を通って前記下側ジョーを出、前記ジョーが閉じ形態にある状態で前記エンドエフェクタの前記長手方向軸線に垂直に取った断面内に中心点及び中線が定められ、前記上面の前記長手方向長さに沿ってそれぞれ内側の列及び隣接の外側の列の状態に整列する複数のチャネル開口部によって前記中線の各側に内側ステープルライン及び外側ステープルラインが定められ、前記ステープルチャネルは、前記ステープルチャネル内に配置された湾曲したステープルを案内するための湾曲した経路を提供するよう湾曲しており、
前記下側ジョーは、前記下側ジョーの前記上面に連結された複数の湾曲した内側リブ及び複数の湾曲した外側リブを有し、
前記下側ジョー内に設けられていて、前記内側の列からステープルに接触して該ステープルを突き出すよう構成された複数の内側プッシャを有し、各内側プッシャは、外面及び内面並びに2つの端面によって相互に連結された頂面及び底面を有し、前記内側プッシャの前記頂面は、ステープルに接触して該ステープルを前記上面のその対応した開口部から突き出すよう構成されており、前記内側プッシャの前記外面は、外側リブの一部を受け入れるよう構成されたチャネルを有し、前記内側プッシャの前記内面及び前記外面は、湾曲しており、
前記下側ジョーに設けられていて前記外側の列からステープルに接触して該ステープルを突き出すよう構成された複数の外側プッシャを有し、各外側プッシャは、外面及び内面並びに2つの端面によって相互に連結された頂面及び底面を有し、前記外側プッシャの前記頂面は、ステープルに接触して該ステープルを前記上面のその対応した開口部から突き出すよう構成されており、前記外側プッシャの前記内面は、隣り合う内側プッシャの前記端面相互間に当接するよう構成された突出部を有し、前記内側プッシャの前記内面及び前記外面は、湾曲している、外科用ステープラ。
【請求項59】
各プッシャは、前記ステープルチャネルの曲率に合致する同心の側面を有する、請求項58記載の外科用ステープラ。
【請求項60】
前記中線に沿うと共に前記エンドエフェクタの前記長さに沿って前記上側ジョー及び前記下側ジョーに形成された中央チャネルを更に有し、前記中央チャネルは、前記中央チャネル内で長手方向に動くことができると共に前記複数のプッシャに順次接触するよう構成されたスライダを受け入れるよう構成されている、請求項58又は59記載の外科用ステープラ。
【請求項61】
前記下側ジョーは、外側の前記下側ジョー内に配置された内側の下側ジョーを含み、前記外側の下側ジョーは、部分的に円筒形シェルを構成する、請求項58〜60のうちいずれか一に記載の外科用ステープラ。
【請求項62】
前記ステープルチャネルは、前記中心点に向かって湾曲している、請求項58〜61のうちいずれか一に記載の外科用ステープラ。
【請求項63】
前記中線に沿うと共に前記エンドエフェクタの前記長さに沿って前記上側ジョー及び前記下側ジョーに形成された中央チャネルを更に有し、前記中央チャネルは、前記中央チャネル内で長手方向に動くことができ且つ複数のプッシャに順次接触するよう構成されたスライダを受け入れるよう構成され、前記スライダは、側方底部分に相互連結された側方の頂部分を有し、前記側方の頂部分及び前記側方の底部分の遠位端部は、球状であり又は前記遠位端部相互間に対して拡大されている、請求項58〜62のうちいずれか一に記載の外科用ステープラ。
【発明の詳細な説明】
【技術分野】
【0001】
本開示内容、即ち本発明は、外科用器械に関し、特に複数の外科用ステープルを身体組織に留める外科用ステープル留め器械に関する。
【0002】
本願は、2014年6月11日に出願された米国特許仮出願第62/010,883号(発明の名称:Surgical stapler with circumferential firing)の優先権及び権益主張出願であり、この米国特許仮出願を参照により引用し、その記載内容全体を本明細書の一部とする。
【背景技術】
【0003】
典型的な器械である外科用ステープラ(吻合器)は、近位端部のところに位置するハンドル及び遠位端部のところに位置する2つの細長いジョー状部材を有し、このハンドルとジョー部材は、ヒンジのところで互いに接合されている。ジョー状部材は、開いたり閉じたりして組織をジョー状部材相互間に捕捉するよう関節運動する。ユーザは、この器械又は器具をハンドルから操作してジョー状部材を開閉し、ステープルの配備を行い、そして一般的に言えば器具を操作すると共に制御する。ジョー部材のうちの一方は、1つ又は2つ以上の列をなした状態で配置されたステープルを収容するカートリッジを担持している。ジョー状部材のもう一方は、アンビル面を有し、ステープルは、このアンビル面に打ち付けられてステープルレッグが変形する。ステープルは、カム作用面によって又はスライダが長手方向に動いて複数の側方に位置決めされたプッシャに当たり、これらプッシャが各ステープルをカートリッジから押し出すことによってカートリッジから打ち出される。スライダのカム作用面は、プッシャの傾斜した表面と相補するよう角度が付けられている。ステープラの中には、送り出されるステープルの2つ又は3つ以上の列の間の組織を切断するようカム作用面をたどるブレードを含むものがある。
【0004】
外科用ステープラは、種々の外科的技術で用いられ、かかる外科的技術としては、ステープラが患者の体内の小さな切開創内に位置決めされたカニューレ又は管を通って挿入される腹腔鏡下及び/又は内視鏡下外科的処置又は他の低侵襲外科的処置が挙げられる。腹腔鏡下低侵襲手術では、トロカールが患者の身体組織を横切って挿入されて体腔に接近し、そしてカメラ、例えば腹腔鏡の挿入のためのチャネルを作る。カメラは、ライブビデオフィード捕捉画像を提供し、次に、かかるライブビデオフィード捕捉画像は、1つ又は2つ以上のビデオモニタ上で外科医に表示される。追加のトロカールを挿入して追加の経路を作り、ビデオモニタ上で観察される手技を実施するために外科用ステープラを含む外科用器械をこれら追加の経路に通して挿入するのが良い。標的組織の場所、例えば腹部は、典型的には、二酸化炭素ガスを送り出して体腔にガス注入して外科医により用いられるスコープ及び器械を収容するのに足るほど広い作業空間を作ることによって拡大される。組織腔内のガス注入圧力は、注入ガスが手術用作業空間から逃げ出てかかる作業空間を潰すのを阻止するシールを備えた専用トロカールを用いることによって維持される。腹腔鏡下手術は、開放手技と比較して多くの利点を提供する。これら利点としては、疼痛が軽減されると共に血液の損失が少ないこと及び回復時間が短いことが挙げられる。
【0005】
腹腔鏡下手術は、技術的に進歩してますます低侵襲になっており、切開創及びトロカール/カニューレ直径は、ますます小さくなっているので、腹腔鏡下低侵襲手技で用いられる外科用ステープラは、カニューレの小さなルーメン内に嵌まるよう設計されなければならない。一般的に言って、外科用ステープラは、ジョー状部材が閉じられたときの状態でカニューレ中に挿入され、ついには、この器具のジョーが患者の体内に位置するようになり、ここで、ジョー状部材を開いて組織を把持してステープル留めする。ステープラのハンドルは、ユーザとしての外科医の制御下にある状態で患者の体外に位置する。ジョー状部材とハンドルとの間のステープルのシャフトの一部分は、患者の体外から患者の体内まで延びるのに十分長い。ステープル留め手技の間、ステープラの細長いシャフトは、これが挿入されたカニューレの内側に位置したままである。
【0006】
遠位ジョー状部材は、多くのコンポーネント、例えばステープルを形成するためのアンビル、複数のステープルを備えたステープルカートリッジ、カム作用面、スライダ、プッシャ、ブレード及び他のコンポーネントを含み、これらは全て、小径のカニューレ中に嵌まるのに十分小さくなければならず、しかも患者の体外から確実にしかも繰り返して機能するよう作られなければならない。図1Aに示されているように、外科用ステープラ2aの遠位ジョー状部材は、閉じられると、実質的に円形の断面を有し、この場合、断面のほぼ半分は、ステープル7aを収容した下側ジョー3aを含む。断面のもう半分とほぼ同じほどの部分は、アンビルを収容した上側ジョー4aを含む。遠位ジョーの円形断面は、上側ジョーと下側ジョーとの間に形成されていてステープル留めされるべき組織を受け入れる隙間5aを有する。図1Aでは、垂線6aがこの断面を半分に分割していて、ステープル7aの1つ又は2つ以上の列相互間の組織を切断するためのブレードを担持したブレードライン又はIビームを表している。Iビームは、遠位端部の長さに沿って実質的に摺動し、このIビームは又、ステープル7aを下側ジョー3aから押し出し、隙間5aを横切らせ、そして上側ジョー4aのアンビルに当てるよう機能する。図1Aの複数の垂線7aは、ブレードライン6aの各側で下側ジョー3a内に位置する垂直に配置されたステープル7aの3つの列を表している。従来設計のステープラでは、ステープルを垂直に突き出してアンビル面に当てる。
【0007】
従来型腹腔鏡下ステープラの直径は、約12ミリメートルであるが、患者に小さな切開創、回復時間の減少及び瘢痕化の減少をもたらためにステープラの直径を減少させて約5〜10mmという小さい直径を有するカニューレ内に嵌まるようにすることが望ましい。図1Bは、図1Aに示されたのと同一の従来設計が施された縮径ステープラを示している。図1Bで理解できるように、小型のステープラ2bは、小さな直径を有し、その結果、下側ジョー3b及び上側ジョー4bのためのスペースが小さくなっている。組織隙間5bは、大型ステープラ2aの組織隙間5bとほぼ同じであってほぼ同じ厚さを有する組織をステープル留めするようになっている。直径の減少及びステープルを垂直に突き出してアンビル面に当てる従来設計の結果として、小型ステープラ2bは、図1Bに示されているような短いステープルレッグを備えたステープル7bを下側ジョー3b内に受け入れる。図1Bの小型形態のステープルレッグの長さSBは、図1Aの大型形態のステープルレッグの長さSAよりも著しく短い。これは、同じ従来設計を採用した小径のステープラにおけるステープルレッグ長さの固有の制約である。それ故、小径カニューレ中に挿入可能であると同時に大型ステープルを発射又は発火する同一の能力を依然として保つ小径ステープラを提供することが望ましい。
【0008】
図2Aは、ブレードライン6aに沿って切断され、そして図1Aの従来型ステープラ2aでステープル留めされた組織8aを示している。図2Aは、ブレードライン6aに隣接して位置する組織8a中に送り出されたステープル7aの3つの列を示している。ブレードライン6aの反対側に位置するステープル7aの他の3つの列は、図2Aには示されていない組織セグメント中に送り出される。距離CAは、ステープル留めされた組織8aの長さである。図2Bは、ブレードライン6bに沿って切断され、そして図1aのステープラに対して小さな直径を有する図1Bの従来型ステープラ2bでステープル留めされた組織8bを示している。図2Bも又、ブレードライン6bに隣接して位置する組織8b中に送り込まれたステープル7bの3つの列を示している。距離CBは、ステープル留めされた組織8bの長さである。図2Aの長さCAと比較して、小径のステープラ2bは、短い長さCBを生じさせる。長さCBは、ステープル7bが減少した下側ジョー3bの領域内に密接して配置されるので、当然のことながら短い。
【0009】
また、長いステープルが図2Aと比較して図2Bに示されているように直径の近くに配置されるので、ブレードライン又は切れ刃と切れ刃又はブレードラインの最も近くに位置するステープル列との間の距離であるカフ長さが短くても良い。小径形態のステープラ2b中にステープル7bの多数の列を嵌め込むため、ステープラ2bは、図2Bに示されているようにブレードライン6bのできるだけ近くにステープル7bの列を送り出すよう構成されている。送り出されるステープル7bのこのラインは、近接性に関して、大径形態のステープラ2a内のステープル7aの同一のラインの場合よりも、ブレードライン6bの方に極めて近い。ブレードライン6bに対するステープルの近接性により、不発のステープルがブレードラインを横切る恐れが増大する場合がある。また、ブレードラインに対するステープルの近接性の結果として、ステープル7bの最初のラインが組織の保持を減少させる場合のある組織8bのエッジに極めて近くなる。それ故、ステープルがつかえて動かなくなる恐れを減少させると共にステープルラインと組織のエッジとの間により多くの組織を提供する小型ステープラを提供することが望ましい。
【0010】
上述の目的を達成するため、従来設計を利用する小径のステープラでは、これが設計上、短いステープル又は他の設計上の妥協策を有することが必要な場合がある。それ故、上述の目的を犠牲にすることなく、それでいて小径を利用した設計の同一の機能及び効果を保持する小型ステープラを提供することが望ましい。
【0011】
また、他の多くの要因が改良型ステープラを実現するための方程式に入り込んでくる。これら要因としては、ステープルを送り出すために必要とされる力を減少させることが挙げられるが、これには限定されない。作動力を減少させることにより、外科的処置において手際の良さを必要とする外科医にとっての正確さが向上すると共に外科医の疲労が減少する。典型的には、ステープラを垂直に発射してアンビル面に当てると、ステープルレッグは、座屈せざるを得ない。良好なステープラを作る別の要因は、変形後のステープルの強度である。例えば、変形後のステープルは、ステープルの配設場所の組織を過度に圧迫せず又は切断しないで、組織を受け入れるスペースを有する形状を備えなければならない。また、ステープルの変形後の形状は、ステープルを引いて開く傾向のある力に耐えるのに十分強固でなければならない。全体的に言って、本発明の目的は、上述の要因並びに他の設計上の要因を考慮に入れて縮径ステープラ及びその結果として得られるステープルラインの機能及び効果を保持する改良型ステープラを提供することにある。逆に、本発明の目的は、円周方向発射を行わないで従来可能であった場合よりも円周方向発射方式の長いステープルを発射することができる従来型外科用ステープルと同一の直径を有するステープラを提供することにある。
【発明の概要】
【0012】
外科用ステープラが提供される。ステープラは、円周方向チャネルを有し、ステープルがこれら円周方向チャネルを通って弧状経路に沿ってアンビル面に当てて配備される。これら湾曲したチャネルにより、比較的長いレッグを備えたステープルをジョーのところの直径が小さなステープラに用いることができる。また、湾曲した経路を利用することによって、非常に大きなステープルを同一直径の器具内に配置することができる。或る特定の実施形態では、最大3倍までの大きなステープルを本発明のステープラに使用することができる。本発明のステープラに用いられる専用の湾曲した状態のステープルも又、提供される。さらに、円周方向チャネルを備えたステープラ及びステープル配備方法の利益の実現を可能にするために本発明では新規なジョー補強構造体も又提供される。ステープルジョー補強構造体は、従来型ステープラの場合のように周囲に沿って配置されるのではなく、器具の中心線又はブレードライン寄りに配置され、それにより器具の周囲の近くの外側領域を空けて長いステープル及びステープル発射コンポーネントのためのスペースを作る。
【0013】
本発明の別の観点によれば、外科用ステープラが提供される。外科用ステープラは、ステープラカートリッジ組立体に連結されたハンドル組立体を有し、ステープラカートリッジ組立体は、遠位端部のところに位置するエンドエフェクタを含む。エンドエフェクタは、下側ジョーに連結された上側ジョーを有し、上側ジョーは、ハンドル組立体を介して開き形態と閉じ形態との間で下側ジョーに対して動くことができるようになっている。下側ジョーは、上面を有し、上側ジョーは、アンビル面を有する。閉じ形態では、上面とアンビル面との間にステープルされるべき組織を受け入れる隙間が形成される。下側ジョーは、下側ジョーの長さに沿って長手方向に配置されると共にステープルを受け入れるよう構成された複数のステープルチャネルを更に有する。各ステープルチャネルは、上面のところに開口部を有する。ジョーが閉じ形態にある状態でエンドエフェクタの長手方向軸線に垂直に取った断面内に中心点が定められ、1つ又は2つ以上のステープルチャネルは、中心点回りに湾曲している。別の形態では、ステープルチャネルは、中心点回りに同心である。別の形態では、1本又は2本以上のステープルチャネルは、中心点回りに楕円形である。別の実施形態では、ステープラは、ステープルチャネル内に設けられた複数のステープルを更に有し、各ステープルは、ステープルが入っているステープルチャネルの曲率に合致した湾曲しているレッグを有する。別の実施形態では、ステープラは、ステープルチャネル内に設けられていて、ステープルに接触してこれらステープルを突き出すよう構成された複数のプッシャを更に有し、各プッシャは、このプッシャが入っているステープルチャネルの曲率に合致する同心の側面を有する。
【0014】
本発明の別の観点では、外科用ステープラが提供される。外科用ステープラは、ステープラカートリッジ組立体に連結されたハンドル組立体を有する。ステープラカートリッジ組立体は、遠位端部のところに位置するエンドエフェクタを含む。エンドエフェクタは、下側ジョーに連結された上側ジョーを有し、上側ジョーは、ハンドル組立体を介して開き形態と閉じ形態との間で下側ジョーに対して動くことができるようになっている。当然のことながら、上側ジョーと下側ジョーのいずれか一方は、他方に対して可動であるのが良く、別の形態では、両方のジョーが可動である。下側ジョーは、上面を有し、上側ジョーは、アンビル面を有する。閉じ形態では、上面とアンビル面との間にステープルされるべき組織を受け入れる隙間が形成される。下側ジョーは、下側ジョーの長さに沿って長手方向に配置されると共にステープルを受け入れるよう構成された複数のステープルチャネルを更に有する。各ステープルチャネルは、上面のところに開口部を有する。ジョーが閉じ形態にある状態でエンドエフェクタの長手方向軸線に垂直に取った断面によって中心点及び中線が定められる。上面の長手方向長さに沿って整列した複数の開口部によって中線の各側に2本以上のステープルラインが定められ、ステープルチャネルは、中心点回りに湾曲しており、ステープルライン中の各ステープルチャネルは、同一の曲率を有し、ステープルチャネルの曲率半径は、中線に向かう距離につれて増大する。
【0015】
本発明の別の観点によれば、外科用ステープラが提供される。外科用ステープラは、ステープラカートリッジ組立体に連結されたハンドル組立体を有する。ステープラカートリッジ組立体は、遠位端部のところに位置するエンドエフェクタを含む。エンドエフェクタは、下側ジョーに連結された上側ジョーを有し、上側ジョーは、ハンドル組立体を介して開き形態と閉じ形態との間で下側ジョーに対して動くことができるようになっている。下側ジョーは、上面を有し、上側ジョーは、アンビル面を有する。閉じ形態では、上面とアンビル面との間にステープルされるべき組織を受け入れる隙間が形成される。下側ジョーは、下側ジョーの長さに沿って長手方向に配置されると共にステープルを受け入れるよう構成された複数のステープルチャネルを更に有する。各ステープルチャネルは、上面のところに開口部を有する。ジョーが閉じ形態にある状態でエンドエフェクタの長手方向軸線に垂直に取った断面によって中心点及び中線が定められる。上面の長手方向長さに沿って整列した複数の開口部によって中線の各側に2本以上のステープルラインが定められ、ステープルチャネルは、中心点回りに湾曲しており、各ステープルチャネルは、中心点回りに同一の曲率を有する。
【0016】
本発明の別の観点によれば、外科用ステープラが提供される。外科用ステープラは、ステープラカートリッジ組立体に連結されたハンドル組立体を有する。ステープラカートリッジ組立体は、遠位端部のところに位置するエンドエフェクタを含む。エンドエフェクタは、下側ジョーに連結された上側ジョーを有し、上側ジョーは、ハンドル組立体を介して開き形態と閉じ形態との間で下側ジョーに対して動くことができるようになっている。下側ジョーは、上面を有し、上側ジョーは、アンビル面を有する。閉じ形態では、上面とアンビル面との間にステープルされるべき組織を受け入れる隙間が形成される。下側ジョーは、下側ジョーの長さに沿って長手方向に配置されると共にステープルを受け入れるよう構成された複数のステープルチャネルを更に有する。各ステープルチャネルは、上面のところに開口部を有する。ジョーが閉じ形態にある状態でエンドエフェクタの長手方向軸線に垂直に取った断面内に中心点及び中線が定められる。ジョーが閉じ形態にある状態でエンドエフェクタの長手方向軸線に垂直に取られた断面の周囲内に少なくとも1つの追加の点が定められる。少なくとも1つの追加の点は、中心点ではない。上面の長手方向長さに沿って整列した複数の開口部によって中線の各側に2本以上のステープルラインが定められ、1本又は2本以上のステープルチャネルが中心点又は少なくとも1つの追加の点回りに湾曲している。別の形態では、1本又は2本以上のステープルチャネルは、中心点又は少なくとも1つの追加の点回りに楕円形である。別の形態では、ステープラは、ステープルチャネル内に設けられた複数のステープルを更に有し、各ステープルは、ステープルが入っているステープルチャネルの曲率に合致した湾曲しているレッグを有する。別の形態では、ステープラは、ステープルチャネル内に設けられていて作動時にステープルに接触してこれらステープルを突き出すよう構成された複数のプッシャを更に有し、各プッシャは、このプッシャが入っているステープルチャネルの曲率に合致する同心の側面を有する。別の形態では、1本又は2本以上のステープルチャネルは、中心点又は少なくとも1つの追加の点回りに湾曲しており且つ上面に垂直である。別の形態では、1本又は2本以上のステープルチャネルは、中心点又は少なくとも1つの追加の点回りに楕円形であり且つ上面に垂直である。別の形態では、1本又は2本以上のステープルチャネルは、中心点又は少なくとも1つの追加の点回りに湾曲しており且つ上面に対して斜めである。別の形態では、1本又は2本以上のステープルチャネルは、中心点又は少なくとも1つの追加の点回りに湾曲しており且つ上面に対して合成角をなす平面内に位置する。
【0017】
本発明の別の観点によれば、外科用ステープラが提供される。外科用ステープラは、ステープラカートリッジ組立体に連結されたハンドル組立体を有する。ステープラカートリッジ組立体は、遠位端部のところに位置するエンドエフェクタを含む。エンドエフェクタは、下側ジョーに連結された上側ジョーを有し、上側ジョーは、ハンドル組立体を介して開き形態と閉じ形態との間で下側ジョーに対して動くことができるようになっている。下側ジョーは、上面を有し、上側ジョーは、アンビル面を有する。閉じ形態では、上面とアンビル面との間にステープルされるべき組織を受け入れる隙間が形成される。下側ジョーは、下側ジョーの長さに沿って長手方向に配置されると共にステープルを受け入れるよう構成された複数のステープルチャネルを更に有する。各ステープルチャネルは、上面のところに開口部を有する。ジョーが閉じ形態にある状態でエンドエフェクタの長手方向軸線に垂直に取った断面によって中心点及び中線が定められる。ステープルチャネルは、中心点回りに湾曲しており、下側ジョーの上面は、アンビル面に向かって中線平面に対して角度が付けられている。別の形態では、上面及びアンビル面は、中線平面に対して角度が付けられており、上面とアンビル面は、互いに実質的に平行である。別の形態では、下側ジョーの上面は、アンビル面に向かって凹状である。別の形態では、下側ジョーの上面は、互いに鋭角をなす2つの表面を形成するよう分岐している。別の形態では、上面は、角度の頂点が実質的に中線のところに位置した状態で上面が2つの表面を形成するよう分岐している。別の形態では、上面は、3つの表面を形成し、2つの表面相互間に鋭角が作られ、2つの表面は、長手方向軸線に垂直に取った断面で見て弦を定める第3の表面によって相互に連結されている。
【0018】
本発明の別の観点によれば、外科用ステープラが提供される。外科用ステープラは、ステープラカートリッジ組立体に連結されたハンドル組立体を有する。ステープラカートリッジ組立体は、遠位端部のところに位置するエンドエフェクタを含む。エンドエフェクタは、下側ジョーに連結された上側ジョーを有し、上側ジョーは、ハンドル組立体を介して開き形態と閉じ形態との間で下側ジョーに対して動くことができるようになっている。下側ジョーは、上面を有し、上側ジョーは、アンビル面を有する。閉じ形態では、上面とアンビル面との間にステープルされるべき組織を受け入れる隙間が形成される。下側ジョーは、下側ジョーの長さに沿って長手方向に配置されると共にステープルを受け入れるよう構成された複数のステープルチャネルを更に有する。各ステープルチャネルは、上面のところに開口部を有する。ジョーが閉じ形態にある状態でエンドエフェクタの長手方向軸線に垂直に取った断面によって中心点が定められ、ステープルチャネルは、中心点回りに湾曲している。外科用ステープラは、ステープルチャネル内に設けられた複数のステープルを更に有するのが良い。各ステープルは、上方に延びるレッグを備えたベースを有する。各ステープルは、ステープルレッグが入っているステープルチャネルの曲率に合致するようステープルレッグが湾曲した非変形形態及びステープルレッグが組織を捕捉するよう閉じられる変形形態を有する。ハンドル組立体のところでのステープラの作動により、ステープルがチャネル内の非変形形態からアンビル面に当てられて変形形態に移行する。一形態では、各ステープルは、2本のレッグを有する。別の形態では、各ステープルは、2本のレッグを有し、ステープラは、一方のレッグが他方のレッグの前にアンビル面に接触するよう構成されている。一形態では、各ステープルは、4本のレッグを有する。一形態では、各ステープルは、4本のステープルレッグを有し、ステープラは、2本のレッグが残りの2本のレッグの前にアンビル面に接触するよう構成されている。別の形態では、ステープルは、2本又は4本のレッグを有し、レッグの全ては、変形形態では同一の側に曲げられる。別の形態では、ステープルは、2本又は4本のレッグを有し、ステープルベースは、長手方向軸線に平行に整列し、ステープルレッグは、変形形態では長手方向軸線に実質的に垂直に整列する。別の形態では、ステープルは、2本のレッグを有し、ステープルは、実質的にB字形変形形態をなす。別の形態では、ステープルは、2本のレッグを有し、ステープルレッグは、2つの開いた円を形成する。別の形態では、ステープルは、2本のレッグを有し、ステープルレッグは、互いに対して平行であり且つ更にステープルのベースに垂直な2つの平面内に位置する2つの開いた円を形成する。別の形態では、ステープルは、2本のレッグを有し、ステープルレッグとベースは、変形形態では長手方向軸線に平行に整列する。
【図面の簡単な説明】
【0019】
図1A】従来型外科用ステープラの遠位端部の概略断面図である。
図1B】小径の従来型外科用ステープラの遠位端部の概略断面図である。
図2A】組織の断面平面図であり、ステープルが図1Aのステープラで送り出されたステープルラインを形成している状態を示す図である。
図2B】組織の断面平面図であり、ステープルが図1Bのステープラで送り出されたステープルラインを形成している状態を示す図である。
図3】本発明の外科用ステープラの上から見た斜視図である。
図4】本発明のステープラカートリッジ組立体の側面図である。
図5】本発明のステープラカートリッジ組立体の近位端部の半透視側面図である。
図6】本発明のアクチュエータシャフト及びIビームスライダの側面図である。
図7】本発明のIビームスライダの上から見た斜視図である。
図8】本発明のIビームスライダの側面図である。
図9】本発明のIビームスライダの平面図である。
図10】本発明のIビームスライダの底面図である。
図11】本発明のIビームスライダの正面図である。
図12】本発明のIビームスライダの背面図である。
図13】本発明に従ってジョーが開き位置にある状態のエンドエフェクタの上から見た半透視斜視図である。
図14】本発明に従ってジョーが開き位置にある状態のエンドエフェクタの上から見た視斜視図である。
図15】本発明に従ってジョーが開き位置にある状態のエンドエフェクタの側面図である。
図16】本発明に従ってジョーが閉じ位置にある状態のエンドエフェクタの半透視断面図である。
図17】本発明のプッシャの斜視図である。
図18】本発明のプッシャの側面図である。
図19】本発明のプッシャの側面図である。
図20】本発明のプッシャの端面図である。
図21】本発明のプッシャの端面図である。
図22】本発明のプッシャの平面図である。
図23】本発明のプッシャの底面図である。
図24】本発明のステープルの上から見た斜視図である。
図25】本発明のステープルの側面図である。
図26】本発明のステープルの端面図である。
図27】本発明のステープルの平面図である。
図28】本発明の変形後のステープルの上から見た斜視図である。
図29】本発明の変形後のステープルの側面図である。
図30】本発明の変形後のステープルの端面図である。
図31】本発明のステープルの上から見た斜視図である。
図32】本発明のステープルの側面図である。
図33】本発明のステープルの端面図である。
図34】本発明の変形後のステープルの上から見た斜視図である。
図35】本発明の変形後のステープルの側面図である。
図36】本発明の変形後のステープルの端面図である。
図37】本発明のステープルの上から見た斜視図である。
図38】本発明のステープルの側面図である。
図39】本発明のステープルの端面図である。
図40】本発明のステープルの平面図である。
図41】本発明の変形後のステープルの上から見た斜視図である。
図42】本発明の変形後のステープルの側面図である。
図43】本発明の変形後のステープルの平面図である。
図44】本発明のエンドエフェクタの部分透視断面図である。
図45】本発明のエンドエフェクタの部分透視断面図である。
図46】本発明のエンドエフェクタの部分透視断面図である。
図47】本発明のエンドエフェクタの断面側面図である。
図48】本発明のエンドエフェクタの断面平面図である。
図49】本発明のエンドエフェクタの上から見た断面斜視図である。
図50】本発明の2つの枝部付きのステープルの上から見た斜視図である。
図51】本発明の2つの枝部付きのステープルの側面図である。
図52】本発明の2つの枝部付きのステープルの端面図である。
図53】本発明の2つの枝部付きのステープルの平面図である。
図54】本発明の変形後の2つの枝部付きステープルの上から見た斜視図である。
図55】本発明の変形後の2つの枝部付きステープルの側面図である。
図56】本発明の変形後の2つの枝部付きステープルの端面図である。
図57】本発明のエンドエフェクタの部分透視断面図である。
図58】本発明のエンドエフェクタの部分透視断面図である。
図59】本発明のエンドエフェクタの部分透視断面図である。
図60】本発明のエンドエフェクタの上から見た部分透視断面斜視図である。
図61】本発明のエンドエフェクタの部分透視断面側面図である。
図62】本発明のエンドエフェクタの断面平面図である。
図63】本発明のエンドエフェクタの上から見た半透視斜視図である。
図64】本発明のエンドエフェクタの断面図である。
図65】本発明のエンドエフェクタの断面図である。
図66A】本発明のエンドエフェクタの断面端面図である。
図66B】本発明のIビームの断面端面図である。
図66C】本発明のIビームの断面端面図である。
図66D】本発明のIビームの断面端面図である。
図67】本発明のエンドエフェクタの断面平面図である。
図68】本発明のエンドエフェクタの断面端面図である。
図69】本発明のエンドエフェクタの断面底面図である。
図70】本発明の内側プッシャの上から見た斜視図である。
図71】本発明の内側プッシャの上から見た斜視図である。
図72】本発明の外側プッシャ及びステープルの上から見た斜視図である。
図73】本発明のIビームスライダ、2つの内側プッシャ、2つの外側プッシャ及び4つのステープルを示すエンドエフェクタの上から見た部分断面斜視図である。
図74】本発明のIビームスライダ、内側プッシャ、外側プッシャ及び2つのステープルを示すエンドエフェクタの上から見た部分断面斜視図である。
図75】本発明のIビームスライダ、2つの内側プッシャ、2つの外側プッシャ及び4つのステープルを示すエンドエフェクタの上から見た部分断面斜視図である。
図76】本発明のIビームスライダ、2つの内側プッシャ、外側プッシャ及び3つのステープルを示すエンドエフェクタの部分断面側面図である。
図77】本発明のIビームスライダ、2つの内側プッシャ、2つの外側プッシャ及び4つのステープルを示すエンドエフェクタの部分断面底面図である。
図78】本発明のステープルの正面立面図である。
図79】本発明のステープルの側面立面図である。
図80】本発明の変形後のステープルの上から見た斜視図である。
図81】本発明の変形後のステープルの上から見た斜視図である。
図82】本発明の変形後のステープルの正面立面図である。
図83】本発明の変形後のステープルの平面図である。
図84】本発明の変形後のステープルの側面立面図である。
図85】本発明のステープルの上から見た斜視図である。
図86】本発明のステープルの上から見た斜視図である。
図87】本発明のステープルの正面立面図である。
図88】本発明のステープルの平面図である。
図89】本発明のステープルの側面図である。
図90】本発明の変形後のステープルの上から見た斜視図である。
図91】本発明の変形後のステープルの平面図である。
図92】本発明の変形後のステープルの側面立面図である。
図93】本発明の変形後のステープルの正面立面図である。
図94】下側ジョー及びステープルの概略断面図である。
図95】本発明の下側ジョー及びステープルの概略断面図である。
図96】本発明の下側ジョー及びステープルの概略断面図である。
【発明を実施するための形態】
【0020】
図3を参照すると、本発明の外科用ステープラ10の斜視図が示されている。ステープラ10は、ステープラカートリッジ組立体14に取り外し可能に連結されたハンドル組立体12で構成されている。ハンドル組立体12は、この器械を制御してステープラカートリッジ組立体14の遠位端部内に配置されたステープルの配備を開始させるよう構成されている。ステープルをステープラ10から使い果たした後、ステープラカートリッジ組立体14をハンドル組立体12から取り外し、ステープル留めを続行するために新品のステープラカートリッジ組立体14をハンドル組立体12に連結する。別の形態では、ステープル留めを続行するために別個のステープルカートリッジがステープラカートリッジ組立体14の遠位端部から交換可能である。
【0021】
次に図4を参照してステープラカートリッジ組立体14について詳細に説明する。ステープラカートリッジ組立体14は、近位端部のところに位置するコネクタ16及び遠位端部のところに位置するエンドエフェクタ18を含む。外側管20の遠位端部がエンドエフェクタ18に連結されると共に外側管20の近位端部がコネクタ16に連結されている。アクチュエータシャフト22が外側管20のルーメン内に設けられている。外側管20は、実質的に円筒形であり、約5〜10mmの外径を有している。アクチュエータシャフト22は、外側管20に対して長手方向に摺動するよう構成されている。ステープラカートリッジ組立体14の近位端部の細部が図5に示されている。
【0022】
図5を参照すると、ステープラカートリッジ組立体14の近位端部が示されている。コネクタ16は、コネクタ16の外面から側方外方に延びるボルト24を有する。同様なボルト24がコネクタ16の反対側で延びており、このボルトは、図5では見えない。ボルト24は、ステープラ10のハンドル組立体12と差し込み状の連結が可能であるよう構成されており、このハンドル組立体12は、カートリッジ組立体14をハンドル組立体12に固定するボルト24を受け入れる相補形スロットを含む。図5は又、アクチュエータシャフト22が外側管20の遠位側に動かされるよう示されている図4と比較して、外側管20の近位側に動かされるアクチュエータシャフト22を示している。図5で理解されるように、アクチュエータシャフト22の近位端部は、アクチュエータシャフト22から側方外方に延びるボルト26を有している。ボルト26は、ハンドル組立体12のアクチュエータシャフトとの差し込み状の連結が可能であるよう構成されており、このアクチュエータシャフトは、ボルト26を受け入れる相補形スロットを有する。コネクタ16のボルト24をハンドル組立体12に結合すると同時にアクチュエータシャフト22のボルト26がハンドル組立体12のアクチュエータシャフトに結合される。ハンドル組立体12に連結されると、ハンドル組立体12は、アクチュエータシャフト22を外側管20内で前後に動かすために用いられ、それにより遠位ジョー状部材の開閉を行うと共にステープルの配備を行う。
【0023】
今、図6を参照してアクチュエータシャフト22について説明する。アクチュエータシャフト22は、ハンドル組立体12のアクチュエータと連結可能に近位端部のところにアクチュエータボルト26を備えた実質的に円筒形の近位部分28を有する細長いシャフトである。実質的に円筒形の部分28は、外側管20のルーメン内に同心状に密に嵌まり込むよう寸法決めされている。円筒形部分28は、ピンによりアクチュエータシャフト22の遠位端部に向かって延長状態のIビーム部分30に連結されている。アクチュエータシャフト22の遠位端部は、延長状態のIビーム部分30に連結されたIビーム32を有している。
【0024】
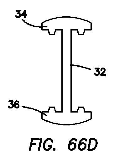
次に図7図12を参照してIビーム32について説明する。Iビーム32は、中間部分38によって相互に連結された頂部分34と底部分36を有している。頂部分34は、面取りされた前側端部40及び湾曲した頂部を有する。中間部分38は、図7図12に尖っていない表面として示されている鋭利な前縁を含むブレード42を有している。中間部分38は、後側端部のところに、図6に示されているような延長Iビーム部分30と連結可能な部分46を有している。底部分36は、Iビーム32の前側端部をもたらし、この底部分は、凸状の外面を備えた湾曲した底部及び雪かきに似た先導表面44を有する。先導表面44は、垂直線又は頂部のところで合体する2つの収斂する表面を有する。各収斂表面は、先端部から外方に螺旋渦巻き状に延びており、即ち、各収斂表面は、上方に延びるだけでなく、Iビーム32の長手方向軸線に対して螺旋状に延び又は湾曲し或いは回転して螺旋形くさび形デザインを作っている。Iビームの正面立面図が図11に示されており、図11は、実質的に、下側湾曲部分を備えた大文字“I”の形状をしたプロフィールを示している。Iビームは、エンドエフェクタ18内で長手方向に摺動し、従って、これをスライダと呼ぶことができる。Iビーム/スライダ32は、先導表面44を経てステープルをエンドエフェクタ18から押し出すよう構成されている。
【0025】
次に図13図16を参照してエンドエフェクタ18について説明する。エンドエフェクタ18は、上側ジョー48を下側ジョー50にヒンジ留めしたものである。ジョー48,50が閉じられた向きにあるとき、これらジョーは、端から見て実質的に円形の断面を形成する。下側ジョー50は、複数のステープル54を収容したステープルハウジング又はステープルカートリッジ52を有する。下側ジョー50は、中空の半円筒形シェル又は外側下側ジョー51と、外側下側ジョー51内に設けられた同形の内側下側ジョー又はカートリッジ52とから成る。内側下側ジョー52は、発射を続けることができるよう多くのステープル54を導入するためにカートリッジのように取り外して交換可能であっても良く、或いはそうでなくても良い。内側下側ジョー52が固定されている形態では、ステープラ10全体は、1回の発射後に使い捨てであり、或いは、変形例として、ステープラカートリッジ組立体14は、使い捨てカートリッジとして役立ち、そして発射を続けるために取り外して交換される。内側下側ジョー52は、ステープル54を受け入れるよう構成された複数のチャネル53又はステープル経路を有し、この内側下側ジョーは、ステープル54を上側ジョー48に向かって送り出すガイドとして役立つ。各チャネル53は、下側ジョー50の頂面のところに頂部開口部を形成し、ステープル54は、この頂部開口部を通って下側ジョー50を出る。内側下側ジョー52は、中央チャネル55を有し、この中央チャネルは、長手方向に延び且つ長手方向に並進するIビーム32を受け入れるよう構成されている。内側下側ジョー52の底部は、Iビーム32が長手方向に並進しているときにIビーム32の底部分36を受け入れるよう同形に形作られた隙間を形成するよう外側下側ジョー51から間隔を置いて位置している。各チャネル53は、頂部開口部と底部開口部との間に延びている。底部開口部は、内側下側ジョーと外側下側ジョーとの間の隙間と連通状態にある。各チャネル53は、湾曲しており且つ図16に示されているようにチャネルの頂部開口部とチャネルの底部開口部との間に弧を模した状態で形成されている。エンドエフェクタ18の長手方向軸線に垂直に取った断面で見て、チャネル53は、外側下側ジョー51の曲率半径に実質的に一致した曲率半径を有すると共にステープルのための円周方向送り出し経路を形成している。一形態では、チャネル53は、閉じ状態のジョー48,50の長手方向軸線に垂直に取った断面の中心点回りに同心である。4つの枝部付きステープル54が図13ではチャネル53内に位置した状態で示されている。プッシャ58も又、各チャネル53内に設けられている。2つのプッシャ58が図16で僅かに見える。プッシャ58は、Iビームスライダ32の先導面44に接触し、そして少なくとも1つのステープル54に接触するよう構成されている。
【0026】
図17図23を参照すると、本発明のプッシャ58が示されている。プッシャ58は、Iビームスライダ32と1つ又は2つ以上のステープル54との間のインターフェースをとなるよう構成されたくさび形物体である。プッシャ58は、2つの側面64,66及び2つの端面68,70によって相互に連結された頂面60及び底面62を有している。底面62は、Iビームスライダ32の先導面44に接触するよう構成されたIビームスライダ接触面72を有する。Iビームスライダ接触面72は、先導面44に合致するよう形作られている。Iビームスライダ32の先導面44は、上述したように形状が螺旋形である場合、接触面72も又螺旋形である。頂面60は、1つ又は2つ以上のステープル54に接触するよう構成されており、従って、頂面60は、ステープル接触面を有する。接触面72を備えた頂面60と底面62の両方は、側面66に対して僅かに角度が付けられており、これらは、側面64に向かって僅かに収斂している。図21で理解できるように、側面64は、僅かに凹状であり、反対側の側面66は、僅かに凸状である。側面64,66の両方は、互いに対して同心である。一形態では、側面64,66は、ジョー48,50が閉じ形態にある状態でジョー48,50の長手方向軸線に垂直に取られた断面の中心点に関して同心である。一形態では、側面64,66は、プッシャが入っているチャネル53の曲率に実質的に合致する曲率を有している。一形態では、チャネル53は、ジョー48,50が閉じ形態にある状態でジョー48,50の長手方向軸線に垂直な断面に対して円周方向であり、プッシャの側面64,66は、円周方向曲率に実質的に一致している。端面68,70は、実質的に互いに平行であり、これら端面は垂直である。Iビームスライダ32によって押圧されると、各プッシャ58は、ステープル54に接触してそのそれぞれのチャネル53内で滑らかに移動する。
【0027】
次に図13図16に戻ってこれらを参照して上側ジョー48について説明する。上側ジョー48は、これが挿入されるカニューレの円筒形ルーメンに適合するよう形状が実質的に半円筒形である。上側ジョー48は、長手方向に延びる中央スロット76を有する。中央スロット76は、Iビーム32の頂部分34及びIビーム32の幅の狭い中間部分38の少なくとも一部分を受け入れるよう同形になっていると共に構成されており、従って、Iビーム32は、中央スロット76の内側で且つこれに沿って上側ジョー48に対して長手方向に動くことができるようになっている。中央スロット76は、勾配が付けられていて且つIビーム32の面取り前側端部40に対してカム作用するよう構成された開放近位端部を有する。上側ジョー48は、下側ジョー50に対して開放した向きにばね押しされており、Iビーム32の面取り前側端部40が中央スロット76に入り、特に、頂部分34が中央スロット76の幅の広い上側端部に入ると、上側及び下側ジョー48,50は、閉じざるを得なくなる。Iビーム32を中央スロット76に前後に出し入れし又は中央スロット76の近位開口部に前後に動かして当てることにより、エンドエフェクタ18が開閉し、それによりユーザは、組織を掴んだり放したりすることができ、更にステープラ10を再位置決めすることができる。エンドエフェクタ18が閉じ形態にある状態で、Iビーム32は、中央スロット76内で更に長手方向に並進することができる。ステープル54の突き出しに続き、Iビーム32は、ハンドル組立体12を介して近位側に引っ込められ、Iビーム32が中央スロット76から出ると、ばね押し状態の上側ジョー48は、動いて開かれた向きになる。ステープル54の突き出し及びIビーム32の引っ込みに続き、中央スロット76内でのIビーム32の前方並進の繰り返しは、既に発射されたカートリッジの不用意な使用を避けるためにロックアウト機構体によって阻止される。
【0028】
また、図44図46を参照すると、上側ジョー48は、閉じ位置にあるときに下側ジョーに向き且つこの下側ジョーから間隔を置いて位置する内側アンビル面74又はプレートを更に有する。アンビル面74は、ステープル54のレッグを受け入れてステープルが組織を通って押圧されてアンビル面74に当てられると、ステープルレッグを案内し、偏向させ、傾斜させ、曲げ、かしめ又は打ち曲げるよう構成されている。組織を固定するためのステープル54の成形を容易にするため、図44図46に示されているような複数のステープル成形ポケットがアンビル面74に設けられている。典型的なアンビルのこれら表面成形部は、ステープルが配備されるときにステープルの変形を助けて適正なステープルの閉じを達成する。ステープル成形ポケットは、下側ジョー50のチャネル53の出口開口部と位置合わせされる。ステープル成形ポケットと突き出ているステープルとの位置合わせ不良により、ステープルがステープル成形ポケットを捕らえ損ない、その結果、ステープルラインの壊滅的な破損が生じる場合がある。ステープル成形ポケットは、一般に、2つの隣り合うステープルレッグ成形カップを有し、これらステープルレッグ成形カップは、ステープルレッグ成形カップの各々の周囲に沿ってぐるりと形成された湾曲し又は勾配がつけられたチャネリング表面を有する。2つの隣り合うステープルレッグ成形カップは、全体として角(かど)が角張ったU字形非変形ステープルから一貫したB字形ステープルの成形を容易にするドッグボーン形状を作る。4つの枝部付きステープルが配備された場合、アンビル面74は、突き出ているステープルレッグと整列した4つの隣り合うステープル成形カップを有する。別個のステープル成形ポケットが下側ジョー50のカートリッジチャネル53と対向した各ステープル成形場所に設けられる。
【0029】
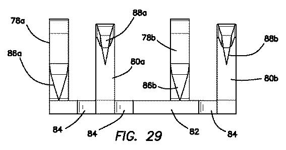
次に図24図27を参照して本発明のステープル54について説明する。ステープル54は、非変形又は開き状態で示されている4つの枝部付きステープル54である。4つの枝部付きステープル54は、ベース82によって相互に連結された2本の長い第1のレッグ78a,78b及び2本の短い第2のレッグ80a,80bを有する。2本の長い第1のレッグ78a,78bは、2本の短い第2のレッグ80a,80bに対して互い違いに配置されており、従って、アンビル面74に当てて変形し又は閉じられると、第1のレッグ78a,78bは、隣接の第2のレッグ80a,80bには接触しないようになる。ベース82は、プッシャ58と係合可能なカム作用面として役立つ長いレッグ78a,78b及び短いレッグ80a,80bは全て、ベース82から上方に延びており、これらレッグは、一方の側に湾曲する。一形態では、長いレッグ78a,78bは、短いレッグ80a,80bと同心である。一形態では、レッグ78a,78b,80a,80bは、ジョー48,50が閉じ形態にある状態でジョー48,50の長手方向軸線に垂直に取った断面の中心点に関して同心である。一形態では、レッグ78a,78b,80a,80bは、ステープル54が入っているチャネル53の曲率に実質的に一致した曲率を有する。図26で分かるように、レッグ78a,78b,80a,80bは、右側に湾曲しており、各レッグは、2つの側面によって相互に連結された凹状表面と凸状表面を有する。各レッグ78a,78b,80a,80bは、ベース82に対して同一の方向に角度が付けられている。各レッグは、ベース82と交差し、交差点のところには、製造目的のために各レッグの1つ又は2つ以上の側部でベース82に切欠き84が形成されている。各レッグの2つの側面は、収斂してレッグの自由遠位端部のところの線交差部のところに鋭利な先端部を形成するよう収斂している。レッグ78a,78b,80a,80bの各々は、それぞれの先端部86a,86b,88a,88bを有している。先端部は、側面がレッグに沿って遠位側の方向にテーパし又は断面に関して減少し始める場所で始まる。先端部86a,86b,88a,88bは、任意の仕方で形成でき、これら先端部は、ステープルを送り出す際に通る組織を穴あけすると共に穿通するのに適した任意他の幾何学的形状を有しても良く、ステープルは、この組織を通って送り出される。
【0030】
依然として図24図27を参照すると、長い第1のレッグ78a,78bは、長さが約0.097インチ(2.464mm)であり、短い第2のレッグ80a,80bは、長さが約0.050インチ(1.27mm)であり、ベースに対して約60°の中心角度を有している。短い第2のレッグ80a,80bと長い第1のレッグ78a,78bの比は、約1/2である。ベース82の全長は、約0.100インチ(2.54mm)であり、一形態では、各レッグ78a,78b,80a,80bは、閉じられた向きにあるジョー48,50の長手方向軸線に対して垂直に取られた断面の中心点回りに同心である。第1の長いレッグ78a,78bの外面の曲率半径は、約0.115インチ(2.921mm)である。ベース82との交差部のところの外面の曲率半径は、約0.009インチ(0.229mm)である。第2の短いレッグ80a,80bの内面の曲率半径は、約0.065インチ(1.651mm)である。レッグの側面相互間の距離又は厚さは、約0.010インチ(0.254mm)である。レッグの内面と外面との間の距離又は幅は、約0.015インチ(0.381mm)である。
【0031】
次に図28図30を参照すると、図24図27のステープル54がステープラの作動完了後における第2の又は変形後の形態で示されている。以下に詳細に説明する4つの枝部付きステープル54の配備の結果として、短いレッグ80a,80bは、アンビル面74に接触して変形する。短いレッグ80a,80bは、ベース82に向かって垂直方向下方に且つベース82から側方に遠ざかって、しかもステープル54の長手方向軸線から遠ざかって偏向する。短いレッグ80a,80bは、C字形のカールを形成するよう曲がっており、先端部88a,88bは、実質的に下方に向いている。先端部88a,88bは、変形後の形態ではベース82の上方には位置しない。長いレッグ78a,78bは、アンビル面74に接触し、スライダ32の運動を続けると、長いレッグ78a,78bが変形し、その結果、長いレッグ78a,78bは、垂直方向下方に且つベース82の長手方向軸線に向かって側方に偏向するようになる。長いレッグ78a,78bは、変形後の短いレッグ80a,80bに対して深いカールを形成するよう曲がる。また、長いレッグ78a,78bの先端部86a,86bは、垂直方向に見て短いレッグ80a,80bの先端部88a,88bよりもベース82の近くに位置する。長いレッグ78a,78bの先端部86a,86bは、変形後の形態ではベース82の上方に位置する。レッグ78a,78b,80a,80bの全ては、同一の方向に偏向する。例えば、図30の端面図に示されているように、レッグ78a,78b,80a,80bは、右側に向かって偏向する。下側ジョーの頂面の出口開口部と整列したアンビル面74のポケットは、ステープルの適正な変形の仕方を案内してかかる適正な変形を助ける。
【0032】
幅の狭いベース82を備えた4つの枝部付きステープル54が図31図33に非変形又は開き形態で示されており、図中、同一の参照符号は、同一の部分を示すために用いられている。ステープル54のこの形態では、ベース82は、幅が約0.020インチ(0.508mm)であり長さが約0.100インチ(2.54mm)である。長いレッグ78a,78bの内面と短いレッグ80a,80bの内面との間の側方距離は、図24図30に示されたステープル54の場合と実質的に同一である。したがって、このステープルは、同じサイズのチャネル53内に嵌まることになり、ベース82は、プッシャ58に対してカム作用するよう構成されている。図31図33のステープル54は、ベース82の厚さに実質的に一致した内側曲げ半径をレッグ78a,78b,80a,80bのところに有する。レッグ78a,78b,80a,80bは、同一の仕方で湾曲している。図34図36は、ステープラの作動完了後におけるステープル54を第2の又は変形後の形態で示している。4つの枝部付きステープル54の配備の結果として、短いレッグ80a,80bがアンビル面74に接触して変形する。短いレッグ80a,80bは、ベース82に向かって垂直方向下方に且つベース82から側方に遠ざかって、しかもステープル54の長手方向軸線から遠ざかって偏向する。短いレッグ80a,80bは、C字形のカールを形成するよう曲がっており、先端部88a,88bは、実質的に下方に向いている。長いレッグ78a,78bは、アンビル面74に接触し、スライダ32の運動を続けると、長いレッグ78a,78bが変形し、その結果、長いレッグ78a,78bは、垂直方向下方に且つベース82の長手方向軸線に向かって側方に偏向するようになる。長いレッグ78a,78bは、変形後の短いレッグ80a,80bに対して深いカールを形成するよう曲がる。また、長いレッグ78a,78bの先端部86a,86bは、垂直方向に見て短いレッグ80a,80bの先端部88a,88bよりもベース82の近くに位置する。長いレッグ78a,78bは、短いレッグ80a,80bよりも大きな曲率半径を有する。変形後の形態ではベース82の上方に位置する。レッグ78a,78b,80a,80bの全ては、同一の方向に偏向する。例えば、レッグ78a,78b,80a,80bはの全ては、右側に偏向し又は図36において端から見てステープル長手方向軸線の右側に偏向する。幅の狭いベース82のために、先端部86a,86b,88a,88bは、ベース82の右側に位置し、ベース82の上方に位置することはない。下側ジョーの頂面の出口開口部と整列したアンビル面74のポケットは、ステープルの適正な変形の仕方を案内してこの適正な変形を助ける。
【0033】
次に図37図40を参照して、同一の部分を示すために同一の参照符号を用いて本発明の別のステープル54について説明する。ステープル54は、非変形又は開き形態で示された4つの枝部付きステープル54であり、このステープルは、図24図30のステープル54と実質的に同じである。4つの枝部付きステープル54は、ベース82によって相互に連結された2本の長い第1のレッグ78a,78b及び2本の短い第2のレッグ80a,80bを有している。2本の長いレッグ78a,78bは、2本の短い第2のレッグ80a,80bに対して互い違いに配置されている。レッグ78a,78b,80a,80bの各々は、これらのそれぞれの先端部86a,86b,88a,88bを有する。図37図40のステープル54は、レッグ78a,78b,80a,80bに形成された複数のレッグ切欠き90を更に有している。レッグ切欠き90は、レッグの側面から内方に延びて応力集中部を形成し、その結果、アンビル面74に当たって偏向すると、レッグは、レッグ切欠き90の配設場所で曲がる傾向がある。レッグの長さに沿って、少なくとも1つの対をなすレッグ切欠き90が形成され、この場合、この対に属する各レッグ切欠き90は、互いに対して反対側に且つベース82に対して同一の高さ位置に位置している。長いレッグ78a,78bは、3つの対をなすレッグ切欠き90a,90b,90cを有するものとして示されている。第1の対をなすレッグ切欠き90aは、先端部86aのすぐ下に配置され、2つの他の対をなすレッグ切欠き90b,90cは、各レッグ78a,78bに沿って更に下に配置されている。短い第2のレッグ80a,80bは、各々、先端部88のすぐ下に配置された単一の対をなすレッグ切欠き90dを備えている。レッグ切欠き90は、アンビル面74に当てた状態でのステープル54の配備により図41図43に示されているような所定の変形後の形態が形成されるよう構成されている。これらレッグは、セグメント化C字形カールを形成するよう切欠き90の配置場所で曲げられた状態で示されており、レッグ切欠き90相互間に位置するレッグの部分は、変形後の形態のセグメントを構成している。変形後の形態では、レッグ78a,78b,80a,80bの全ては、同一の方向に曲げられ、短い第2のレッグ80a,80bは、ステープル54の長手方向軸線から側方に遠ざかって偏向し、長いレッグ78a,78bは、長手方向軸線に向かって偏向し、先端部86a,86b,88a,88bは、組織中に垂直方向下方に偏向する。レッグ切欠き90に沿うセグメント化偏向は、鋭利な先端部を傾斜させて組織を穿通するのを助けると共に組織の切断が不均一な変形から生じることなく、ステープル54内の組織を受け入れることができる変形後のステープル高さを生じさせるのを助ける。レッグ切欠き90は、一貫していて且つ確実に形成されるレッグのC字形曲率を提供する。
【0034】
ステープル形態のうちの任意のものにおいて、ステープルレッグ78a,78b,80a,80bは、少なくとも1つの刺部又は側方のフック状突出部を有するのが良い。少なくとも1つの刺部は、レッグの長さに沿うどこかの場所に設けられるのが良く、かかる場所は、各レッグの遠位端部の近くのところや側面への形成場所を含む。刺部は、組織中へのステープルの機械的保持の増強を可能にするのを助け、かかる刺部を4本のレッグのうちの任意のもの又は全ての上に且つ内面上、外面上及び/又は側面状に形成されるのが良い。一形態では、少なくとも1つの刺部が長い第1のレッグ78a,78bの内面及び短い第2のレッグ80a,80bの外面に形成される。レッグのうちの1本又は2本以上に沿う多数の刺部も又可能であり、同様に、小さな刺部、例えばマイクロサイズ及びナノサイズの刺部が可能である。
【0035】
ステープル54は、製造、組立て及び取り扱いを容易にするために魚骨形状の背骨部に取り付けられた状態で形成されるのが良い。金属、例えば外科用鋼、ステンレス鋼又はチタンのシート又はブロックが設けられ、複数のステープル54がワイヤ放電加工(EMD)機で板金状(金属シート)に切断される。ステープル54は又、マイクロウォータジェット、フォトエッチング又はプレス加工を利用しても形成できる。ステープル54は、曲げられたレッグを備えても良く、或いは、レッグの曲げが別のステップで実施される。ステープル54は、幅の狭い連結タブにより背骨部に連結状態のままであり、最終的には、ステープル54は、タブのところで切り取られ、そしてステープルカートリッジ中に装填される。ステープル54が切り取られた後、連結タブの一部分は、ステープル54に取り付けられたままであるのが良い。残りのタブは、有利には、配備後に閉じ状態のステープル54内に捕捉された組織への機械的保持を増強させるための刺部としての役目を果たすことができる。また、背骨部は、ステープル54の貯蔵及びステープルカートリッジの組み立ての際の補助手段となることができる。
【0036】
単一ユニットの形態をしたステープルカートリッジが下側ジョー50のステープルカートリッジ受け入れ部分中に挿入される。ステープルカートリッジは又、2つのユニットの形態をしていても良く、各ユニットは、中央下側ジョーチャネル55の各側で装填されるべき2つのスロットを有する。各カートリッジは、貯蔵及び取扱中、ステープル54を保持するようステープルチャネル53を覆う髪のカバースリップ(図示せず)を有するのが良い。次に、カバースリップをカートリッジの配置直前に又は配置直後における引き剥がしによって取り外す。各ステープルカートリッジも又、このカートリッジ内に設けられるIビーム32及びプッシャ58を収容するのが良い。カートリッジの別の形態では、ステープルカートリッジは、ステープラカートリッジ組立体14内にあらかじめ配置され、ステープル54が消費された後、ステープラカートリッジ組立体14全体を取り外して処分し、新品のステープラカートリッジ組立体14をステープル留め続行のためにハンドル組立体12に連結する。ステープルカートリッジ組立体14がハンドル組立体12に連結された状態で、アクチュエータシャフト22は、ハンドル組立体12内のアクチュエータシャフトに結合する。次に、ハンドル組立体12を用いてステープラ10を3つの互いに異なる機能又は作動モードで作動させる。第1のモードにより、ユーザは、エンドエフェクタ18のジョー48,50を開閉することができる。第2のモードにより、ステープルが発射され、第3の作動モードにより、Iビーム32がステープルの発射に続きその元の近位側の位置に戻る。ロックアウト機構体がIビーム32をロックし、Iビーム32が既に消費され又は部分的に消費されたカートリッジ内で前方に動くのを阻止する。
【0037】
ハンドル組立体12は、アクチュエータシャフト22に設けられた前方歯に係合する前方駆動部に連結されたハンドルを含む。ハンドルを押すと、アクチュエータは、僅かに前方に動かされ、それにより、ステープラカートリッジ組立体14のアクチュエータシャフト22が前方に動く。アクチュエータシャフト22は、Iビーム32に連結されているので、Iビーム32は、ハンドルを押すことにより前方に進む。Iビーム32が前進すると、Iビーム32の頂部分34の面取り前側端部40は、上側ジョー48の通路又は中央スロット76に入り、この通路又は中央スロットは、開いていて且つばね押しされた上側ジョー48を開き位置から閉じ位置に下方に偏向させる。上側ジョー48は、上側ジョー48が下側ジョー50に対して回動するようピンによって下側ジョー50に連結されている。上側ジョー48を下側ジョー50に対して開き位置に押圧するばね付勢力を生じさせるためにばねが設けられている。ハンドルを放すと、アクチュエータシャフト22は、近位側に動き、Iビーム32も又近位側に引き、それにより、Iビームの頂部分34が通路76を出るときにばね付勢力がジョーを開くことができる。ユーザは、ハンドル12を押したり放したりすることによってエンドエフェクタ18のジョーを開閉することができ、それにより標的組織をステープラ10の上側ジョーと下側ジョーとの間に位置決めすることができる。閉じ位置では、上側ジョー48と下側ジョー50との間の隙間の端から端までの距離は、約0.030〜0.060インチ(0.762〜1.524mm)である。
【0038】
ジョーを標的組織の存在場所のところの定位置で閉じた後、ハンドル組立体12に設けられている発射ボタンを押すことによってステープラ10を切り替えて発射モードで作動させる。発射ボタンは、開いた駆動部をアクチュエータシャフトから離脱させ、それにより駆動部を長手方向運動を可能にするよう自由にする。開いた駆動部をアクチュエータシャフトの歯に係合させる。開いた駆動部は、発射ボタンが押し下げられた状態でアクチュエータシャフトの歯から離脱する。開いた状態の駆動部が離脱された状態で、トリガハンドルがくるりと回り、前方駆動部がアクチュエータシャフトの前方歯に係合する。ハンドルを押すと、アクチュエータシャフトは、前方駆動部がトリガハンドルを絞る度に歯に自由に係合するので、前方に進む。ハンドルを多数回絞ってIビーム32を最後にエンドエフェクタ18の遠位端部まで前進させる。作動の仕方は、2013年3月14日に出願された係属中の米国特許仮出願第61/785,100号明細書(発明の名称:Surgical stapler with partial pockets )に記載されており、この米国特許仮出願を参照により引用し、その記載内容全体を本明細書の一部とする。
【0039】
図44図46は、ジョー48,50が閉じ位置にある状態でステープル配備の3つの漸次段階において長手方向軸線に垂直に取られたエンドエフェクタの半透視断面図である。図44は、1対のステープル54が円周方向ステープル受け入れチャネル53内に位置している状態を示している。各ステープル54のベース82は、プッシャ58の頂面60と接触状態にある。Iビーム32を前進させると、プッシャ58は、ステープル54を円周方向経路に沿って下側ジョー50から上方且つ外方に、そして図45に示されているように上側ジョー48と下側ジョー50との間の隙間中に動かす。図45は、ステープルレッグ78,80を示しており、特に、レッグ78,80の先端部がアンビル面74に近づいている。アンビル面74は、図45では、ステープルベース82に対するステープルレッグ78,80の偏向及び変形を助ける凹状ステープル成形ポケットを備えた状態で示されている。長いステープルレッグ78が最初にアンビル面74に接触し、その後短いレッグ80がアンビル面74に接触するので、ステープルレッグ78,80を曲げるのに必要な配備又は作動力が有利には減少する。と言うのは、ステープル54の長い2本のレッグ78が既に僅かに変形しており、その後、短いレッグ80と接触して偏向するようになる。発射力を減少させることにより、円滑な配備及び作動の容易性を高めることができる。また、円周方向発射により、有利には、ステープラは、追加の列をなすステープルを収容することができ、他方、作動力を一定に保つ。ステープルレッグ78,80が変形に先立って湾曲しているので、ステープルを配備するのに必要な力は、有利には、減少する。と言うのは、湾曲したレッグがステープルレッグの座屈と関連した大きな力を必要としないからである。湾曲したステープルレッグは、閉じ形態に曲げられるだけである。Iビーム32を遠位側の方向にそれ以上前進させると、プッシャ58は、Iビーム32の各側でこれらのそれぞれのステープル54と一緒になって更に円周方向チャネル53中に動くと共に上方に動いてアンビル面74に当たり、そして図46に示されているように変形した形態になる。図46は、完全に成形されたステープル54が上側ジョー48と下側ジョー50との間の隙間内に位置している状態を示している。隙間は、標的組織を受け入れるスペースを提供する。図47及び図48は、上側及び下側ジョー48,50が閉じ形態にある状態でIビーム32をエンドエフェクタ18の長さに沿って前進させている状態の部分透視側面断面図及び部分断面平面図である。図47は、Iビーム32の位置に対するステープル54及びプッシャ58の種々の位置を示している。図49は、Iビーム32を中央下側ジョーチャネル55に沿って前進させてステープル54を前進経路に沿って配備すると共に変形させた状態のエンドエフェクタ18の上から見た部分断面斜視図である。Iビーム32の底部分36の近位側に位置するステープル54は、十分に変形した状態で示されている。Iビーム32の先導面44と接触状態にあるステープル54は、種々の配備及び変形段階で示されている。Iビーム32の先導面44の遠位側に位置するステープル54は、Iビーム32と接触に先立って且つチャネル53からの脱出に先立ってチャネル53内に位置した状態で示されている。この形態では、4つの枝部付きステープルのステープルレッグ78,80は、エンドエフェクタ18の長手方向軸線に対して横でありしかもステープルベース82の長さに対して横の方向に偏向する。
【0040】
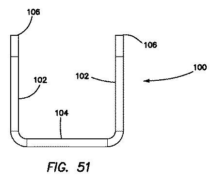
次に図50図53を参照して本発明の2つの枝部付きステープル100について説明する。2つの枝部付きステープル100は、その非変形又は開き形態で示されている。ステープル100は、ベース104によって相互に連結された2本のレッグ102を有している。ベース104は、プッシャ58に係合するための接触面として役立つ。レッグ102は、ベース104から上方に延びて図52で明確に理解できるように一方の側に湾曲している。ステープルレッグ102の曲率は、これらステープルレッグが納められる円周方向チャネル53の曲率に一致しており、これらステープルレッグは、これらステープルレッグがプッシャ58によって押圧されているときにこれら円周方向チャネルに沿って移動して順次Iビーム32に接触する。したがって、ステープルレッグ102の曲率は又、実質的に下側ジョーの周囲に対応している。各レッグの2つの側面は、収斂して各レッグ102の自由遠位端部のところの線交差部のところに鋭利な先端部106を形成している。先端部106は、側面がレッグ102に沿う遠位側の方向にテーパし又は断面積に関して減少する場所で始まっている。先端部106は、任意の仕方で形成でき、この先端部は、組織を穴あけすると共に穿通するのに適した任意の幾何学的形状を有して良く、ステープル100は、この組織を通って送り出される。
【0041】
依然として図50図53を参照すると、レッグ102は、長さが約0.100インチ(2.54mm)であり、約62°の中心角を有する。ベース82の全長は、約0.100インチ(2.54mm)であり、各レッグ102は、閉じられた向きにあるジョー48,50の長手方向軸線に垂直に取った断面の中心点回りに同心である。第1の長いレッグ78a,78bの外面の曲率半径は、約0.115インチ(2.921mm)である。側面相互間の距離又はレッグの厚さは、約0.007インチ(0.178mm)である。レッグの内面と外面との間の距離又はレッグの幅は、約0.020インチ(0.508mm)である。
【0042】
次に図54図56を参照すると、ステープラの作動完了後の第2の又は変形後の図50図53のステープル100が第2の又は変形後の形態で示されている。以下に詳細に説明する2つの枝部付きステープル100の配備の結果として、レッグ102は、上側ジョー48のアンビル面74に接触して変形する。レッグ102は、互いに向かって偏向し、その結果、先端部106は、ベース82に向かって垂直方向下方に角度が付けられる。レッグ102は、アンビル面74に接触し、下側ジョー50の頂面の出口開口部と整列したアンビルポケットがステープルレッグ102の適正な変形の仕方を案内するよう形成されるのが良い。変形後のステープル100は、実質的にB字形の形態を有する。
【0043】
図57図59は、上側及び下側ジョー48,50が閉じ形態にある状態で3つの順次ステープル配備段階において長手方向軸線に垂直に取られたエンドエフェクタ18の半透視断面図である。図57は、4つの2つの枝部付きステープル100がIビーム32の各側で2本の円周方向ステープル受け入れチャネル53内に位置した状態を示している。各ステープル100のベース104は、プッシャ58の頂面60と接触状態にある。Iビーム32を前進させると、プッシャ58は、ステープル100を円周方向経路に沿って下側ジョー50から上方且つ外方に、そして図58に示されているように上側ジョー48と下側ジョー50との間の隙間中に動かす。図58は、ステープルレッグ102、特にレッグの先端部106がアンビル面74に近づいている状態を示している。アンビル面74は、図57図59では、ステープルベース104に対するステープルレッグ102の偏向及び変形を助けるステープル成形ポケット108を備えた状態で示されている。各ステープルポケット108は、ステープルチャネル53の周囲に実質的に垂直なステープル接触面110を有し、円周方向チャネル53を出た湾曲した状態のステープル100は、垂直の向きにあるステープル接触面110に接触する。Iビーム32を遠位側の方向にそれ以上前進させると、Iビーム32の各側に位置するプッシャ58及びこれらのそれぞれのステープル100が更に円周方向チャネル53を通って上方に動いてアンビル面74のステープルポケット108に当たり、そして図59に示されているような変形した形態になる。図59は、十分に成形されたステープル100が上側ジョー48と下側ジョー50との間の隙間内に位置した状態を示している。隙間は、標的組織を受け入れるスペースとなる。図60は、Iビーム32をエンドエフェクタ18の長さに沿って部分的に前進させた状態のエンドエフェクタ18を示している。2つの列をなす2つの枝部付きステープル100が種々の配備段階においてIビーム32の各側に示されている。ステープル100は、下側ジョー50のステープルチャネル53から現れ出た状態で示されている。Iビーム32の遠位側に配置されたステープル100は、Iビーム32の近位側に位置するステープル100に対してチャネル32から部分的にしか現れ出ておらず又はまだ現れていない。分かりやすくするため、Iビーム32の近位側に位置するステープル100は、図60では変形していない状態で示されており、通常、これらステープル100は、上側ジョー48のアンビル面74に当たって変形する。図60は、ステープルベース104の長さ並びにチャネル53の長さの方向がエンドエフェクタ18の長手方向軸線に水平であるように構成された2つの列をなすステープル100を示している。同様に、上側ジョー48のステープルポケット108(図60には示されていない)は、エンドエフェクタ18の長手方向軸線に平行に差し向けられている。チャネル53の出口開口部は、互いに平行であり、これら出口開口部は、出口開口部のこれに隣接した列に属する隣接の出口開口部と整列する。別の形態では、下側ジョー50のチャネル53の出口開口部は、隣接した列に属する隣接した出口開口部に対して互い違いに配置されている。
【0044】
次に図61図63を参照すると、2つの枝部付きステープル100の配備のためのエンドエフェクタ18の形態が示されており、この形態では、Iビーム32の各側にはステープル100の列が1つしか設けられておらず、この場合、Iビーム32は、上側及び下側ジョー48,50が閉じ形態にある状態でエンドエフェクタ18の長さに沿って送り進められる。図61は、ステープル100がIビーム32の並進に対応して下側ジョー50から現れ出た状態を示している。変形後のステープル100がIビーム32の配置場所のところで且つこの近位側で上側ジョー48と下側ジョー50との間の隙間内に位置した状態で示されている。変形していないステープル100は、Iビーム32の配置場所のところで且つこの近位側で下側ジョー50から現れ出ており又は下側ジョー50内に隠されている。図62は、エンドエフェクタ18の上から見た部分断面斜視図であり、Iビーム32が中央下側ジョーチャネル55に沿って送り進められてステープル100を前進経路に沿って配備すると共に変形させている。図61及び図63は、下側ジョー50のステープルチャネル53と整列した上側ジョー48のステープルポケット108を示している。ステープルポケット108は、出ている各ステープルレッグ102と整列した2つの隣接した凹面を有する。凹状ポケット108は、ステープルレッグ102を互いに向かって偏向させて変形していない実質的にU字形のステープル形態からステープル先端部106がステープルベース104の方へ下方に向いた状態の実質的にB字形形態を形成する変形後の形態にしている。単一のステープルラインが下側ジョーチャネル55の各側に形成されている。これらステープルラインは、エンドエフェクタ18の長手方向軸線に平行であり、ステープルベース104の長さの方向も又、長手方向軸線及びIビームチャネルに平行に配置されている。追加のステープルラインを中央チャネル55の各側に設けることは、本発明の範囲に含まれる。
【0045】
Iビーム32がエンドエフェクタ18に沿って遠位側に前進しているとき、Iビーム32の接触面72は、チャネル53内に位置しているプッシャ58に接触し、これらプッシャは、次にステープル54,100に接触し、これらステープルも又、ステープルチャネル53内に配置されている。Iビーム32が前進しているとき、プッシャ58は、ステープル54,100を上方に押圧し、そしてこれらステープルをIビーム32の遠位側への並進につれて順次上方に押圧し続ける。配備高さが十分であると、ステープルレッグ78,80,102は、上側ジョー48のアンビル面74に接触する。特に、ステープルレッグは、ステープルポケット108の配置場所でアンビル面74に接触し、それ以上配備をすると、その結果として、ステープルレッグをステープル内に組織を捕捉する所望の閉じ形態に曲げる。本発明のステープル54の閉じ力は、有利には、比較的小さい。と言うのは、4つの枝部付き形態及び2つの枝部付き形態のレッグ78,80,102は、既に、湾曲し又僅かに曲げられた形態を有し、これらレッグは、アンビル面に当たって座屈するのではなく、アンビル面74に当たって曲がるに過ぎないからである。ビームの座屈力は、曲げ力よりも極めて大きく、従来型ステープルは、一般に、ステープルレッグの同時座屈を必要とする。従来型ステープル留め器具は、ステープルラインをつけるために大きな発射力を必要とする。ステープルレッグは、アンビルポケットに垂直に押され、ステープルレッグを座屈させる。これら大きな力は、相当大きな応力を器具コンポーネントに加え、それによりユーザの疲労が生じる場合がある。したがって、本発明のステープラは、ステープルを配備して変形させるのに必要な力を大幅に減少させる。本発明のステープル成形力は、従来型ステープル設計に比べて比較的小さく、ユーザにとっての作動力を減少させる。
【0046】
Iビーム32を前進させているとき、Iビーム32に設けられているブレードが既にステープル留めされた組織相互間の組織を切断する。ステープルを発射した後、ハンドル組立体12を第3の作動モードに切り替え、この作動モードでは、Iビーム32は、その開始位置に近位側に戻される。歯車スイッチボタンを押し、それによりアクチュエータシャフトを90°回転させてアクチュエータに設けられている逆歯が逆進駆動部に接触するようにする。逆進駆動部は、一連の歯車によってハンドルに連結されている。ハンドルを絞ると、逆進駆動部は、アクチュエータ及びIビーム32を引き戻す。トリガハンドルを多数回にわたって絞ってIビーム32をその元の位置に戻す。Iビーム32をその元の近位側の位置に戻してジョーを開く。Iビーム32が戻されて十分に引っ込められた状態で、ばね押し上側ジョー48が開き、それによりステープル留めされた組織をジョーから外すことができる。アクチュエータ及びIビーム32を戻すと、ステープラカートリッジ組立体14をハンドル組立体12から取り外すことができ、新品のステープラカートリッジ組立体14を取り付けてステープル留めを続けることができる。
【0047】
次に図64及び図65を参照すると、Iビーム32が断面の状態で配置された状態で長手方向軸線に垂直に取ったエンドエフェクタ18の断面図が示されている。本発明では、本発明の小型ステープラが上側ジョー48と下側ジョー50との間の隙間幅を実質的に同一に保っている比較的大型のステープラと同じ厚さを有する組織をステープル留めする能力を著しくは変更しないで、小さな直径、例えば、5mmから10mmまでの範囲にある直径を備えたエンドエフェクタを有するステープラが提供される。これは、下側ジョー50内に円周方向ステープルチャネル53を採用し、この円周方向チャネル53内で機能するよう構成されたステープル54,100及びプッシャ58を用いて達成される。円周方向チャネル53は、下側ジョー50の上面を表す弦に垂直な図1Bに示されている長さSBを有する線7bによって表されている線によって転記された短い距離に対して、エンドエフェクタ18の実質的に円形の断面の外周内の円周方向距離によって転記された長い距離を利用する。円形断面の外周内に位置していて円周方向ステープルチャネル53を表す円周方向線分の長さを最大にするため、ステープルチャネル53は、有利には、外周のできるだけ近くに配置される。最も外側のステープルチャネル53のかかる配置により、Iビーム32の最も近くに位置する内側ステープルラインを直径方向ブレードラインから更に遠ざけて配置することができ、しかも厚い組織の堅固なステープル留めのために長いレッグを備えたステープルを受け入れる長い半径方向最も外側のステープルチャネル53の実現が可能である。伝統的な直線状ステープルでは、下側ジョー50は、相当な厚さの半円筒形シェルを形成する外側の下側ジョー51を有する。ステープル及びプッシャは、外側の下側ジョー51のこのシェル内に位置する。ステープル用の容器を形成する機能以外の外側の下側ジョー51の機能のうちの一つは、下側ジョーに構造剛性及び構造強度を提供し、その結果、ステープルを配備したときに作動力が、下側ジョーそれ自体がぱっくりと割れるようにはせず、下側ジョーそれ自体を変形させて、又は下側ジョーそれ自体を曲げるようにはしないようにすることにある。したがって、外側の下側ジョー51は、代表的には、或る特定の厚さの強固なプラスチック又は金属で作られる。外側の下側ジョー51の厚さは、本発明では図64及び図65に示されているように減少しており、その結果、最も外側のステープルチャネル53を周囲のできるだけ近くに配置することができ、それによりこのチャネル内に配置できるステープルレッグ距離を最大にすると共にブレードラインから遠ざかる最も内側のステープルチャネルの距離を最大にすることができるようになっている。しかしながら、薄い外側の下側ジョー51は、下側ジョー50の強度及び剛性を犠牲にする。この弱体化は、外側の下側ジョー51ができるだけ厚く作られて構造剛性をエンドエフェクタに提供する伝統的なステープラの外骨格状構造ではなく、外側の下側ジョー51内に配置されるフレーム112を内骨格状構造の状態に形成することによって解決される。本発明の内骨格状フレーム112は、内側の下側ジョー52の一部であっても良く又はこれとは別体であっても良い。フレーム112は、約0.025インチ(0.635mm)の厚さを有し、このフレームは、下側ジョー50の長さに沿って延びている。フレーム112は、強固なプラスチック又は金属で作られ、このフレームは、下側ジョー50の上面114を形成し、ステープルチャネル53は、この上面から開き、ステープルは、この上面から出る。フレーム112は、Iビーム32を中で並進させる中央下側ジョーチャネル55によって“T”の中線に沿って下方に分割された実質的にT字形の形態をなす。Iビーム32の底部分36の幅は、“T”の垂直部分の幅に実質的に等しく、この垂直部分の幅は、図64及び図65で理解できるように2つのフレーム112の幅及び中央の下側ジョーチャネル55の幅から成る。Iビーム32の底部分36は、Iビーム32の中間部分38によってIビーム32の頂部分34に相互連結されている。Iビーム32の中間部分は、一方のフレーム112の厚さと実質的に同一の厚さのものである。T字形フレーム112は、互いに間隔を置いて設けられた2つのL字形要素と中央下側ジョーチャネル55を並置したもので形成される。L字形要素116a,116bの水平部分又はIビーム32に対して横方向の部分は、周囲118まで最後まで延びている。図64及び図65に示された形態では、フレーム112は、実質的にY字形のフレーム112を形成する傾斜した水平又は横方向要素を有する。それ故、L字形要素116は、T形状に共通の実質的に直角ではなく鈍角をなす。傾斜した横方向要素120は、図64及び図65に示されているように周囲118まで最後まで延びている。横方向要素120は、横方向要素がIビーム32の中間部分38に平行な状態から中間部分38に対して角度をなした状態まで移行する箇所としての変曲点を有する。フレーム112のこの傾斜は、特に周囲に隣接して位置する下側ジョー50の内部にスペースを空け、長いステープルレッグをこの空間内に収容することができる。この形態では、上側ジョー48は、上側ジョー48に設けられている中央スロット76によって分割された補強材122を有する。上側ジョー48の補強材122は、アンビル面74を有する。アンビル面74は、全体として、下側ジョー50の上面114の角度に匹敵し又はこれに実質的に一致する仕方で傾けられている。組織を捕捉するための隙間は、アンビル面74と下側ジョー50の上面114との間に形成されている。補強材122は、金属又はプラスチックで作られている。
【0048】
図65は、内骨格状フレーム112の形態を備えた図64のエンドエフェクタ18の形態に形成されたステープルチャネル53を示している。Iビーム32の各側に2本のステープルチャネル53が設けられると共に最も外側のチャネル53a及び最も内側のチャネル53bが設けられている。最も外側のチャネル53aは、周囲118に酷似しており、この最も外側のチャネルは、下側ジョー50の周囲118の曲率半径とほぼ同一である曲率半径を備えた外側の下側ジョー51に隣接して配置されている。最も内側のチャネル53bは、最も外側のチャネル53aの曲率半径よりも大きな曲率半径を有する。下側ジョー50の上面114及びアンビル面74は、互いに実質的に平行であり、その結果、チャネル53a,53bを出たステープルは、ステープルレッグがアンビル面74に実質的に垂直になるように差し向けられることになる。フレーム112の傾斜した横方向要素120は、有利には、上方に傾けられ、それにより、内側の下側ジョー52のスペースを最大にすると共にチャネル53の長さ、特にアンビル面74と下側ジョー50の上面114との間の隙間を横切って組織をステープル留めするための長いレッグを備えたステープルの使用を許容する最も外側のチャネル53aの長さを最大にする。
【0049】
図66Aは、内側の下側ジョー52のスペースを最大にすると共にステープルチャネル53の長さを最大にする一方で、薄い外側の下側ジョー51を備えたエンドエフェクタ18を補強するための形態を提供するエンドエフェクタ18の別の形態を示している。図66Aの形態では、エンドエフェクタ18が曲がり又は扇形に開かないようにするための補強手段がIビーム32の形態、特にIビーム32の頂部分34及び底部分36の形態に見える。Iビーム32の頂部分34と底部分36の両方は、それぞれ、球状又は拡大された側方遠位端部124,126を有する。Iビーム32の頂部分34は、拡大された球状遠位端部124に対応するよう形作られた上側ジョーの中央スロット76内で並進する。また、Iビーム32の底部分36は、拡大された球状遠位端部126に対応するよう形作られた中央下側ジョーチャネル55内で並進する。これら拡大された球状側方遠位端部124,126は、エンドエフェクタ18を補強し、作動力を加えたときにエンドエフェクタを一体に保つ。Iビーム32の他の形態が図66B図66Dに示されている。図66B図66Dの形態は、厚さを増大させると共に側方強度の向上をもたらすよう外周から遠ざかって延びる歯を備えたIビーム32の頂部分34及び底部分36を示している。図66Aは、隙間の観点から見て凸状である湾曲したアンビル面74及び隙間の観点から見て凹状である下側ジョー50の湾曲した上面114を示している。図66Aに示されている形態では、下側ジョー50の上面114の曲率半径は、アンビルポケット成形部及び曲率がある場合にはこれらを除き、アンビル面74の曲率半径と実質的に同一である。下側ジョー50の湾曲した上面114は、有利には、内側の下側ジョー52内に、特に周囲118の近くにより多くのスペースを提供し、この周囲118の近くでは、上面114の凹状の曲率に起因してより多くのスペースが長いレッグを備えたステープルを受け入れるよう提供される。また、上面114のところでチャネル53を出たステープルレッグは、上面114及びアンビル面74の実質的に互いに一致した曲率半径に起因して実質的に垂直に差し向けられてアンビル面74に当てられる。一形態では、上面114及びアンビル面74の曲率半径も又、周囲118の曲率半径に実質的に等しい。
【0050】
次に図67図69を参照して別の形態としてのエンドエフェクタ218について説明する。エンドエフェクタ218は、下側ジョー250にヒンジ留めされた上側ジョー248を有する。ジョー248,250が閉じられた向きにあるとき、これらジョーは、実質的に円形の断面を形成する。下側ジョー250は、複数のステープル254を収容したステープルハウジング又はステープルカートリッジ252を有する。下側ジョー250は、中空の半円筒形シェル又は外側下側ジョー(図示せず)と、この外側下側ジョー内に設けられた同形の内側下側ジョー又はカートリッジ252とから成る。内側下側ジョー252は、発射を続けることができるよう多くのステープル254を導入するためにカートリッジのように取り外して交換可能であっても良く、或いはそうでなくても良い。内側下側ジョー252が固定されている形態では、ステープラ10全体は、1回の発射後に使い捨てであり、或いは、変形例として、ステープラカートリッジ組立体14は、使い捨てカートリッジとして役立ち、そして発射を続けるために取り外して交換される。内側下側ジョー252は、ステープル254を受け入れるよう構成されている複数のチャネル253又はステープル経路を備え、この内側下側ジョーは、ステープル254を上側ジョー248に向かって送り出すガイドとして役立つ。各チャネル253は、下側ジョー250の頂面のところに頂部開口部を形成し、ステープル254は、この頂部開口部を通って下側ジョー250を出る。内側下側ジョー252は、中央チャネル255を有し、この中央チャネルは、長手方向に延び且つ長手方向に並進するIビームスライダ232を受け入れるよう構成されている。各チャネル253は、頂部開口部と下側ジョー250の頂面に設けられた底部開口部との間に延びている。底部開口部は、フレーム247を形成する複数のリブと連通状態にある。図67図69に示された形態では、中央チャネル255の各側に2つの列をなすステープルチャネル253が設けられている。中央チャネルの一方の側に設けられたステープルチャネル253の2つの列、即ち内側の列と外側の列は、これらが互い違いに配置されて互いに整列することがないよう構成されており、その目的は、密封された組織閉鎖部を形成することにある。中央チャネル255の他方の側に設けられたステープルチャネル253の2つの列、即ち内側の列と外側の列も又、図示のように互い違いに配置されている。長手方向軸線に沿って、内側の列を構成するステープルチャネル253は、長手方向軸線に沿って、頂面から延びる複数の内側リブ239によって長手方向に画定されている。外側の列を構成するステープルチャネル253は、下側ジョー250の長さに沿って互いに間隔を置いて配置された複数の外側リブ231によって長手方向に境界付けられると共に画定されている。外側リブ241は、下側ジョー250の底部のところでフレーム247の背骨部237に連結されている。各チャネル253は、その中に配置された湾曲したステープル254を案内するためにチャネルの頂部開口部から湾曲した経路又は弧状部を提供している。エンドエフェクタ218の長手方向軸線に垂直に取った断面で見て、チャネル253は、外側の下側ジョーの曲率半径に実質的に一致した曲率半径を有する湾曲した経路を構成し、各チャネル253は、ステープル254のための円周方向送り出し経路を形成している。一形態では、チャネル253は、閉じられたジョー248,250の長手方向軸線に垂直に取った断面の中心点回りに同心である。2つの枝部付きステープル254がチャネル253内に位置した状態で示されている。内側プッシャ256が内側の列に属するチャネル253の各々内に設けられると共に外側プッシャ258が外側の列に属するチャネル253の各々内に設けられている。
【0051】
次に図70及び図71を参照して内側プッシャ256について説明する。内側プッシャ256は、これが入っているステープルチャネル253の曲率に合致するよう湾曲している。内側プッシャ256は、Iビームスライダ232の先導面に接触し、そして少なくとも1つのステープル254に接触するよう構成されている。内側プッシャ256は、Iビームスライダ232と1つ又は2つ以上のステープル254との間のインターフェースとなるよう構成されている。内側プッシャ256は、外面264及び内面266並びに2つの端面268,270によって相互に連結された頂面260と底面262を有している。頂面260は、1つ又は2つ以上のステープル254に接触するよう構成されており、従って、この頂面は、ステープル接触面を有する。内側プッシャ256の頂面260は、ステープル254のベースをクレードルに入れたように支持すると共に安定化するようになっている湾曲した表面を備えたチャネル261を有する。内側プッシャ256の外面264は、スライダ232によって動かされると内側プッシャ256の上方運動をその湾曲した軌道に沿って案内する外側リブ241の一部を受け入れるよう構成されたチャネル265を有し、それにより、内側プッシャが長手方向に変位するのが阻止される。内側プッシャ256は、内面266と外面264との間では頂面260に向かって幅が狭くなり、底面262に向かって幅が広くなっている。内側プッシャ256は、2つの端面268,270相互間で長手方向に延びている。底面262は、Iビームスライダ232の先導面244に接触するよう構成されたIビームスライダ接触面272を有している。Iビームスライダ接触面272は、先導面244に合致するよう形作られている。Iビームスライダ232の先導面244の形状が螺旋形である場合、接触面272も又螺旋形である。スライダ接触面272は、図73図76では山形であり又は2角であるよう示されている。内面266は、僅かに凹状であり、外面264は、僅かに凸状である。外面264と内面266の両方は、互いに対して実質的に同心である。一形態では、外面264と内面266は、ジョー248,250が閉じ形態にある状態でジョー248,250の長手方向軸線に垂直に取った断面の中心点に関して同心である。一形態では、外面264及び内面266は、内側プッシャが入っているチャネル253の曲率に実質的に一致した曲率を有する。一形態では、チャネル253は、ジョー248,250が閉じ形態にある状態ではジョー248,250の長手方向軸線に垂直な断面に対して円周方向であり、プッシャの側面64,66は、円周方向曲率に実質的に一致している。端面268,270は、実質的に互いに平行であり且つこれら端面は、垂直である。Iビームスライダ232によって押圧されると、各内側プッシャ256は、ステープル254に接触すると共にそのそれぞれのチャネル253内で滑らかに移動する。
【0052】
図72を参照して外側プッシャ258について説明する。外側プッシャ258は、これが入っているステープルチャネル253の曲率に合致するよう湾曲している。外側プッシャ258は、Iビームスライダ232の先導面に接触し、そして少なくとも1つのステープル254に接触するよう構成されている。外側プッシャ258は、Iビームスライダ232と1つ又は2つ以上のステープル254との間のインターフェースとなるよう構成されている。外側プッシャ258は、外面275及び内面277並びに2つの端面269,271によって相互に連結された頂面259と底面263を有している。頂面259は、1つ又は2つ以上のステープル254に接触するよう構成されており、従って、この頂面は、ステープル接触面を有する。外側プッシャ258の頂面259は、ステープル254のベースをクレードルに入れたように支持すると共に安定化するようになっている湾曲した表面を備えたチャネル273を有する。外側プッシャ258の内面277は、図73図74及び図75に示されているように隣り合う内側プッシャ256の端面268,270相互間に当接するよう構成された突出部257を有し、それにより内側プッシャ256は、長手方向に変位するのが阻止され、従って、内側プッシャ256の軌道を案内するのを助ける。外側プッシャ258は、内面277と外面275との間では頂面259に向かって幅が狭くなり、底面263に向かって幅が広くなっている。外側プッシャ258は、2つの端面269,271相互間で長手方向に延びている。底面263は、Iビームスライダ232の先導面244に接触するよう構成されたIビームスライダ接触面279を有している。Iビームスライダ接触面279は、先導面244に合致するよう形作られている。Iビームスライダ232の先導面244の形状が螺旋形である場合、接触面279も又螺旋形である。スライダ接触面279は、図72図76では山形であり又は2角であるよう示されている。内面277は、僅かに凹状であり、外面275は、僅かに凸状である。外面275と内面277の両方は、互いに対して実質的に同心である。一形態では、外面275と内面277は、ジョー248,250が閉じ形態にある状態でジョー248,250の長手方向軸線に垂直に取った断面の中心点に関して同心である。一形態では、外面275及び内面277は、外側プッシャが入っているチャネル253の曲率に実質的に一致した曲率を有する。一形態では、チャネル253は、ジョー248,250が閉じ形態にある状態ではジョー248,250の長手方向軸線に垂直な断面に対して円周方向であり、外側プッシャ258の外面275及び内面277は、円周方向曲率に実質的に一致している。端面269,271は、実質的に互いに平行であり且つこれら端面は、垂直である。Iビームスライダ232によって押圧されると、各外側プッシャ258は、ステープル254に接触すると共にそのそれぞれのチャネル253内で滑らかに移動する。
【0053】
特に図73図75を参照すると、Iビームスライダ232の先導面244が内側プッシャ256の接触面272に最初に接触することが理解できる。反対側の端面270は、外側プッシャ258の突出部257に当接することになる。特に、端面270の厚さの少なくとも一部分、即ち、内側プッシャ256の幅の広い下端部のほぼ半分が外側プッシャ258の突出部257に接触することになる。また、端面270の厚さの少なくとも一部分、即ち、内側プッシャ256の幅の広い下端部の約半分が遠位側に位置する内側リブ239に接触することになる。したがって、Iビームスライダ232によって傾斜した接触面272に力が加えられると、内側プッシャ256が頂面に向かって上方に差し向けられ、ステープル254が開口部253中に押し込まれる。内側プッシャ256は又、外側リブ241がチャネル265内に配置された状態でレール状の外側リブ241上を移動する。内側プッシャ256を内側リブ239及び外側リブ241に当接させると共に突出部257に当接させることにより、Iビームスライダ232と接触状態にあるときに内側プッシャ256の位置が安定化し、内側プッシャ256を動かすと、Iビームスライダ232が遠位側に移動して外側プッシャ258と接触関係をなすようにするための間隙が提供される。中央チャネル255の各側の内側プッシャ256を動かしてどけた後、Iビームスライダ232の先導面244は、中央チャネル255の各側の隣接の外側プッシャ258の接触面279に接触する。外側プッシャ258との接触時、遠位端面271の少なくとも一部分は、外側リブ241に当接し、外側プッシャ258は、チャネル253内で上方に差し向けられて頂面259のところのステープル254を動かしてチャネル253から出す。それ故、Iビームスライダ232の先導面244は、下側ジョー250の長手方向長さに沿って移動して1対の内側プッシャ256を押し、次に1対の外側プッシャ258を順次且つ連続的に繰り返して押してステープル254を上側ジョー248と下側ジョー250との間の隙間を横切って配備する。2つの内側プッシャ256及び2つの外側プッシャ258を示しているエンドエフェクタ218の一セグメントだけが図示されているが、このセグメントは、下側ジョー250の長さに沿って繰り返されている。
【0054】
次に、引き続き図73図77を参照してIビームスライダ232について詳細に説明する。図73図76のIビームスライダ232は、図7図12のIビームスライダ32と実質的に同じである。Iビームスライダ232は、中間部分238によって相互に連結された頂部分234と底部分236を有している。頂部分234は、湾曲した頂部を有する。中間部分238は、図73図76に尖っていない表面として示されている鋭利な前縁を含むブレード242を有している。中間部分238は、後側端部のところに、図6に示されているような延長Iビーム部分30と連結可能な部分を有している。底部分236は、Iビームスライダ232の前側端部をもたらし、この底部分は、凸状の外面を備えた湾曲した底部及び雪かきに似た先導表面244を有する。先導表面244は、垂直線又は頂部のところで合体する2つの収斂する表面を有する。各収斂表面は、先端部から外方に螺旋渦巻き状に延びており、即ち、各収斂表面は、上方に延びるだけでなく、Iビームスライダ232の長手方向軸線に対して螺旋状に延び又は湾曲し或いは回転して螺旋形くさび形デザインを作っている。Iビームの正面立面図形状は、下側湾曲部分を備えた大文字“I”の形状をしている。Iビーム232は、エンドエフェクタ218内で長手方向に摺動し、従って、これをスライダと呼ぶことができる。Iビーム/スライダ232は、先導表面244を経てステープルをエンドエフェクタ218から押し出すよう構成されている。
【0055】
次に図78及び図79を参照すると、図67図77に記載されたエンドエフェクタ218並びに本明細書において見受けられる他の実施形態に用いられるのに適した本発明の2つの枝部付きステープル300が示されている。図78及び図79では、2つの枝部付きステープル300は、その変形していない又は開いた形態で示されている。ステープル300は、ベース304によって相互に連結された2本のレッグ302を有している。ベース304は、内側プッシャ256又は外側プッシャ258と係合する接触面としての役目を果たす。レッグ302は、ベース304から上方に延びていて図79で明確に理解できるように一方の側に湾曲している。ステープルレッグ302の曲率は、これらステープルが入れられる円周方向チャネル253の曲率に一致し、これらステープルレッグは、これらがプッシャ256,258によって押圧されるとこれらステープルレッグがこれら円周方向チャネルに沿って移動して順次Iビームスライダ232に接触する。したがって、ステープルレッグ302の曲率は又、下側ジョー250の周囲に実質的に一致している。各レッグ302の端部は、山形になっていて鋭利な先端部306を形成している。先端部306は、任意の仕方で形成でき、これら先端部は、組織を穴あけすると共に穿通するのに適した任意他の幾何学的形状を有しても良く、ステープル300は、この組織を通って送り出される。
【0056】
次に図80図84を参照すると、図78及び図79のステープル300がステープラの作動完了後における第2の又は変形後の形態で示されている。2つの枝部付きステープル300の配備の結果として、レッグ302は、上側ジョー248のアンビル面に接触して変形する。レッグ302は、互いに向かって偏向し、その結果、先端部306は、ベース304に向かって垂直方向下方に角度が付けられる。レッグ302は、アンビル面に接触し、下側ジョー250の頂面の出口開口部と整列したアンビルポケットがステープルレッグ302の適正な変形の仕方を案内するよう形成されるのが良い。変形後のステープル300は、実質的にB字形の形態を有すると共に図84に示されているようにポテトチップ状の曲率を維持している。レッグ302は、エンドエフェクタ218の長さに沿って実質的に長手方向に偏向する。
【0057】
次に図85図89を参照すると、図67図77に記載されたエンドエフェクタ218並びに本明細書において見受けられる他の実施形態に用いられるのに適した本発明の2つの枝部付きステープル310が示されている。図85図89では、2つの枝部付きステープル310は、その変形していない又は開いた形態で示されている。ステープル310は、ベース314によって相互に連結された2本のレッグ312を有している。ベース314は、内側プッシャ256又は外側プッシャ258と係合する接触面としての役目を果たす。レッグ312は、ベース314から上方に延びていて図89で明確に理解できるように一方の側に湾曲しており、それにより凹状側部及び凸状側部を構成している。ステープルレッグ312の曲率は、これらステープルレッグが入れられる円周方向チャネル253の曲率に一致し、ステープルレッグ312がプッシャ256,258によって押圧されると、これらステープルレッグは、円周方向チャネル253に沿って移動して順次Iビームスライダ232に接触する。したがって、ステープルレッグ312の曲率は又、下側ジョー250の周囲に実質的に一致している。各レッグ312の端部は、鋭利な先端部316を形成している。先端部316は、任意の仕方で形成でき、これら先端部は、組織を穴あけすると共に穿通するのに適した任意他の幾何学的形状を有しても良く、ステープル310は、この組織を通って送り出される。
【0058】
次に図90図93を参照すると、図85図89のステープル310がステープラの作動完了後における第2の又は変形後の形態で示されている。2つの枝部付きステープル310の配備の結果として、レッグ312は、上側ジョー248のアンビル面に接触して変形する。レッグ312は、一方向に向かって偏向し、その結果、あらかじめ変形している曲率をほぼ閉じられた円の形態に近づける。先端部306は、ベース314に向かって垂直方向下方に角度が付けられる。レッグ312は、アンビル面に接触し、下側ジョー250の頂面の出口開口部と整列したアンビルポケットがステープルレッグ312の適正な変形の仕方を案内するよう形成されるのが良い。変形後のステープル310のレッグ312の各々は、実質的に円形の形態を有し、各円形の形態は、ベース314に垂直な平面内に位置する。ステープル実施形態310のレッグ312は、エンドエフェクタ218の長手方向軸線に対して側方に偏向する。
【0059】
次に図67及び図68に戻ってこれらを参照して、エンドエフェクタ218の上側ジョー248について説明する。上側ジョー248は、これが挿入されるカニューレの円筒形ルーメンに合致するよう形状が実質的に半円筒形である。上側ジョー248は、長手方向に延びる中央スロット276を有する。中央スロット276は、Iビームスライダ232の頂部分234及びIビームスライダ232の幅の狭い中間部分238の少なくとも一部分を受け入れるよう同形に形作られると共に構成されており、その結果、Iビームスライダ232は、中央スロット276内で且つこれに沿って上側ジョー248に対して長手方向に運動することができるようになっている。中央スロット276には勾配が付けられ、この中央スロットは、Iビームスライダ232の面取り前側端部に対してカム作用するよう構成された開いた近位端部を有する。上側ジョー248は、下側ジョー250に対して開いた向きにばね押しされており、Iビームスライダ232の面取り前側端部が中央スロット276に入り、特に、頂部分234が中央スロット276の幅の広い上側端部に入ると、上側ジョー248と下側ジョー250は、閉じざるを得なくなる。Iビームスライダ232を中央スロット276に前後に出し入れし又は中央スロット276の近位開口部に前後に動かして当てることにより、エンドエフェクタ218が開閉し、それによりユーザは、組織を掴んだり放したりすることができ、更にステープラ10を再位置決めすることができる。エンドエフェクタ218が閉じ形態にある状態で、Iビームスライダ232は、中央スロット276内で更に長手方向に並進することができる。ステープル254の突き出しに続き、Iビームスライダ232は、ハンドル組立体12を介して近位側に引っ込められ、Iビームスライダ232が中央スロット276から出ると、ばね押し状態の上側ジョー248は、動いて開かれた向きになる。ステープル254の突き出し及びIビームスライダ232の引っ込みに続き、中央スロット276内でのIビームスライダ232の前方並進の繰り返しは、既に発射されたカートリッジの不用意な使用を避けるためにロックアウト機構体によって阻止される。
【0060】
また図67及び図68を参照すると、上側ジョー248は、閉じ位置にあるときに下側ジョー250に向き且つこの下側ジョーから間隔を置いて位置する内側アンビル面274又はプレートを更に有する。アンビル面274は、ステープル254のレッグを受け入れてステープル254が押圧されて組織を穿通してアンビル面274に当てられると、ステープルレッグを案内し、偏向させ、傾斜させ、曲げ、かしめ又は打ち曲げるよう構成されている。組織を固定するためのステープル254の成形を容易にするため、図67及び図68に示されているような複数のステープル成形ポケットがアンビル面274に設けられている。典型的なアンビルのこれら表面成形部は、ステープルが配備されるときにステープルの変形を助けて適正なステープルの閉じを達成する。ステープル成形ポケットは、下側ジョー250のチャネル253の出口開口部と位置合わせされる。ステープル成形ポケットは、一般に、2つの隣り合うステープルレッグ成形カップを有し、これらステープルレッグ成形カップは、ステープルレッグ成形カップの各々の周囲に沿ってぐるりと形成された湾曲し又は勾配がつけられたチャネリング表面を有する。2つの隣り合うステープルレッグ成形カップは、全体として角が角張ったU字形非変形ステープルから一貫したB字形ステープルの成形を容易にするドッグボーン形状を作る。図85図93に示されたステープルの形態の場合と同様ステープルのベースに対してステープルのレッグを側方に押圧するために、アンビル面又はステープルポケットをそれに応じて形作る。別個のステープル成形ポケットが下側ジョー250のカートリッジチャネル253と対向したステープル成形場所に設けられる。
【0061】
上述したように、従来型外科用ステープラで採用されているステープルのレッグ長さは、一般に、図94のステープルレッグの長さを表す線分400によって描かれた下側ジョー404の上面402に垂直な距離によって制限される。線分400の一端401は、下側ジョー404の上面402の近位側に位置し、線分400の他端403は、下側ジョー404の下側周囲の近位側に位置する。下側ジョー404は、約0.5インチ(12.7mm)の直径を有する部分円によって描かれている。下側ジョー404の上面402から下側ジョー404の直径のところの円404上の最も遠位側の点までの距離は、約0.38インチ(9.652mm)である。したがって、図94に示されているように、この線分の長さその他、ステープルレッグ400の長さは、従来型の直線状ステープラ設計において約0.01インチ(0.254mm)のレッグワイヤ直径を有するステープルに関して約0.34インチ(8.636mm)である。図94の直線状ステープラとは対照的に、本発明の円周方向ステープラ下側ジョー414の略図が図95に示されており、この図では、ステープルレッグの長さは、下側ジョー414の内側の直線ではなく曲線400によって定められる。ステープルレッグ410の一端411は、下側ジョー414の上面412の近くに位置し、他端413は、下側ジョー414の下側周囲の近くに位置する。端413は、図94の端403と同じ存在場所にある。図95のステープルレッグ410は、湾曲し、ステープル410が本発明の円周方向ステープラの湾曲したチャネル内に位置した状態が示されている。下側ジョー直径(約0.5インチ(12.7mm))の場合に寸法が同一であると仮定すると共に上面412から円414上の直径方向最も外側の点までの距離が約0.38インチ(9.652mm)であるという同一のものであると仮定すると、ステープルレッグ410は、長さが約0.34インチ(8.636mm)であるに過ぎないステープルレッグ400と比較して長さが約0.41インチ(10.414mm)である。したがって、ステープルレッグ長さは、本発明では約20%長い。それ故、本発明の利点は、実証可能にステープル長さが長いということであり、それにより同一直径のステープラで厚い組織セグメントをステープル留めすると共に保持することができる能力が提供される。
【0062】
次に図96を参照すると、本発明の円周方向設計のステープルの更に別の略図が示されている。図96は、ステープラ下側ジョー424の略図内の曲線としてステープルレッグ長さ420を示している。ステープルレッグ420は、図94及び図95のステープル長さよりも著しく長い約0.97インチ(24.638mm)の全ステープルレッグ長さについて下側ジョー424の上面422の近くに位置する一端421及びこれ又下側ジョー424の上面422の近くに位置する第2の端423を有している。下側ジョー424は、直径が約0.5インチ(12.7mm)であり且つ上面422から円上の直径方向最も外側の点までの距離が図94及び図95に示されているように下側ジョー424に関して同一寸法である約0.38インチ(9.652mm)である部分円として示されている。この形態では、円周方向設計は、図94に示されているように中線の各側における垂直距離とは対照的に又は図95に示されているように周囲の一部に沿うのとは対照的に、下側ジョー424のほぼ周囲全体に沿う発射を利用している。図96のステープルの長さは、図94に示された従来型ステープラよりも約285%長く、図96は、本発明の円周方向発射から成る設計によって提供される長いステープルレッグ長さの面で顕著な利点を示している。
【0063】
従来型腹腔鏡的ステープラは、現行では直径が約12ミリメートルであり、かかる従来型腹腔鏡的ステープラは、挿入のためにサイズの大きなカニューレを必要とし、それ故、患者に大きな切開創を必要としている。回転発射方式の本発明の腹腔鏡的ステープラ10の直径は、約0.200〜0.400インチ(5.08〜10.16mm)であり、かかる腹腔鏡的ステープラは、有利には、患者に小さな切開創を必要とすると同時に大型のステープラと同一厚さの組織をステープル留めすることができる能力を有する小径のカニューレの内側に嵌まる。円周方向ステープラは、ステープラの外径のサイズを少なくとも20%減少させる一方で、従来設計の大径ステープラの場合と同一のレッグ長さを備えたステープルを送り出す。切開創が小さいことにより、その結果として、疼痛が少なく、集結が少なく、患者の回復時間が速く、しかも手術後に見える瘢痕が小さい。本発明のステープラは、腹腔鏡下手技に特に好適であるが、本発明は、それには限定されず、本発明のステープラを開放外科的処置で同様に効果的に用いることができる。
【0064】
本明細書において開示した外科用ステープラの実施形態に対して種々の改造を行うことができることは言うまでもない。したがって、上述の説明は、本発明を限定するものと解されてはならず、好ましい実施形態の単に例示として解されるべきである。当業者であれば、本発明の範囲及び精神に含まれる他の改造例を想到するであろう。
図1A
図1B
図2A
図2B
図3
図4
図5
図6
図7
図8
図9
図10
図11
図12
図13
図14
図15
図16
図17
図18
図19
図20
図21
図22
図23
図24
図25
図26
図27
図28
図29
図30
図31
図32
図33
図34
図35
図36
図37
図38
図39
図40
図41
図42
図43
図44
図45
図46
図47
図48
図49
図50
図51
図52
図53
図54
図55
図56
図57
図58
図59
図60
図61
図62
図63
図64
図65
図66A
図66B
図66C
図66D
図67
図68
図69
図70
図71
図72
図73
図74
図75
図76
図77
図78
図79
図80
図81
図82
図83
図84
図85
図86
図87
図88
図89
図90
図91
図92
図93
図94
図95
図96
【手続補正書】
【提出日】2016年12月14日
【手続補正1】
【補正対象書類名】特許請求の範囲
【補正対象項目名】全文
【補正方法】変更
【補正の内容】
【特許請求の範囲】
【請求項1】
外科用ステープラであって、
ステープラカートリッジ組立体に連結されたハンドル組立体を有し、前記ステープラカートリッジ組立体は、遠位端部のところに位置するエンドエフェクタを含み、前記エンドエフェクタは、下側ジョーに連結された上側ジョーを有し、前記上側ジョーは、前記ハンドル組立体を介して開き形態と閉じ形態との間で前記下側ジョーに対して動くことができ、前記下側ジョーは、上面を有し、前記上側ジョーは、アンビル面を有し、前記閉じ形態では、前記上面と前記アンビル面との間にステープルされるべき組織を受け入れる隙間が形成され、前記下側ジョーは、前記下側ジョーの長さに沿って長手方向に配置されると共にステープルを受け入れるよう構成された複数のステープルチャネルを更に有し、前記ハンドル組立体のところでの前記ステープラの作動により、ステープルが前記チャネル内の非変形形態から前記アンビル面に当てられて変形形態になって前記隙間内に位置する組織をステープル留めし、各ステープルチャネルは、前記上面のところに開口部を有し、前記ジョーが閉じ形態にある状態で前記エンドエフェクタの前記長手方向軸線に垂直に取った断面内に中心点及び中線が定められ、1つ又は2つ以上のステープルチャネルは、前記中心点回りに湾曲している、外科用ステープラ。
【請求項2】
前記上面の前記長手方向長さに沿って整列した複数の開口部によって前記中線の各側に2本以上のステープルラインが定められ、ステープルライン中の各ステープルチャネルは、湾曲していて且つ同一の曲率を有し、ステープルチャネルの曲率半径は、前記中線に向かう距離につれて増大する、請求項1記載の外科用ステープラ。
【請求項3】
前記上面の前記長手方向長さに沿って整列した複数の開口部によって前記中線の各側に2本以上のステープルラインが定められ、1本又は2本以上のステープルチャネルは、湾曲しており、同一のステープルライン中の各ステープルチャネルは、同一の曲率を有する、請求項1記載の外科用ステープラ。
【請求項4】
前記ジョーが閉じ形態にある状態で前記エンドエフェクタの前記長手方向軸線に垂直に取られた断面の周囲内に少なくとも1つの追加の点が定められ、前記少なくとも1つの追加の点は、中心点ではなく、前記上面の長手方向長さに沿って整列した複数の開口部によって前記中線の各側に1本又は2本以上のステープルラインが定められ、前記1本又は2本以上のステープルチャネルは、前記中心点又は前記少なくとも1つの追加の点に向かって湾曲している、請求項1記載の外科用ステープラ。
【請求項5】
前記1本又は2本以上のステープルチャネルは、前記中心点又は前記少なくとも1つの追加の点回りに楕円形である、請求項4記載の外科用ステープラ。
【請求項6】
前記1本又は2本以上のステープルチャネルは、前記中心点又は前記少なくとも1つの追加の点回りに同心である、請求項4記載の外科用ステープラ。
【請求項7】
前記1本又は2本以上のステープルチャネルは、前記中心点又は前記少なくとも1つの追加の点回りに湾曲しており且つ前記上面に垂直である、請求項4記載の外科用ステープラ。
【請求項8】
前記1本又は2本以上のステープルチャネルは、前記中心点又は前記少なくとも1つの追加の点回りに湾曲しており且つ前記上面に対して合成角をなす平面内に位置している、請求項4記載の外科用ステープラ。
【請求項9】
前記少なくとも1つの追加の点は、前記エンドエフェクタの断面で見て前記中線又は他の直径方向線上に位置している、請求項4記載の外科用ステープラ。
【請求項10】
前記上面の前記長手方向長さに沿って整列した複数の開口部によって前記中線の各側に1本又は2本以上のステープルラインが定められ、前記1本又は2本以上のステープルチャネルは、湾曲しており、前記下側ジョーの前記上面は、前記アンビル面に向かって前記中線平面に対して角度が付けられている、請求項1記載の外科用ステープラ。
【請求項11】
前記上面及び前記アンビル面は、前記中線平面に対して角度が付けられており、前記上面と前記アンビル面は、互いに実質的に平行である、請求項10記載の外科用ステープラ。
【請求項12】
前記下側ジョーの前記上面は、前記アンビル面に向かって凹状である、請求項10記載の外科用ステープラ。
【請求項13】
前記下側ジョーの前記上面は、互いに鋭角をなす2つの表面を形成するよう分岐している、請求項10記載の外科用ステープラ。
【請求項14】
前記上面は、前記角度の頂点が実質的に前記中線のところに位置した状態で前記上面が2つの表面を形成するよう分岐している、請求項10記載の外科用ステープラ。
【請求項15】
前記上面は、3つの表面を形成し、2つの表面相互間に鋭角が作られ、前記2つの表面は、前記長手方向軸線に垂直に取った断面で見て弦を定める第3の表面によって相互に連結されている、請求項10記載の外科用ステープラ。
【請求項16】
前記ステープルチャネル内に設けられた複数のステープルを更に有し、各ステープルは、互いに間隔を置いて配置されると共にベースに連結された2本のレッグを有し、各ステープルは、非変形形態及び前記レッグが前記エンドエフェクタの前記長手方向軸線に実質的に平行な方向において前記ベースに対して折り曲げられた変形形態を有する、請求項1記載の外科用ステープラ。
【請求項17】
各ステープルは、2本のレッグを有し、前記ステープラは、作動時、一方のレッグが他方のレッグの前に前記アンビル面に接触するよう構成されている、請求項1記載の外科用ステープラ。
【請求項18】
各ステープルは、4本のステープルレッグを有し、前記ステープラは、作動時、2本のレッグが残りの2本のレッグの前に前記アンビル面に接触するよう構成されている、請求項1記載の外科用ステープラ。
【請求項19】
前記ステープルは、2本又は4本のレッグを有し、前記レッグの全ては、前記変形形態では同一の側に曲げられる、請求項1記載の外科用ステープラ。
【請求項20】
前記ステープルは、2本又は4本のレッグを有し、前記ステープルベースは、前記長手方向軸線に平行に整列し、前記ステープルレッグは、前記変形形態では前記長手方向軸線に実質的に垂直に整列する、請求項1記載の外科用ステープラ。
【請求項21】
前記ステープルは、2本のレッグを有し、前記ステープルは、実質的にB字形変形形態をなす、請求項1記載の外科用ステープラ。
【請求項22】
前記ステープルは、2本のレッグを有し、前記ステープルレッグは、前記変形形態では2つの開いた円を形成する、請求項1記載の外科用ステープラ。
【請求項23】
前記ステープルは、2本のレッグを有し、前記ステープルレッグは、互いに対して平行であり且つ更に前記変形形態では前記ステープルの前記ベースに垂直な2つの平面内に位置する2つの開いた円を形成する、請求項1記載の外科用ステープラ。
【請求項24】
前記ステープルは、ベースに連結された2本のレッグを有し、前記ステープルレッグと前記ベースは、前記隙間内の前記変形形態において前記長手方向軸線に平行に整列する、請求項1記載の外科用ステープラ。
【請求項25】
前記ステープルチャネル内に設けられた複数のステープルを更に有し、各ステープルは、互いに間隔を置いて配置されると共に前記ステープルのベースに連結された2本のレッグを有し、各ステープルは、前記チャネル内の非変形形態及び前記隙間内の変形形態を有し、作動時、前記ステープルレッグは、前記エンドエフェクタの前記長手方向軸線に対して横の方向に偏向されて前記変形形態になる、請求項1記載の外科用ステープラ。
【請求項26】
前記ステープルチャネル内に設けられた複数のステープルを更に有し、各ステープルは、互いに間隔を置いて配置されると共に前記ステープルのベースに連結された2本のレッグを有し、各ステープルは、前記チャネル内の非変形形態及び前記隙間内の変形形態を有し、作動時、前記ステープルレッグは、前記エンドエフェクタの前記長手方向軸線に沿う方向に偏向されて前記変形形態になる、請求項1記載の外科用ステープラ。
【請求項27】
前記ステープルチャネル内に設けられていて作動時に前記ステープルに接触して該ステープルを突き出すよう構成された複数のプッシャを更に有し、各プッシャは、該プッシャが入っている前記ステープルチャネルの曲率に合致する互いに平行な側面を有する、請求項1記載の外科用ステープラ。
【請求項28】
前記1本又は2本以上のステープルチャネルは、前記上面に対して斜めである、請求項1記載の外科用ステープラ。
【請求項29】
前記エンドエフェクタは、湾曲している、請求項1記載の外科用ステープラ。
【請求項30】
前記ステープルチャネル内に設けられた複数のステープルを更に有し、各ステープルは、前記ステープルが入っている前記ステープルチャネルの曲率に合致した湾曲しているレッグを有する、請求項1記載の外科用ステープラ。
【請求項31】
前記ステープルチャネル内に設けられた複数のステープルを更に有し、各ステープルは、互いに間隔を置いて位置した状態でベースに連結された2本のレッグを有し、各ステープルは、非変形形態及び前記レッグが前記エンドエフェクタの前記長手方向軸線に実質的に平行な方向において前記ベースに対して折り曲げられた変形形態を有する、請求項1記載の外科用ステープラ。
【請求項32】
作動時、前記ステープルレッグは、前記チャネル開口部を出て、前記ステープルレッグは、前記上面に垂直に差し向けられるようになっている、請求項1記載の外科用ステープラ。
【請求項33】
前記中心点及び前記中線は、前記ジョーが閉じ形態にある状態で前記エンドエフェクタの前記長手方向軸線に垂直な平面内への断面の投影像内に定められる、請求項1記載の外科用ステープラ。
【国際調査報告】