特表2018-515907(P2018-515907A)IP Force 特許公報掲載プロジェクト 2022.1.31 β版

知財求人 - 知財ポータルサイト「IP Force」

▶ ホリバ・エービーエックス・エスエーエスの特許一覧 ▶ ユニヴェルシテ・ド・リモージュの特許一覧 ▶ サントル・ナショナル・ドゥ・ラ・ルシェルシュ・シャンティフィクの特許一覧

特表2018-515907パルス光源をトリガーするための方法および装置
<>
  • 特表2018515907-パルス光源をトリガーするための方法および装置 図000004
  • 特表2018515907-パルス光源をトリガーするための方法および装置 図000005
  • 特表2018515907-パルス光源をトリガーするための方法および装置 図000006
  • 特表2018515907-パルス光源をトリガーするための方法および装置 図000007
  • 特表2018515907-パルス光源をトリガーするための方法および装置 図000008
  • 特表2018515907-パルス光源をトリガーするための方法および装置 図000009
  • 特表2018515907-パルス光源をトリガーするための方法および装置 図000010
  • 特表2018515907-パルス光源をトリガーするための方法および装置 図000011
< >
(19)【発行国】日本国特許庁(JP)
(12)【公報種別】公表特許公報(A)
(11)【公表番号】特表2018-515907(P2018-515907A)
(43)【公表日】2018年6月14日
(54)【発明の名称】パルス光源をトリガーするための方法および装置
(51)【国際特許分類】
   H01S 3/10 20060101AFI20180518BHJP
   G01N 15/14 20060101ALI20180518BHJP
【FI】
   H01S3/10 Z
   G01N15/14 L
   G01N15/14 D
【審査請求】未請求
【予備審査請求】未請求
【全頁数】28
(21)【出願番号】特願2017-545953(P2017-545953)
(86)(22)【出願日】2016年3月30日
(85)【翻訳文提出日】2017年10月30日
(86)【国際出願番号】EP2016056957
(87)【国際公開番号】WO2016156429
(87)【国際公開日】20161006
(31)【優先権主張番号】1552661
(32)【優先日】2015年3月30日
(33)【優先権主張国】FR
(81)【指定国】 AP(BW,GH,GM,KE,LR,LS,MW,MZ,NA,RW,SD,SL,ST,SZ,TZ,UG,ZM,ZW),EA(AM,AZ,BY,KG,KZ,RU,TJ,TM),EP(AL,AT,BE,BG,CH,CY,CZ,DE,DK,EE,ES,FI,FR,GB,GR,HR,HU,IE,IS,IT,LT,LU,LV,MC,MK,MT,NL,NO,PL,PT,RO,RS,SE,SI,SK,SM,TR),OA(BF,BJ,CF,CG,CI,CM,GA,GN,GQ,GW,KM,ML,MR,NE,SN,TD,TG),AE,AG,AL,AM,AO,AT,AU,AZ,BA,BB,BG,BH,BN,BR,BW,BY,BZ,CA,CH,CL,CN,CO,CR,CU,CZ,DE,DK,DM,DO,DZ,EC,EE,EG,ES,FI,GB,GD,GE,GH,GM,GT,HN,HR,HU,ID,IL,IN,IR,IS,JP,KE,KG,KN,KP,KR,KZ,LA,LC,LK,LR,LS,LU,LY,MA,MD,ME,MG,MK,MN,MW,MX,MY,MZ,NA,NG,NI,NO,NZ,OM,PA,PE,PG,PH,PL,PT,QA,RO,RS,RU,RW,SA,SC,SD,SE,SG,SK,SL,SM,ST,SV,SY,TH,TJ,TM,TN,TR,TT,TZ,UA,UG,US
(71)【出願人】
【識別番号】516257660
【氏名又は名称】ホリバ・エービーエックス・エスエーエス
(71)【出願人】
【識別番号】507132662
【氏名又は名称】ユニヴェルシテ・ド・リモージュ
(71)【出願人】
【識別番号】595040744
【氏名又は名称】サントル・ナショナル・ドゥ・ラ・ルシェルシュ・シャンティフィク
【氏名又は名称原語表記】CENTRE NATIONAL DE LA RECHERCHE SCIENTIFIQUE
(74)【代理人】
【識別番号】100080791
【弁理士】
【氏名又は名称】高島 一
(74)【代理人】
【識別番号】100125070
【弁理士】
【氏名又は名称】土井 京子
(74)【代理人】
【識別番号】100136629
【弁理士】
【氏名又は名称】鎌田 光宜
(74)【代理人】
【識別番号】100121212
【弁理士】
【氏名又は名称】田村 弥栄子
(74)【代理人】
【識別番号】100163658
【弁理士】
【氏名又は名称】小池 順造
(74)【代理人】
【識別番号】100174296
【弁理士】
【氏名又は名称】當麻 博文
(74)【代理人】
【識別番号】100137729
【弁理士】
【氏名又は名称】赤井 厚子
(74)【代理人】
【識別番号】100151301
【弁理士】
【氏名又は名称】戸崎 富哉
(72)【発明者】
【氏名】クーデール、ヴィンセント
(72)【発明者】
【氏名】グランド、ローランド
(72)【発明者】
【氏名】ラブリュイエール、アレクシス
(72)【発明者】
【氏名】ロンゲート、ネリー
(72)【発明者】
【氏名】サブティレル、デニサ
【テーマコード(参考)】
5F172
【Fターム(参考)】
5F172EE13
5F172NQ07
5F172NQ30
5F172ZZ04
(57)【要約】
本発明は、パルス光源をトリガーするための方法に関し、該方法は、それが次の工程の少なくとも一回の反復を含むことを特徴とし、該工程は:制御信号を受信する工程;前記制御信号と少なくとも一つの先行する制御信号との受信の間の分離時間と呼ばれるものを判定する工程;少なくとも前記分離に依存して前記パルス光源の少なくとも一つの制御パラメータを調節する工程;先行する工程の間に調節された前記少なくとも一つの制御パラメータに依存してパルス光源をトリガーするための少なくとも一つの電気信号を生成する工程;および前記少なくとも一つのトリガー電気信号に依存してパルス光源をトリガーする工程である。
【選択図】図3
【特許請求の範囲】
【請求項1】
パルス光源をトリガーするための方法であって、次の工程の少なくとも一回の反復を含むことを特徴とし、該工程は:
− 制御信号を受信する工程;
− 前記制御信号と少なくとも一つの先行する制御信号とを受信する間の、インターバルと呼ばれる期間を判定する工程;
− 少なくとも前記インターバルに基づいて前記パルス光源の少なくとも一つの制御パラメータを調節する工程;
− 先行する工程の間に調節された前記少なくとも一つの制御パラメータに基づいて前記パルス光源をトリガーするための少なくとも一つの電気信号を生成する工程;
− 前記少なくとも一つの電気トリガー信号に基づいて前記パルス光源をトリガーする工程、
である前記方法。
【請求項2】
前記パルス光源の少なくとも一つの制御パラメータを調節する前記工程が、次の工程の少なくとも一回の反復を含むことを特徴とし、該工程は:
− 前記インターバルに基づいて前記インターバルに関連する前記光源のトリガーにおける遅延の値を判定する工程;
− 前記遅延値および前記所望の時間に基づいて前記光源のトリガーの前の休止期間を判定する工程、
である、先行する請求項に記載の方法。
【請求項3】
前記トリガー遅延値が、前記インターバルに基づく所定の値であることを特徴とする、先行する請求項に記載に方法。
【請求項4】
前記トリガー遅延値をデータベースから読み取る工程を追加的に有することを特徴とする、請求項2および3のうちのいずれか一項に記載の方法。
【請求項5】
前記パルス光源の少なくとも一つの制御パラメータを調節する前記工程が、前記インターバルに基づいて前記パルス光源のバイアス電圧を判定する工程を追加的に有することを特徴とする、先行する請求項のうちのいずれか一項に記載の方法。
【請求項6】
前記バイアス電圧が、前記インターバルに基づく所定の値であることを特徴とする、先行する請求項に記載の方法。
【請求項7】
前記バイアス電圧の値が、データベースから読み取られることを特徴とする、請求項5および6のうちのいずれか一項に記載の方法。
【請求項8】
フローサイトメーターの光源をトリガーするための方法であって、
該フローサイトメーターは:
− 少なくとも一つの電気的特性を測定することが可能な第1の検査モジュールを有し;
− 前記パルス光源と相互に作用し、前記パルス光源を用いて少なくとも一つの光学的特性を測定する第2の検査モジュールを有し;
前記方法は、次の工程を実行することを特徴とし、該工程は:
− 前記第1の検査モジュールにより少なくとも一つの電気量を測定する工程;
− 前記第1の検査モジュールにより測定された値が所定の閾値より高いか、またはそれに等しい場合、前記第2の検査モジュールのパルス光源が、先行する請求項のうちのいずれか一項に記載の方法に従いトリガーされる工程、
である前記方法。
【請求項9】
前記パルス光源の前記トリガーが、特に検知信号の受信の時間と流れ期間と呼ばれる期間に基づいて制御されることを特徴とし、前記期間は:
− 前記第1の検査モジュールと前記第2の検査モジュールの間の距離;および
− 前記第1の検査モジュールと前記第2のモジュールの間の流量
に基づいて判定される、先行する請求項に記載の方法。
【請求項10】
パルス光源をトリガーするための電子装置(100)であって、請求項1−7のいずれか一項に記載のすべての工程を実行するように配置された手段を有することを特徴とする、前記パルス光源をトリガーするための電子装置(100)。
【請求項11】
電子制御されたパルス光源であって:
− 請求項1−7のいずれか一項に記載のすべての工程を実行するように配置された手段;または
− 請求項10に記載の装置
を有する、前記電子制御されたパルス光源。
【請求項12】
超連続スペクトルレーザー光源を有すること、および、とりわけそれによってなる、先行する請求項に記載の光源。
【請求項13】
フローサイトメーターであって、当該フローサイトメーターは:
− 流路(321)を有し、該流路(321)は、懸濁粒子(329)を含む流体が流れることを可能にするのに適しており;
− 第1の検査モジュール(320)を有し、該第1の検査モジュール(320)は、前記流路(321)の第1の領域(325)に配置され、かつ、前記第1の領域(325)を通って流れる前記流体に懸濁された少なくとも一つの粒子の少なくとも一つの物理的特性を測定することが可能であり;
− 第2の検査モジュール(324)を有し、該第2の検査モジュール(324)は、第2の領域(326)に配置され、かつ、前記第2の領域(326)を通って流れる前記流体に懸濁された少なくとも一つの粒子の少なくとも一つの光学的特性を測定することが可能であり;かつ
− パルス光源を有し、該パルス光源は、前記少なくとも一つの光学的特性を測定する目的で前記第2の領域を照らすためのものであり、
当該フローサイトメーターは、前記パルス光源をトリガーするために:
− 請求項1−7のいずれか一項に記載の方法のすべての工程を実行するように配置された手段;または
− 請求項10に記載の装置
を追加的に有することを特徴とする、前記フローサイトメーター。
【請求項14】
フローサイトメーターであって、当該フローサイトメーターは:
− 流路(321)を有し、該流路(321)は、懸濁粒子(329)を含む流体が流れることを可能にするのに適しており;
− 第1の検査モジュール(320)を有し、該第1の検査モジュール(320)は、前記流路(321)の第1の領域(325)に配置され、かつ、前記第1の領域(325)を通って流れる前記流体に懸濁された少なくとも一つの粒子の少なくとも一つの物理的特性を測定することが可能であり;
− 第2の検査モジュール(324)を有し、該第2の検査モジュール(324)は、第2の領域(326)に配置され、かつ、前記第2の領域(326)を通って流れる前記流体に懸濁された少なくとも一つの粒子の少なくとも一つの光学的特性を測定することが可能であり、かつ
当該フローサイトメーターは、前記少なくとも一つの光学的特性を測定する目的で前記第2の領域を照らすための請求項11および12のうちのいずれか一項に記載のパルス光源を追加的に有することを特徴とする、前記フローサイトメーター。
【請求項15】
前記第2の検査モジュール(324)が、前記第2の領域(326)を通って流れる前記流体により拡散したおよび/または吸収されたおよび/または放出された光を少なくとも測定するように配置されることを特徴とする、請求項13および14のうちのいずれか一項に記載のフローサイトメーター。
【発明の詳細な説明】
【技術分野】
【0001】
本発明は、パルス光源をトリガー(トリガリング)するための方法および装置に関し、特にフローサイトメトリーの分野におけるそれらの適用に関する。
【0002】
本発明は、パルス光源をトリガーするための装置の分野に関し、より詳細には、フローサイトメトリーに関連する器具類の分野に関する。
【背景技術】
【0003】
先行技術
受動的なルートおよび/または能動的なルートによりトリガーされるパルスレーザー光源は、送達されるパルスの到達時間について不確実性を示す。反復作動中の光源からの光パルスの周波数における可変性(固定トリガー周波数)と、外的要素によりトリガーされる光源についての命令に対する光放出の時間における可変性(ランダムトリガー周波数)の両方が存在する。
【0004】
能動的にトリガーされるレーザー光源(例えば「HELIOS」コヒーレント光源)は公知であり、該光源は、5nsより小さい命令に対する時間の変化を有するサブナノ秒パルスを送達する。残念ながら、このタイプの光源により生成されるパルスの振幅は、反復の頻度とともに大いに変動し、このことは、周波数変換(連続スペクトルの生成、周波数の2倍化、3倍化)の分野における適用にとって非常に不都合である。フローサイトメトリーの分野では、レーザー振幅における可変性は、分析される要素の光信号特性の振幅に影響し、したがって測定精度を低下させる。
【0005】
受動的にトリガーされるレーザー光源は、そのポンプ波の時間的制御により制御されていてもよい。その駆動は、その後、レーザーパルスが命令の反復の頻度により変動する遅延を有する出力として取得されることを許容する。「パルス生成遅延」(PCD)および時間的ジッターについては、後に語られる。
【0006】
文書US2008/0247425およびFR2947108が特に公知であり、該文書は、受動的にトリガーされるマイクロ−レーザーについて説明し、該マイクロ−レーザーは、10−9秒のパルスにとって大き過ぎる時間遅延の変化を示す。
【0007】
多くの科学的適用では、パルス光源の実装は、前記パルス光源のトリガー周波数により、パルスの生成時間における可変性および/またはパルスの強度における可変性の制御を必要とする;しかしながら、先の文書のいずれも、パルスの生成時間の変化を制御することおよび/または光パルスの振幅の変化を制御することの技術問題に対処していない。
【0008】
本発明の目的は、先の問題の少なくとも大部分に対処し、加えて、他のメリットをもたらすことである。
【0009】
本発明の目標の一つは、トリガー時間の時間的可変性およびパルス光源からの光パルスの振幅における可変性を低下させる方法ならびに電子装置を提供することである。
【0010】
本発明の別の目標は、光パルスの生成をより信頼できるものにすることである。
【0011】
本発明の別の目標は、粒子のダブレット(重複)を測定する確率を最小化するフローサイトメトリー装置を提供することである。
【発明の概要】
【0012】
上記目的のうちの少なくとも一つは、所望の時間にパルス光源をトリガーするための方法によって達成され、該方法は、次の工程の少なくとも一回の反復を含み、該工程は:
− 制御信号を受信する工程;
− 前記制御信号と少なくとも一つの先行する制御信号とを受信する間の、インターバルと呼ばれる期間を判定する工程;
− 少なくとも前記インターバルに基づいて、前記パルス光源の少なくとも一つの制御パラメータを調節する工程;
− 先行する工程の間に調節された前記少なくとも一つの制御パラメータに基づいて、パルス光源をトリガーするための少なくとも一つの電気信号を生成する工程;
− 前記少なくとも一つの電気トリガー信号に基づいて、パルス光源をトリガーする工程
である。
【0013】
用語「パルス光源」は、時間的に不連続である光の源を意味するものと理解される。
【0014】
光源の制御パラメータは、制御のための電気信号に関連するパラメータ(期間、遅延、周波数など)および/またはレーザー光源にバイアスをかけるための電気信号に関連するパラメータ(バイアス電圧)と、放出される光パルスに関連するパラメータ(放出周波数、強度、振幅、休止など)の両方を、非限定的な様に含む。
【0015】
光源をトリガーすることにおける改善は、特に、光パルスの放出の時間的な変化を最小化すること、および/または、前記光パルスの振幅を安定化させることにある。
【0016】
概して、パルス光源の制御パラメータは、光パルスの放出ならびに/または放出自身の質および形状に影響を有するすべての部品に対応する。
【0017】
したがって、本発明による方法は、トリガー可変性と放出自身の特性の両方を低下させることにより、パルス光源をトリガーすることをより正確にすることを可能にする。特に、前記光源からの光パルスの放出に干渉する種々のパラメータを考慮することにより、本発明による方法は、少なくとも一つの電気トリガー信号が生成されることを許容し、該信号は、前記パラメータに基づいて適合されかつ補償される。このように補償された電気トリガー信号は、光パルスが生成されることを許容し、その固有の放出特性(光度、放出時間など)は、外的トリガー信号に対してよりよく制御され、かつ、前記光源の繰り返しのかつランダムな使用とともに変動することが少ない。
【0018】
本発明による方法は、したがって、パルス光源を制御するための電気信号の送信をより信頼できるものとすることを可能にする。なぜなら、それは、前記光源の作動に関連するパラメータに基づいて変調されるからである。より詳細には、パルス光源により放出される光放出の振幅は、したがって、少なくとも一つの先行する発射により調節されてもよい。
【0019】
好ましくは、本発明の主題である方法および装置は、特に、電気制御信号の送信の時間と光パルス放出の強度の両方が前記方法の複数回の先行する使用に基づいて制御されることを許容する。より詳細には、本発明の主題である方法および装置は、前記方法および/または装置の複数回の先行する使用を分離する期間に基づいて、インターバルと呼ばれる期間を判定する。
【0020】
このインターバルは、複数回の先行する使用を考慮する一方で、単に二回の連続する使用を分離する期間の算術平均を計算することにより、および/または、二回の連続する先行する使用を分離する期間に適用される特定の数学法則を介して判定されてもよい。
【0021】
代替的には、本発明の主題である方法および装置は、特に、電気制御信号の送信の時間とパルス光放出の強度の両方が前記方法の直前の使用に基づいて制御されることを許容する。この場合、前記方法により判定されるインターバルと呼ばれる期間は、現在の制御信号の受信および先行する制御信号の受信に基づいて判定される。
【0022】
本発明による方法は、フローサイトメトリーを含む非常に多数の科学的適用および測定機器において用いられてもよい。特に、それは、前記測定機器に実装される光パルスの粒子との同調性を改善することを可能にし、かつ、先行する物理的測定値に基づいてパルス光源を用いて取得される光学的測定値を改善することを可能にする。本発明による方法は、一つの特定の適用分野に限定されることはなく、一つの特定のタイプの機器または測定に限定されることもない。
【0023】
好ましくは、本発明による方法の少なくとも一つの制御パラメータを補償するための工程は、次の工程の少なくとも一回の反復を含んでいてもよく、該工程は:
− 少なくとも一つのインターバルに基づいて、前記インターバルに関連する前記光源のトリガーにおける遅延の値を判定する工程;
− 前記遅延値および前記所望の時間に基づいて、前記光源のトリガー前の休止期間を判定する工程
である。
【0024】
したがって、本発明による方法は、少なくとも二つの連続する制御信号を分離するインターバルに基づいて、別の言い方をすれば、光源の平均トリガー周波数に基づいて、光源をトリガーすることを可能にする。上記で説明した通り、この平均周波数(もしくは、二回の連続する使用の間の平均期間)は、前記光源の直前の使用に基づいて判定されてもよく、または、前記光源の複数回の先行する使用にわたる平均(もしくは、別の数学法則)を判定することにより取得されてもよい。
【0025】
したがって、本発明による方法は、特定のパルス光源について、後の方に固有でありかつ光源のトリガー周波数とともに変化する期間を考慮することを可能にする。
【0026】
さらに、本発明を用いて、前記光源をその先行する使用に基づいてパラメータ化することにより、光パルスの強度をよりよく制御することもまた可能である。
【0027】
したがって、光源のトリガーは、光源に固有の期間の変化とそのトリガー中の光パルスの振幅の変化の両方を考慮しかつ除去するので、より正確でありかつより信頼できる。さらに、本発明による方法は、光源をトリガーすることに結び付けられた時間および振幅における可変性を、前記光源のトリガー周波数(単数)もしくはトリガー周波数(複数)に基づいて低下させ、または相殺さえする。
【0028】
有利なことに、トリガー遅延値は、前記インターバルに基づく所定の値であってもよい。そのような遅延値は、用いられる光源について実行される先行する試験測定中に判定されてもよい。
【0029】
好ましくは、本発明による方法は、先行する段階を含んでいてもよく、該先行する段階では、一つ以上のトリガー遅延値が、光源をトリガーするための一つ以上のインターバルまたは周波数、値もしくは値の範囲について判定されてもよい。
【0030】
所定のトリガー遅延値は、トリガーインターバルおよび/またはトリガー周波数に関して、値または値の範囲に関連するデータベースまたは記憶手段に追加的に記憶されてもよい。
【0031】
代替的には、先行する段階では、トリガー遅延値をインターバルの値またはトリガー周波数の値に結び付ける一つ以上の数学的関係が判定されてもよい。
【0032】
別の有利な特徴によれば、本発明による方法は、トリガーインターバルの値に基づいて前記トリガー遅延の値をデータベースから読み取る工程を含んでいてもよい。データベースは、トリガー遅延と前記光源の一つ以上のインターバルおよび/または一つ以上のトリガー周波数との間の対応関係の早見表を記録することにより較正を介して設定されてもよく、前記インターバルおよび/または前記トリガー周波数は、光源の全使用範囲にわたって潜在的に変化する。
【0033】
本発明の別の変形によれば、パルス光源の少なくとも一つの制御パラメータを調節する工程は、前記インターバルに基づいて前記パルス光源のバイアス電圧を判定する工程を追加的に含んでいてもよい。
【0034】
したがって、本発明による方法は、パルス光源のトリガー周波数に基づいてポンプダイオードのバイアス電圧を調節することを可能にし、したがって、各トリガー作動について前記光源の光度をよりよく制御することを可能にする。トリガー周波数に結び付けられたパルス光源の強度における可変性は、したがって低下する。
【0035】
好ましくは、パルス光源のバイアス電圧の値は、前記インターバルに基づく所定の値であってもよい。
【0036】
有利なことにまた、本発明による方法は、パルス光源のバイアス電圧をデータベースから読み取る工程を追加的に含んでいてもよい。
【0037】
別の側面によれば、本発明は、フローサイトメーターのパルス光源をトリガーするための方法に関し、該フローサイトメーターは:
− 第1の検査モジュールを含み、該第1の検査モジュールは、少なくとも一つの物理的特性(例えば、電気的、磁気的または光学的)を測定することが可能であり;
− 第2の検査モジュールを含み、該第2の検査モジュールは、前記パルス光源と相互に作用し、パルス光源を用いて少なくとも一つの光学的特性を測定し、
前記方法は、次の工程を実行することができ、該工程は:
− 第1の検査モジュールにより少なくとも一つの物理量を測定する工程;および
− 第1の検査モジュールにより測定された値が所定の閾値よりも高いか、またはそれに等しい場合、第2の検査モジュールのパルス光源が、本発明の実施形態のいずれか一つによりトリガーされる工程
である。
【0038】
本発明によるパルス光源をトリガーするための方法のさらに別の有利な特徴によれば、所望のトリガー時間は、検知信号の受信の時間および流れ期間と呼ばれる期間に基づいて判定されてもよく、該期間は、第1の検査モジュールと第2の検査モジュールの間の距離、および/または、前記第1の検査モジュールと前記第2の検査モジュールの間の流量に基づいて判定される。したがって、前記流れに基づいて光源のトリガーを同調させることが可能である。
【0039】
本発明の別の側面によれば、本発明による方法のすべての工程を実行するように配置された手段を含む電子装置が提案される。
【0040】
本発明の別の側面によれば、電子制御された光源が提案され、該電子制御された光源は:
− 本発明による方法のすべての工程を実行するように配置された手段;または
− 本発明による装置
を含む。
【0041】
したがって、本発明によるトリガーされた光源は、特に前記光源をトリガーする先行する作動に基づいて制御信号の時間遅延をリアルタイムで計算することが可能である。先行するトリガー作動の周波数は光放射の生成の時間を乱すので、先行するトリガー作動に基づいて規定される時間遅延の導入は、したがって、光放出の時間における可変性を最小化することを可能にする。後の方は、したがって、よりランダムではなく、かつ、より確定的である。
【0042】
本発明の第1の実施形態によれば、電子制御された光源は、レーザー光源であってもよい。
【0043】
代替的または追加的には、電子制御された光源は、パルス光源であってもよい。
【0044】
好ましくは、光源は、パルス超連続スペクトルレーザー光源であってもよい。
【0045】
本発明のさらに別の側面によれば、本発明は、フローサイトメーターを提案し、該フローサイトメーターは:
− 流路を含み、該流路は、懸濁(浮遊)粒子を含む流体が流れることを可能にするのに適しており;
− 第1の検査モジュールを含み、該第1の検査モジュールは、第1の領域に配置され、かつ、前記第1の領域を通って流れる流体に懸濁された少なくとも一つの粒子の少なくとも一つの物理的特性を測定することが可能であり;
− 第2の検査モジュールを含み、該第2の検査モジュールは、第2の領域に配置され、かつ、前記第2の領域を通って流れる流体に懸濁された少なくとも一つの粒子の少なくとも一つの光学的特性を測定することが可能であり;
− パルス光源を含み、該パルス光源は、前記少なくとも一つの光学的特性を測定する目的で前記第2の領域を照らすためのものであり、
本発明によるフローサイトメーターは、本発明による方法のすべての工程を実行するように配置された手段および/または少なくとも一つの本発明による電子装置を追加的に含むことが可能であり、かつ、パルス光源をトリガーするように構成される。したがって、その使用に基づいて、かつ、トリガー時間に関する高度の時間的正確性とともに、パルス光源のトリガーを制御することが可能である。
【0046】
本発明のさらに別の側面によれば、本発明は、フローサイトメーターを提供し、該フローサイトメーターは:
− 流路を含み、該流路は、懸濁粒子を含む流体が流れることを可能にするのに適しており;
− 第1の検査モジュールを含み、該第1のモジュールは、前記流路の第1の領域に配置され、かつ、前記第1の領域を通って流れる流体に懸濁された少なくとも一つの粒子の少なくとも一つの物理的特性を測定することが可能であり;
− 第2の検査モジュールを含み、該第2の検査モジュールは、第2の領域に配置され、かつ、前記第2の領域を通って流れる流体に懸濁された少なくとも一つの粒子の少なくとも一つの光学的特性を測定することが可能であり;かつ
本発明によるフローサイトメーターは、前記少なくとも一つの光学的特性を測定する目的で前記第2の領域を照らすための本発明によるパルス光源を追加的に含むことが可能である。
【0047】
有利には、本発明によるフローサイトメーターでは、第1の検査モジュールと第2の検査モジュールの間の懸濁粒子の移動の時間に基づいて、光源の休止期間が追加的に規定されていてもよい。この方法では、第2の検査モジュールでの少なくとも一つの光学的測定のトリガーは、前記懸濁粒子の流れとさらに同調する。光学窓(それを通して、光学的測定値が取得される)の寸法を小さくすること、したがって、粒子のダブレットを測定する確率を最小化することが可能である。
【0048】
最後に、本発明の最後の実施形態によれば、第2の検査モジュール(24)は、分析される粒子(前記第2の領域(26)を通って流れる前記流体に懸濁されている)により拡散したおよび/または吸収されたおよび/または放出された光を少なくとも測定するように配置されていてもよい。
【0049】
図面および実施形態の説明
本発明の他の特徴および利点は、添付の概略的な図面を参照して、以下に続く説明および非限定的な例として提供されるいくつかの実施形態でさらに開示されるであろう。
【図面の簡単な説明】
【0050】
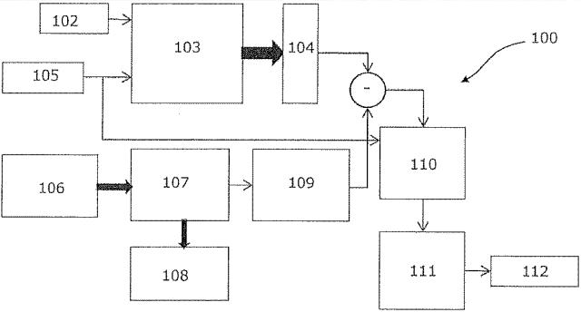
図1図1は、本発明による電子装置の一例のブロックダイアグラムを示す図である。
図2A図2Aは、本発明による、放出時間が制御されたパルス光源をトリガーするための方法の一例を示す図である。
図2B図2Bは、本発明による、光度が制御されたパルス光源をトリガーするための方法の一例を示す図である。
図3図3は、二つの検査モジュールからなり、かつ、本発明による電子装置を組み込んでいる、本発明によるフローサイトメトリーシステムを概略的に示す図である。
図4図4は、フローサイトメーターの超連続スペクトルレーザー光源をトリガーするための方法のタイミングダイアグラムを示す図である。
図5図5は、本発明による光源のトリガーにおける達成レベルを示すグラフである。
図6図6は、本発明の装置による光パルスの強度の調節を示すグラフである。
【発明を実施するための形態】
【0051】
これらの実施形態はまったく限定的ではないので、以下で説明される特徴の抜粋のみを、この抜粋が技術的メリットを与えるか本発明を先行技術から区別するのに十分である場合に、分離して含む(たとえ、この抜粋が他の特徴を含む文章内で分離されていても)本発明の変形を特に考慮することが可能である。この抜粋は、少なくとも一つの特徴、好ましくは構造的詳細を有しない、および/または、構造的詳細の部分のみをこの部分が技術的メリットを与えるか本発明を先行技術から区別するのに十分である場合に有する機能的特徴を含む。
【0052】
特に、説明されるすべての変形およびすべての実施形態は、技術水準上そのような組み合わせを妨げるものがないという条件で、互いに組み合わせられ得る。
【0053】
図中、一つ以上の図面に共通の部品は、同一の参照数字が与えられている。
【0054】
本発明に固有の原理は、特定のトリガー周波数について概して観察される遅延に対応する可変値を考慮する一方で光源をトリガーすることと、放出されるパルスの光度を制御するために先行する使用に基づいて前記光源のバイアスをパラメータ化することの両方である。これを達成するために、本発明は、サイトメトリーにおける使用の場合、所定の時間であってかつPCDおよび/またはジッターおよび/または第1の検査モジュールと第2の検査モジュールの間の移動の時間のような可変パラメータに基づいて計算された時間で光源をトリガーするための方法からなる。さらに、これらのパラメータは、光源と、その使用と、それが内部に一体化された器具類とに同時に依存する。
【0055】
当該方法は、次の工程の少なくとも一回の繰り返しを実行することを提案する:
− 光源をトリガーするために用いられる制御信号を受信すること;
− 前記制御信号と先行する制御信号との受信の間に経過した、トリガーインターバルと呼ばれる期間を判定すること(このインターバルは、パルス光源の場合、光パルスの放出の時間の予測不能な変化の原因となる);
− 前記インターバルに基づいて、かつ、早見表および/もしくは数式のおかげで、ならびに/または、前記光源の先行する較正により、前記光源をトリガーすることにおける遅延の値を判定すること;
− 任意に、前記遅延値および前記所望の時間に基づいて前記光源をトリガーする前に遅延を判定するために、さらなる補正条件−定数または変数−を追加すること;
− このように計算された前記遅延に基づいて制御信号を休止すること;ならびに
− 前記休止工程の終わりに電気トリガー信号を生成すること。
【0056】
図1は、本発明の一実施形態による、所望の時間に光源をトリガーするための電子装置100の一例のブロックダイアグラムを示す図である。
【0057】
電子装置100は、以下では電子プレ(前置補償)装置と呼ばれる。
【0058】
図1に示される装置100は、記憶装置103を含み、該記憶装置103内には、広範な周波数範囲、例えば数ヘルツから数キロヘルツまで、についてのトリガー遅延値t3が記録される。本願の残りでは周波数とも呼ばれる各トリガーインターバル値について、対応するトリガー遅延値t3がある。これらのトリガー遅延値は、考慮中である光源に依存し、かつ、光源の先行する較正の間に電子プレ補償装置100の記憶装置103に記録される。
【0059】
トリガー遅延値t3は、光源をトリガーする前の休止期間を規定するために本発明により判定されかつ用いられる時間的成分の一つである。問題の較正は、例えば、光源を制御するための信号の放出と対応する光パルスの発生の間の時間を測定することにあってもよい。
【0060】
代替的には、前記光源のトリガー周波数に基づいて時間遅延の値を規定するために、数学的モデルが設定されてもよい。適用により、較正を完成させるために、この時間に他の時間的パラメータを追加することが任意に可能である。
【0061】
代替的には、適用される遅延を判定することを可能にするこのデータベースまたはこの数学的モデルは、システム全体の使用の間、リアルタイムで体系的に更新されてもよい。
【0062】
内部クロック102は、すべての作動についてのタイミングを提供する。例えば、非限定的な方法では、クロックの周波数は48MHzであってもよい。概して、クロックの周波数は、光源がトリガーされる原因となる事象の周波数より高いことが好ましい。
【0063】
入力信号105は、光源がトリガーされる原因となる事象に対応する。各トリガー事象について、対応するTTL信号がある。
【0064】
記憶装置103はしたがって各トリガー事象を記録し、かつ、これらの事象の反復の頻度が判定される。早見表および/または光源を較正することにより規定される数学的モデルに基づいて、適用されるトリガー遅延値t3が、記憶装置103から読み取ることにより制御ユニット104により判定される。制御ユニット104は、あらゆるタイプのプロセッサに対応する。
【0065】
任意には、光源とは関係のないまたはそれに固有の他のパラメータを考慮するために、かつ、適用される休止期間を判定するために、オフセットt2がこのトリガー遅延値t3に追加されてもよい。
【0066】
このオフセットの値は、積算手段106を用いて規定されてもよく、該積算手段106は、例えば押しボタンであってもよい。変換ロジック素子107を含む表示手段108は、使用者が構成されたオフセットt2の値を見ることを許容する
【0067】
このようにパラメータ化されたオフセットt2は、次に、変換モジュール109を用いて、t3のフォーマットと互換性のあるフォーマットに変換される。
【0068】
オフセットt2は、次に、合計ユニット110でトリガー遅延値t3に追加され、かつ、電気信号111は、例えばTTL信号またはセグメント(その振幅は、10μsの幅にわたって3.5Vと5Vの間にある)に形作られる。このように形作られ、かつ、本明細書で説明される電気信号の形状は、限定的ではない。
【0069】
したがって、電子プレ補償装置100は、それが制御する光源の放出を、電気信号112を送信することにより刺激することが可能であり、該電気信号112の入力信号に対する時間遅延は、入力信号の発生の頻度に少なくとも依存する。
【0070】
本発明は、トリガーされた光源(そのトリガーは、少なくとも一つの検知可能な外部事象に依存する)を組み込むすべての装置に最も完全に適用される。例えば、非限定的な方法では、本発明による電子プレ補償装置は、トリガーされたまたは独立した光源に組み込まれた電子回路基板からなってもよく;かつ、それは、フローサイトメーター、センサーシステム、レーザー遠隔検知(ライダ)システムなどにおいて好ましく用いられてもよい。
【0071】
図2Aおよび2Bを参照すると、本発明による方法の二つの特定の実施形態が、ここで示されるであろう。
【0072】
図2Aは、パルス光源をトリガーするための方法の一例の描写であり、該パルス光源の送信時間は制御されており、図2Bは、光源をトリガーするための方法を説明しており、該光源の光パルスの強度は制御されている。
【0073】
図2Aおよび図2Bに示される方法200Aおよび200Bは、それぞれ、光源のトリガーに固有の時間的特性を判定するために、光源を較正する任意の第1の工程201を含む。この工程201は、例えば、トリガー周波数に基づいて前記光源の平均応答時間を判定することを含み:各周波数または周波数範囲について、応答時間が、方法200Aの後の工程において休止を判定することを可能にするために測定され、かつ、記憶装置ゾーンに記録される。工程201はまた、トリガー周波数に基づいてパルス光源の光度を較正することにあってもよく;各周波数または周波数の範囲について、特定の光度を取得するために必要とされるバイアス電圧が、方法200Bの後の工程において前記光源または同一の機能を有する補助的な光源により必要とされるバイアス電圧を判定することを可能にするために記憶装置ゾーンに記録される。
【0074】
代替的には、光源の較正201は、応答時間をトリガー周波数に結び付ける回帰関数を判定することにあってもよい。
【0075】
較正工程201が実行されるとすぐ、次の工程が実行される。
【0076】
第1の制御信号が、工程202で受信される。それは、光源が相互作用するあらゆる装置から来てもよい。より詳細には、これは、例えば光源を同調させるために用いられる検査モジュールのような光源の外の装置であってもよい。これはまた、例えば内部クロックのような光源内の装置であってもよい。
【0077】
本発明の主題である方法の次の工程は、その次の制御信号を受信する別の工程202からなる。好ましくは、その次の制御信号は、最初に受信された制御信号と同一の起源を有する。しかしながら、本発明による光源およびトリガー方法は、単一の起源に限定されず、前記光源についての複数のトリガー光源が、本発明の範囲から逸脱することなく想像されてもよい。
【0078】
次に、工程204は、二つの制御信号の間に経過した正確な期間が判定されることを許容する。
【0079】
代替的には、先行する段落で説明されたように、工程204で計算される期間は、複数の先行する制御信号を考慮することにより、かつ、二つの連続する制御信号の受信を分離する期間に基づいて算術平均またはあらゆる他の数学法則を計算することにより取得されてもよい。
【0080】
図2Aにおいて説明される方法では、この期間は、この期間に関連付けられるトリガー遅延の値を判定するための工程205で続いて用いられる。このトリガー遅延値は、本発明の範囲を逸脱することなく、あらゆる方法で判定されてもよい。トリガー遅延の値は、それが較正工程で記憶された記憶装置から読み取られるか、または、較正工程において判定された数学的関係に基づいて判定されるかのいずれかである。次の工程206は、光源に適用されるであろう休止期間を判定することにある。この休止期間は、先行する工程で判定されたトリガー遅延値を考慮するが、光源外または光源内の他の影響を考慮するように、定数、変数または統計パラメータを用いてこの遅延値を変調する目的で他のパラメータを含んでいてもよい。特に、フローサイトメーターにおける使用の文脈では、フローサイトメーターの二つの検査モジュールの間の粒子の移動の時間に対応する時間的成分を工程205において取得された遅延の値に追加することが可能である。
【0081】
工程207は、休止からなり、その期間は、工程206において判定されたものに等しい。
【0082】
最後に、トリガー信号が、光源をトリガーするために、工程208において送信される。
【0083】
当該方法は反復的であり、かつ、新しい制御信号が受信されると工程202から繰り返される。
【0084】
図2Bにおいて説明される方法では、工程204において計算された期間は、パルス光源により放出されるパルスの所望の光度を取得するのに必要とされるバイアス電圧を判定すること305を可能にする。このバイアス電圧は、本発明の範囲を逸脱することなく、あらゆる方法で判定されてもよく:それは、較正工程201においてそれが記憶された記憶装置から読み取られてもよく、または、較正工程201において判定された数学的関係に基づいて判定されてもよい。
【0085】
次の工程308では、光源により放出された光パルスは、したがって、前記光源の先行する使用、特に先行する使用の頻度により影響を受けないであろう強度を有するであろう。
【0086】
図3は、本発明によるサイトフローメトリーシステムの例を概略的に示す図である。
【0087】
図3に示されるフローサイトメトリーシステム300は、流路321、二つの検査モジュール320および324、制御器323ならびに例えば図1の装置100のような電子プレ補償装置を含む。ここで説明される例では、分析される流れは、流路321を通って流れる血液細胞を含む。しかしながら、それは、粒子を含むあらゆるタイプの流れであってもよい。
【0088】
フローサイトメトリーシステム300は、第1の領域325を含み、該第1の領域は、第2の領域326から離れており、かつ、それを通って分析される細胞329はそれらの間に可変距離を有して互いに別々に移動する。この距離322は、フローサイトメトリーシステムにより異なってもよいが、概して数十マイクロメータと数百マイクロメータの間に留まる。
【0089】
分析される細胞329が一定の速度で移動すると仮定すると、流路321を通って分析される細胞329の移動の時間は、特に第1の領域325と第2の領域326の間で一定である。
【0090】
第1の検査モジュール320は、第1の領域325の両方の側に位置し、かつ、前記第1の領域325を通って流れる流体の電気的特性が測定されることを許容する。流路321内に細胞が存在しない場合、第1の領域325を通過する流れは、前記流路の両方の側に配置された二つの電極により測定される負荷インピーダンスを規定する。細胞が第1の領域325を通過すると、それは負荷インピーダンスの増加をもたらす。このインピーダンスの変化は、特に、細胞の体積を判定することと細胞数の算定を実行することの両方を可能にする。
【0091】
第2の検査モジュール324は、流路321のいずれかの側面の第2の領域に配置される。それは、前記第2の領域326を通って流れる流体の光学的特性のうちの少なくとも一つの測定値が取得されることを許容する。それは、例えば光吸収の測定値、光反射の測定値、光透過の測定値および/または蛍光の測定値を取得し、かつ粒子、特に細胞の物理化学的特性を特徴付ける目的で、少なくとも一つのトリガーされた光源328および少なくとも一つの分析ユニット327を含む。少なくとも一つのトリガーされた光源328は、レーザー、超連続スペクトル光源またはこれらの分析と相性のよい他のタイプのトリガーされた光源、例えば特にパルス光源であってもよい。
【0092】
第2の検査モジュール324のトリガーは、制御器323により調節され、かつ、第1の検査モジュール320の前の細胞329の移動を条件とする。これを達成するため、制御器323は第1の検査モジュール320から検知信号を受信し、かつ、第2の検査モジュール324を駆動させるための制御信号を送信する。
【0093】
光源328のプレ補償電子装置100は、制御器323と第1の検査モジュール320の間に挿入される。それは、したがって、PCDもしくはジッターのように可変であってもよい種々のパラメータおよび/または第1の検査モジュールと第2の検査モジュールの間の粒子の移動の時間のような不変数に基づいて判定される休止期間を導入することを可能にする。特に、これらのパラメータは:
− 第1の領域325と第2の領域326の間の距離;
− 流路を通る細胞329の伝播速度;
− 細胞329の発生の変化;
− 光源328のトリガー時間
であってもよい。
【0094】
このように、光源328は、第1の検査モジュール320により先に検知された細胞が第2の領域326を通過するまさにその時にトリガーされる。同様に、光分析機器327は、トリガーされた光源328のトリガーと同調して測定値を取得するように制御される。
【0095】
図1において説明され、かつ本装置に適用される例では、オフセットt2は、第1の領域325と第2の領域326の間の細胞329の移動の時間に対応する。トリガー遅延の値t3自身は、光源328の応答時間に対応する。上述の通り、この時間は、トリガー周波数により、したがって細胞329が第1の検査モジュール320の前に現れる頻度により変化する。
【0096】
図4は、フローサイトメーターの超連続スペクトルレーザー光源をトリガーするための方法のタイミングダイアグラムを示す図である。横列430は、第1の検査モジュール320から生じる信号431aと431bの連続を示す。それらは、例えば、第1の領域325において流路321を通る二つの連続する細胞329の移動に対応するインピーダンス測定値である。例えば、第1の検査モジュール320は、第1の領域325において流路321の電気インピーダンスを継続的に測定する。細胞がない場合、第1の検査モジュールは、種々のパラメータによりノイズであるかも知れない初期インピーダンス値を測定する。細胞329が第1の領域325に入ると、測定されるインピーダンスは先に測定されたノイズレベルを超えてかなり増大する。閾値は、第1の領域325内の細胞329の存在または不在を離散化するように規定されていてもよい。
【0097】
第1の検査モジュールにより取得される測定値は、制御信号として用いられる。
【0098】
横列440は、TTL信号を示し、該TTL信号は、インピーダンス信号431に対応し、かつ、制御器323により形作られる。パターン441aおよび441bの幅は、例えば10μsのオーダーのインピーダンス信号431aおよび431bの最大値の半分の幅に実質的に対応する。二つの信号441aおよび441bは、同一の期間t1により分離される。なぜなら、該同一の期間t1は、パターン431aおよび431bを分離するからである。この分離の期間t1は、第1の検査モジュールの前の二つの連続する細胞329の移動の間の時間に対応する。それは、同様に、細胞の反復の頻度f1=1/t1を規定することを可能にする。
【0099】
横列450は、休止期間t2+t3により遅延された制御器323により出力された信号を示す。したがって、パターン451は、第2の検査モジュール324および光分析機器327のための制御信号であり、インピーダンス信号431aに対応する。
【0100】
横列460は、トリガーされた光源328により出力された光信号である。図4において説明される例では、これは、光パルス461であり、該光パルス461は、制御器323により送信された制御信号451に対する特定の遅延454の後に発生する。
【0101】
この遅延454は、トリガーされた光源328自身に固有の複数のパラメータに依存する。特に、これは、特定のトリガー周波数について一定であるパルス生成遅延(PCD)および純粋な統計パラメータである時間的ジッターである。したがって、第1の検査モジュール320の前のその移動による細胞329の出現の頻度f1を判定することにより、光源328のトリガーに適用されるトリガー遅延の値t3を判定することが可能である。
【0102】
下記の表は、期間t1に基づくトリガー遅延値の相関関係の例について説明し、該期間t1は、第1の検査モジュール320の前の細胞329の二つの連続する移動を分離し、かつ、本発明による方法の休止期間を判定するために用いられる:
【0103】
【表1】
【0104】
表1:第1の検査モジュールの前の細胞の出現の時間と、光源のトリガーに適用される時間補正との対応関係の早見表
【0105】
例えば、0.25msと0.269msの間の時間t1について、光源に適用されるトリガー遅延の値t3は28μsである。しかしながら、t1が0.894msと2msの間であれば、トリガー遅延t3はゼロである。
【0106】
トリガー周波数f1と光源に適用されるトリガー遅延t3との相関関係は、対応するトリガーされた光源を較正することにより取得される。したがって、各トリガー周波数について、または、各トリガー周波数範囲について、複数回のトリガー作動にわたって取得される光信号の発生の平均時間が測定される。
【0107】
表1において説明されるような出現の頻度F1とトリガー遅延t3の間の対応関係を示す早見表は、次に、本発明による電子プレ補償装置に記録される。
【0108】
図5は、前記トリガー作動の頻度の関数として本発明を用いる、4.2kHzでの光源のトリガーにおける達成レベルを示すグラフである。
【0109】
曲線501は、本発明による電子プレ補償装置100のない、先行技術の光源のトリガーにおける可変性(参照数字454に等しい)を示す。
【0110】
曲線502自身は、電子プレ補償装置100が光源328を制御するために用いられた時の光源のトリガーにおける可変性(t2=0の場合、参照数字455に等しい)を示す。測定値は、4.2kHzまで取得される。電子プレ補償装置100なしでは、光パルス461のトリガーにおける可変性455は、周波数とともに増大し、かつ、およそ36.5μsに到達する。しかしながら、本発明による電子プレ補償装置100を用いることにより、トリガーの経時安定性は改善され、かつ、トリガーにおける可変性は、ここではたったの9.9μsである。
【0111】
図6は、前記トリガー作動の頻度の逆関数に対応する生体細胞の各電気信号間の時間の関数として本発明を用いる、25kHzでの光源のトリガーにおける達成レベルについて説明するグラフである。
【0112】
これらの測定値は、したがって、光学的計数窓を通る生体細胞の移動を模擬することにより取得されている。測定値の精度を高め、かつ、超連続スペクトルレーザーを較正するのにかかる時間を減らすために、次のものが自動的に取得される:光源のトリガー周波数、トリガー信号とレーザーパルスの間の時間。
【0113】
これらの測定値は、続いてコンピュータプログラムの力で処理され、かつ、数学法則が、基準点の周りを直線化することにより追加的に判定されている。次に、先行する指数法則から控除されたプレ補償法則の統合が、取得されたレーザーパルスに作用することを可能にする。
【0114】
曲線601は、本発明による電子プレ補償装置100のない、先行技術の光源のトリガーにおける可変性(参照数字454に等しい)を示す。
【0115】
曲線602自身は、電子プレ補償装置100が光源328を制御するために用いられる時の光源のトリガーにおける可変性(t2=0の場合、参照数字455に等しい)を示す。測定値は、25kHzまで取得される。電子プレ補償装置100なしでは、光パルス461のトリガーにおける可変性455は、周波数とともに増大し、かつ、およそ22μsに到達する。しかしながら、本発明による電子プレ補償装置100を用いることにより、トリガーの経時安定性は改善され、かつ、トリガーにおける可変性は、ここではたったの6μsである。
【0116】
この回路基板の作成は、実施例5において説明される回路基板に対して次のような種々の技術的ポイントを改善することを可能にしてきている:
− 試験時間を減らすこと
− 血液分析機器の状況により近付くこと
− 測定値の精度を高めること
− 適用されるレーザープレ補償の精度を高めること。
【0117】
図7は、本発明を用いる光パルスの強度の調節を示すグラフである。
【0118】
より詳細には、図7は、パルス光源に直面して配置される光ダイオードにより測定され、かつ、二つの異なる状況における前記光源の光度を示す振幅(ボルトで表される)の二つのヒストグラムを示している:
− 第1の曲線701は、本発明による振幅補償装置のないパルス光源の複数回の連続する発射についての光度の変化を示している。このように、パルスの大部分は1.6Vの測定光振幅を有することが観察され得る。測定光振幅の分布は、前記パルスの平均測定振幅に対して20%のオーダーの最大値の半分の幅を有して、1.3Vと1.7Vの間に広がる。
− 第2の曲線702は、本発明による振幅補償装置を有するパルス光源の複数回の連続する発射についての光度の変化を示している。この場合、測定光振幅の分布は、前記パルスの平均測定振幅に対して4%のオーダーの最大値の半分の幅を有することが観察され得る。
【0119】
このように、図7は、本発明による装置が、その請求された形状のいずれかにおいて、パルス光源の強度における可変性を低下させることを可能にすることを示す。
【0120】
もちろん、本発明は、説明されたばかりの例に限定されず、本発明の範囲から逸脱することなく、これらの例に多くの変更がなされることが可能である。より詳細には、本発明の種々の特徴、形状、変形および実施形態は、それらが相互に相性が悪いかまたは排他的でなければ、種々の組み合わせで互いに組み合わせられ得る。特に、上述の変形および実施形態はすべて、互いに組み合わせられ得る。
図1
図2A
図2B
図3
図4
図5
図6
図7
【手続補正書】
【提出日】2016年8月9日
【手続補正1】
【補正対象書類名】特許請求の範囲
【補正対象項目名】全文
【補正方法】変更
【補正の内容】
【特許請求の範囲】
【請求項1】
パルス光源をトリガーするための方法であって、次の工程の少なくとも一回の反復を含むことを特徴とし、該工程は:
− 制御信号を受信する工程;
− 前記制御信号と少なくとも一つの先行する制御信号とを受信する間の、インターバルと呼ばれる期間を判定する工程;
− 少なくとも前記インターバルに基づいて前記パルス光源の少なくとも一つの制御パラメータを調節する工程;
− 先行する工程の間に調節された前記少なくとも一つの制御パラメータに基づいて前記パルス光源をトリガーするための少なくとも一つの電気信号を生成する工程;
− 前記少なくとも一つの電気トリガー信号に基づいて前記パルス光源をトリガーする工程、
であり、
前記パルス光源の少なくとも一つの制御パラメータを調節する前記工程が、次の工程の少なくとも一回の反復を含むことを特徴とし、該工程が:
− 前記インターバルに基づいて前記インターバルに関連する前記光源のトリガーにおける遅延の値を判定する工程;および
− 前記遅延値および前記所望の時間に基づいて前記光源のトリガーの前の休止期間を判定する工程、
である前記方法。
【請求項2】
前記トリガー遅延値が、前記インターバルに基づく所定の値であることを特徴とする、先行する請求項に記載に方法。
【請求項3】
前記トリガー遅延値をデータベースから読み取る工程を追加的に有することを特徴とする、先行する請求項のうちのいずれか一項に記載の方法。
【請求項4】
前記パルス光源の少なくとも一つの制御パラメータを調節する前記工程が、前記インターバルに基づいて前記パルス光源のバイアス電圧を判定する工程を追加的に有することを特徴とする、先行する請求項のうちのいずれか一項に記載の方法。
【請求項5】
前記バイアス電圧が、前記インターバルに基づく所定の値であることを特徴とする、先行する請求項に記載の方法。
【請求項6】
前記バイアス電圧の値が、データベースから読み取られることを特徴とする、請求項およびのうちのいずれか一項に記載の方法。
【請求項7】
フローサイトメーターの光源をトリガーするための方法であって、
該フローサイトメーターは:
− 少なくとも一つの電気的特性を測定することが可能な第1の検査モジュールを有し;かつ
− 前記パルス光源と相互に作用し、前記パルス光源を用いて少なくとも一つの光学的特性を測定する第2の検査モジュールを有し;
前記方法は、次の工程を実行することを特徴とし、該工程は:
− 前記第1の検査モジュールにより少なくとも一つの電気量を測定する工程;
− 前記第1の検査モジュールにより測定された値が所定の閾値より高いか、またはそれに等しい場合、前記第2の検査モジュールのパルス光源が、先行する請求項のうちのいずれか一項に記載の方法に従いトリガーされる工程、
である前記方法。
【請求項8】
前記パルス光源の前記トリガーが、特に検知信号の受信の時間と流れ期間と呼ばれる期間に基づいて制御されることを特徴とし、前記期間は:
− 前記第1の検査モジュールと前記第2の検査モジュールの間の距離;および
− 前記第1の検査モジュールと前記第2のモジュールの間の流量
に基づいて判定される、先行する請求項に記載の方法。
【請求項9】
パルス光源をトリガーするための電子装置(100)であって、請求項1−のいずれか一項に記載のすべての工程を実行するように配置された手段を有することを特徴とする、前記パルス光源をトリガーするための電子装置(100)。
【請求項10】
電子制御されたパルス光源であって:
− 請求項1−のいずれか一項に記載のすべての工程を実行するように配置された手段;または
− 請求項に記載の装置
を有する、前記電子制御されたパルス光源。
【請求項11】
超連続スペクトルレーザー光源を有すること、および、とりわけそれによってなる、先行する請求項に記載の光源。
【請求項12】
フローサイトメーターであって、当該フローサイトメーターは:
− 流路(321)を有し、該流路(321)は、懸濁粒子(329)を含む流体が流れることを可能にするのに適しており;
− 第1の検査モジュール(320)を有し、該第1の検査モジュール(320)は、前記流路(321)の第1の領域(325)に配置され、かつ、前記第1の領域(325)を通って流れる前記流体に懸濁された少なくとも一つの粒子の少なくとも一つの物理的特性を測定することが可能であり;
− 第2の検査モジュール(324)を有し、該第2の検査モジュール(324)は、第2の領域(326)に配置され、かつ、前記第2の領域(326)を通って流れる前記流体に懸濁された少なくとも一つの粒子の少なくとも一つの光学的特性を測定することが可能であり;かつ
− パルス光源を有し、該パルス光源は、前記少なくとも一つの光学的特性を測定する目的で前記第2の領域を照らすためのものであり、
当該フローサイトメーターは、前記パルス光源をトリガーするために:
− 請求項1−のいずれか一項に記載の方法のすべての工程を実行するように配置された手段;または
− 請求項に記載の装置
を追加的に有することを特徴とする、前記フローサイトメーター。
【請求項13】
フローサイトメーターであって、当該フローサイトメーターは:
− 流路(321)を有し、該流路(321)は、懸濁粒子(329)を含む流体が流れることを可能にするのに適しており;
− 第1の検査モジュール(320)を有し、該第1の検査モジュール(320)は、前記流路(321)の第1の領域(325)に配置され、かつ、前記第1の領域(325)を通って流れる前記流体に懸濁された少なくとも一つの粒子の少なくとも一つの物理的特性を測定することが可能であり;
− 第2の検査モジュール(324)を有し、該第2の検査モジュール(324)は、第2の領域(326)に配置され、かつ、前記第2の領域(326)を通って流れる前記流体に懸濁された少なくとも一つの粒子の少なくとも一つの光学的特性を測定することが可能であり、かつ
当該フローサイトメーターは、前記少なくとも一つの光学的特性を測定する目的で前記第2の領域を照らすための請求項1および1のうちのいずれか一項に記載のパルス光源を追加的に有することを特徴とする、前記フローサイトメーター。
【請求項14】
前記第2の検査モジュール(324)が、前記第2の領域(326)を通って流れる前記流体により拡散したおよび/または吸収されたおよび/または放出された光を少なくとも測定するように配置されることを特徴とする、請求項1および1のうちのいずれか一項に記載のフローサイトメーター。
【国際調査報告】